TIÊU CHUẨN VIỆT NAM
TCVN 5545 : 1991
VÀNG VÀ HỢP KIM VÀNG – PHƯƠNG PHÁP THỬ TỶ TRỌNG
Gold and alloys – Density method measurement
Lời nói đầu
TCVN 5545 :1991 do Trung tâm hỗ trợ khai thác và gia công khoáng sản quý hiếm (Sudenmim) Công ty hỗ trợ phát triển tổng hợp (Sudecomplex)- Bộ Công nghiệp nặng biên soạn, Tổng cục Tiêu chuẩn Đo lường Chất lượng trình duyệt, Ủy ban Khoa học Nhà nước (nay là Bộ Khoa học và Công nghệ) ban hành.
Tiêu chuẩn này được chuyển đổi năm 2008 từ Tiêu chuẩn Việt Nam cùng số hiệu thành Tiêu chuẩn Quốc gia theo quy định tại khoản 1 Điều 69 của Luật Tiêu chuẩn và Quy chuẩn kỹ thuật và điểm a khoản 1 Điều 6 Nghị định số 127/2007/NĐ-CP ngày 1/8/2007 của Chính phủ quy định chi tiết thi hành một số điều của Luật Tiêu chuẩn và Quy chuẩn kỹ thuật.
VÀNG VÀ HỢP KIM VÀNG – PHƯƠNG PHÁP THỬ TỶ TRỌNG
Gold and alloys – Density method measurement
Tiêu chuẩn này quy định việc xác định hàm lượng vàng thương phẩm (hợp kim vàng bạc) có hàm lượng từ 88 % đến 99,90 %.
Vật thử có dạng cục, thỏi lá hay đồ trang sức ở thể đặc (không bị rỗ hay rỗng bên trong).
1 Bản chất phương pháp
Hàm lượng của vàng trong sản phẩm liên quan trực tiếp đến tỷ trọng của sản phẩm. Vì thế việc xác định hàm lượng vàng bằng phương pháp tỷ trọng chỉ là việc cân sản phẩm ở ngoài không khí và trong nước cất để biết khối lượng và thể tích của nó (theo định luật Acsimet). Từ đó tính ra tỷ trọng của sản phẩm và hàm lượng vàng trong đó.
2 Quy định chung
2.1 Quy cách của vật thử
Khối lượng của vật thử không được vượt quá giới hạn đo được của cân.
Đường kính ngoài của vật thử ( đối với vòng, xuyến…) phải nhỏ hơn đường kính của cốc đựng nước để cân từ 1 cm đến 2 cm.
2.2 Thiết bị (cân, máy vi tính) phải được kiểm định và cấp giấy phép lưu hành.
2.3 Yêu cầu đối với thử nghiệm viên
Đã được cấp giấy chứng nhận là giám định viên.
3 Điều kiện thử
3.1 Các sản phẩm vàng bạc có quy cách phù hợp với 2.1 đều có thể tiến hành.
3.2 Nơi đặt thiết bị thử phải khô ráo, sạch sẽ, không có bụi, không bị va chạm và rung động. Tốt nhất là để phòng có điều hòa nhiệt độ.
4 Thiết bị và thuốc thử
Cân phân tích có độ chính xác từ 10-4 đến 10-5 gam;
Máy vi tính loại phổ biến;
Nguồn nhiệt (đèn xì) có nhiệt độ tới 1100°C;
Cốc nhựa hay cốc thủy tinh để đựng nước cất;
Dây volfram có đường kính bằng 0,2 mm;
Panh – sét inox;
Nước cất một lần;
Dung dịch axit clohydric (HCL) có nồng độ 10 %. Cấm dùng nước cường toan (hỗn hợp axit: 3HCL + HNO3);
Cồn 90°C.
5 Tiến hành thử
5.1 Tháo bỏ những thứ không phải là hợp kim vàng bạc như mặt đá, mặt ngọc, dây cuốn, móc đeo v.v…ra khỏi vật thử (nếu có).
5.2 Rửa kỹ bằng cồn 90°C rồi tẩy sạch dầu mỡ bám dính vào bề mặt vật thử bằng cách đốt nóng nhẹ (khoảng 500°C đến 700°C) rồi nhúng vào dung dịch axit clohydric nồng độ 10 %.
5.3 Rửa lại thật sạch bằng nước cốt, lau khô.
5.4 Dùng cân phân tích cân vật thử trong không khí được khối lượng m1.
5.5 Thả nhẹ nhàng vật thử vào cốc nước, không được để bọt khí bám vào, không chạm vào thành và đáy cốc, ngập giữa khối nước. Cân được khối lượng m2.
5.6 Lấy vật thử ra khỏi cốc nước, dùng giẻ mềm lau khô và lắp lại các vật đã tháo gỡ ra (nếu có) vào như cũ.

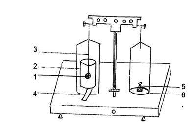
1 - Vật thử (nhẫn)
2 - Cốc đựng nước cất
3 - Dây kéo
4 - Gia đỡ cốc
5 - Quả cân
6 - Đĩa cân
Sơ đồ cân xác định tuổi vàng bằng phương pháp tỷ trọng
6 Tính kết quả
6.1 Tỷ trọng của vật thử d (g/cm3), được tính theo công thứ:
d =
x dn (1)
trong đó
m1 là khối lượng vật thử trong không khí, g;
m2 là khối lượng vật thử trong nước, g;
dn là tỷ trọng của nước cất g/cm3;
6.2 Hàm lượng của vàng X (%) trong vật thử sẽ là;
X =
(1 –
) (2)
d1 là tỷ trọng của vàng, g/cm3;
d2 là tỷ trọng của bạc, g/cm3.
Trong thực tế người ta thường lấy d1 = 19,3, d2 = 10,5 và dn = 1. Như vậy:
X = 219,31818 (1 –
10,5
) (3)
Sai số hàm lượng vàng trong mẫu xác định không được lớn hơn 05 %.
6.3 Có thể đưa số liệu cân vào máy vi tính, với chương trình được lắp sẵn có cả các thông số hiệu chỉnh về nhiệt độ của môi trường để thu được kết quả chính xác hơn, nhanh hơn.
Phụ lục 1
Bảng đối chiếu tỷ trọng và hàm lượng vàng ở nhiệt độ 20°C
|
Thứ tự |
Tỷ trọng vật thử g/cm3 |
Hàm lượng vàng % |
|
1 2 3 4 5 6 7 8 9 10 |
19,2980 19,1396 18,9741 18,8260 18,6738 18,5298 18,3713 18,0882 17,8129 17,5244 |
99,9 99 98 97 96 95 94 92 90 88 |
Phụ lục 2
Tỷ trọng của nước cất ở các nhiệt độ thường gặp
|
Nhiệt độ, 0°C |
Tỷ trọng của nước cất, g/cm3 |
Nhiệt độ, 0°C |
Tỷ trọng của nước cất, g/cm3 |
Nhiệt độ, 0°C |
Tỷ trọng của nước cất, g/cm3 |
|
10 11 12 13 14 15 16 17 18 19 |
0,99972 0,99957 0,99943 0,99928 0,99913 0,99898 0,99883 0,99868 0,99853 0,99838 |
20 21 22 23 24 25 26 27 28 29 |
0,99823 0,99793 0,99763 0,99733 0,99703 0,99673 0,99643 0,99613 0,99583 0,99553 |
30 31 32 33 34 35 36 37 38 39 40 |
0,99523 0,99493 0,99463 0,99433 0,99403 0,99374 0,99344 0,99314 0,99284 0,99254 0,99224 |
Phụ lục 3
Hệ
số K =
ở các nhiệt độ khác nhau của môi trường
|
Nhiệt độ, °C |
K |
Nhiệt độ, °C |
K |
|
10 11 12 13 14 15 16 17 18 19 20 21 22 23 24 |
219,64554 219,61259 219,58183 219,54887 219,51591 219,48296 219,45000 219,41705 219,38409 219,35113 219,31818 219,25227 219,18635 219,12044 219,05453 |
25 26 27 28 29 30 31 32 33 34 35 36 37 38 39 40 |
218,98862 218,92271 218,85679 218,79088 218,72497 218,65906 218,59315 218,52723 218,46132 218,39541 218,33169 218,26578 218,19987 218,13396 218,06805 218,00213 |