TIÊU CHUẨN VIỆT NAM
TCVN 6192 : 2000
ISO 10396 : 1993
SỰ
PHÁT THẢI NGUỒN TĨNH - LẤY MẪU ĐỂ ĐO TỰ ĐỘNG CÁC NỒNG ĐỘ KHÍ
Stationary source emissions - Sampling for the automated determination of
gas concentrations
Lời nói đầu
TCVN 6192 : 2000 thay thế cho tiêu chuẩn TCVN 6192 : 1996.
TCVN 6192 : 2000 hoàn toàn tương đương với ISO10396 : 1993.
TCVN 6192 : 2000 do Ban Kỹ thuật Tiêu chuẩn TCVN/TC 146 Chất lượng không khí biên soạn, Tổng cục Tiêu chuẩn Đo lường Chất lượng đề nghị, Bộ Khoa học, Công nghệ và Môi trường ban hành.
SỰ PHÁT THẢI CỦA NGUỒN TĨNH Ư LẤY MẪU ĐỂ XÁC ĐỊNH TỰ ĐỘNG NỒNG ĐỘ KHÍ
Stationary source emissions – Sampling for the automated determination of gas concentrations
1. Phạm vi áp dụng
1.1 Qui định chung
Tiêu chuẩn này qui định qui trình và thiết bị, trong những giới hạn nhất định, sẽ cho phép lấy mẫu đại diện để xác định tự động nồng độ khí của các luồng khí thải. áp dụng phương pháp này chỉ giới hạn để xác định oxi (O2), cacbon dioxit (CO2), cacbon monoxit (CO), lưu huỳnh dioxit (SO2), nitơ monoxit (NO) và nitơ dioxit (NO2). Mặc dù chúng chỉ được đề cập ngắn gọn trong tiêu chuẩn này, nhưng yêu cầu cần phải có các phép đo vận tốc chi tiết để xác định lưu lượng khí theo khối lượng.
1.2 Sự hạn chế
Trong thực tế có một số quá trình và trạng thái đốt có thể hạn chế khả năng áp dụng tiêu chuẩn này. ở những nơi tồn tại các điều kiện như vậy, cần thận trọng và xử lý kỹ thuật thành thạo, đặc biệt khi gặp các trường hợp sau:
a) các thành phần có tính ăn mòn và phản ứng mạnh;
b) các dòng khí có chân không cao, áp suất cao hoặc nhiệt độ cao;
c) các khí ống khói ẩm;
d) những sự biến động bất thường về vận tốc, nhiệt độ, hoặc nồng độ do những biến đổi không kiểm soát được trong quá trình;
e) sự phân tầng khí do không hoà trộn của các dòng khí;
f) các phép đo đã tiến hành có sử dụng các thiết bị kiểm soát môi trường;
g) nồng độ khí ở mức thấp.
2. Tiêu chuẩn trích dẫn
TCVN 5975:1995 (ISO 7934:1989) Sự phát thải của nguồn tĩnh ư Xác định nồng độ khối lượng lưu huỳnh dioxit ư Phương pháp hidro peroxit/bari perclorat/thorin.
TCVN 5977:1995 (ISO 9096:1992) Sự phát thải của nguồn tĩnh ư Xác định nồng độ khối lượng và lưu lượng bụi trong các ống dẫn khí ư Phương pháp khối lượng thủ công.
3. Định nghĩa
Trong tiêu chuẩn này, các định nghĩa sau đây được áp dụng:
3.1 chất ngưng tụ được: Hơi ẩm bị đọng lại trong thiết bị ổn định mẫu.
3.2 tính ăn mòn: Xu hướng của một luồng khí bị bao quanh tác động vào các bộ phận của thiết bị lấy mẫu hoặc các bề mặt tiếp xúc khác trong điều kiện lấy mẫu.
3.3 nồng độ khí: Khối lượng của một chất khí trên một đơn vị thể tích khí khô trong luồng khí bị bao quanh, trừ khi có qui định khác.
Nếu biểu thị theo thể tích, thì các nồng độ này cần được tiêu chuẩn hoá bằng sử dụng một mức dư của khí so sánh (ví dụ : 3% oxi).
3.4 nguồn dễ phản ứng: Một luồng khí bị bao quanh có chứa các thành phần không bền vững hoặc các thiết bị dùng để loại bỏ các chất nhiễm bẩn môi trường mà chúng có thể phản ứng để tạo thành các thành phần hoá học khác khi các điều kiện thay đổi. Các thành phần có thể được tạo thành hoặc trong luồng khí bị bao quanh hoặc trong thiết bị lấy mẫu và có thể gây sai số cố hữu trong phân tích mẫu.
3.5 khí ống khói ẩm: Một luồng khí tại hoặc dưới điểm bão hoà và có thể chứa các giọt nước nhỏ.
3.6 điều kiện chuẩn: 101,3 kPa (áp suất) và 273 K (nhiệt độ).
3.7 bảo toàn mẫu: Loại trừ sự rò rỉ hoặc các phản ứng vật lý và hoá học trong mẫu khí nằm giữa họng vào của đầu lấy mẫu và thiết bị đo.
4 Nguyên tắc
Lấy mẫu đại diện của các khí trong một ống dẫn bao gồm cả phương pháp hút và phương pháp trực tiếp (không hút). Khi lấy mẫu bằng phương pháp hút, các khí này phải được ổn định để loại bỏ sol khí, bụi và các chất cản trở khác trước khi chuyển vào thiết bị. Khi lấy mẫu trực tiếp, các phép đo được tiến hành tại chỗ, bởi vậy không phải ổn định mẫu ngoại trừ yêu cầu phải lọc mẫu.
4.1 Lấy mẫu bằng cách hút
Lấy mẫu bằng cách hút, bao gồm việc hút mẫu, loại các chất cản trở và duy trì nồng độ khí trong toàn hệ thống lấy mẫu để phân tích tiếp theo bằng thiết bị thích hợp (xem hình 1).
4.2 Lấy mẫu trực tiếp
Lấy mẫu trực tiếp không đòi hỏi phải lấy riêng mẫu ra, và việc lấy mẫu được giới hạn ngay tại luồng khí trong đường ống (xem hình 2 và hình 3).
5 Tính đại diện: Các yếu tố cần được xem xét
5.1 Bản chất của nguồn
5.1.1 Tính đại diện của việc xác định nồng độ khí trong luồng khí bị bao quanh phụ thuộc vào một số yếu tố:
a) sự không đồng nhất của quá trình tạo luồng, như sự biến đổi nồng độ, nhiệt độ, hoặc tốc độ qua mặt cắt ống dẫn gây nên bởi độ ẩm hoặc sự phân tầng khí;
b) sự rò khí hoặc thâm nhập của không khí và phản ứng liên tục của khí;
c) sai số ngẫu nhiên do bản chất giới hạn của mẫu và qui trình lấy mẫu đã chọn để thu được mẫu đại diện.
5.1.2 Tính đại diện có thể khó đạt được vì các lý do sau:
- bản chất của nguồn (thí dụ: chu kỳ, liên tục hay gián đoạn);
- mức nồng độ của khí cần được xác định;
- kích cỡ của nguồn;
- cấu hình của hệ thống đường ống dẫn nơi mà các mẫu được hút ra.
ở những nơi có khó khăn do bản chất của nguồn như đã trình bầy ở 5.1.1, thì phải mô tả sơ bộ nồng độ cho từng điều kiện vận hành để xác định vị trí lấy mẫu tốt nhất.
Một số nguồn có thể biến đổi nhiều trong quá trình (nghĩa là biến đổi theo chu kỳ) và do đó, phép lấy mẫu theo thời gian đều có thể không đủ đại diện cho nồng độ trung bình nếu không lấy mẫu cho toàn bộ chu kỳ biến đổi.
5.1.3 Trước khi tiến hành bất kỳ phép đo nào, cũng cần phải am hiểu các đặc tính vận hành của qui trình mà từ qui trình đó, sự phát thải được lấy mẫu và xác định. Các đặc tính vận hành này phải gồm có những điểm sau, nhưng không nhất thiết chỉ giới hạn ở những điểm này :
a) kiểu vận hành của qui trình ( chu kỳ, gián đoạn, hoặc liên tục);
b) tốc độ nạp và thành phần nguyên liệu đưa vào qui trình;
c) tỷ lệ và thành phần nhiên liệu;
d) nhiệt độ và áp suất của khí khi vận hành bình thường;
e) hiệu suất vận hành và hiệu suất loại hơi nước của thiết bị kiểm soát ô nhiễm;
f) cấu hình đường ống nơi được lấy mẫu khí liên quan tới sự phân tầng của khí;
g) lưu lượng khí theo thể tích;
h) thành phần khí dự kiến và các chất có thể gây cản trở.
Chú thích 1 - Phải hết sức cẩn thận nếu ống được lấy mẫu đang trong điều kiện áp suất, chân không hoặc nhiệt độ cao.
5.2 Vị trí
5.2.1 Các thông số kiểm tra
Phải tiến hành kiểm tra các đặc trưng vật lý của nơi thử để đánh giá các yếu tố như:
a) sự an toàn của các nhân viên;
b) vị trí nhiễu loạn dòng ;
c) khả năng tiếp cận nơi lấy mẫu;
d) không gian để đặt thiết bị và dụng cụ lấy mẫu và có thể yêu cầu bắc giàn giáo được;
e) sẵn có nguồn điện ổn định / khí nén, nước, hơi ....;
f) vị trí lỗ lấy mẫu.
Các chú ý về an toàn
Thiết bị điện được dùng phải phù hợp với yêu cầu an toàn về tải. Những nơi không khí xung quanh bị nghi ngờ có thể nổ hoặc nguy hại thì cần chú ý đặc biệt và có biện pháp phòng ngừa để đảm bảo an toàn cho vận hành thiết bị.
5.2.2 Vị trí nơi lấy mẫu
Cần thiết phải đảm bảo rằng các nồng độ khí đo được là đại diện cho các điều kiện trung bình bên trong đường ống hoặc ống khói. Các yêu cầu đối việc lấy mẫu bằng cách hút có thể không nghiêm ngặt như những yêu cầu đối với lấy mẫu bụi. Điều quan trọng là vị trí lấy mẫu phải loại trừ được mọi cản trở sẽ gây ra nhiễu loạn nghiêm trọng dòng khí trong đường ống hoặc ống khói. Chất ô nhiễm có thể biến động theo thiết diện đường ống. Nồng độ ở các điểm khác nhau trong mặt cắt cần được kiểm tra trước, nhằm đánh giá tính đồng nhất của dòng khí để phát hiện sự thâm nhập không khí hoặc sự phân tầng của khí... Nếu phân tích sơ bộ mẫu khí theo thiết diện đường ống ở nơi phép đo được tiến hành, cho thấy có sự biến động nồng độ quá ± 15% và nếu không có vị trí lấy mẫu nào khác chấp nhận được, thì nên lấy mẫu tại nhiều điểm.
Việc này có thể đạt được hoặc bằng cách di chuyển đầu lấy mẫu từ điểm lấy mẫu này sang điểm lấy mẫu khác hoặc dùng một đầu lấy mẫu với nhiều cửa tiếp cận (xem TCVN 5977:1995). Thông thường nồng độ phân bố các chất ô nhiễm thể khí theo thiết diên đường ống hoặc ống khói là đồng đều bởi có sự khuyếch tán và chuyển động hỗn loạn. Trong trường hơp này, chỉ cần lấy mẫu tại một điểm bên trong ống khói hoặc ống dẫn để xác định nồng độ trung bình. Mẫu khí phải được hút ở gần tâm của nơi lấy mẫu trong ống khói tại vị trí 1/3 của một nửa đường trong ống khói hoặc đường ống. Khi dùng hệ thống lấy mẫu trực tiếp thì nồng độ thu được càng đại diện càng tốt nhưng phải chú ý cẩn thận để đảm bảo vị trí đặt thiết bị là đại diện.
5.3 Sơ lược về nồng độ, tốc độ và nhiệt độ khí
Trước mỗi khi lấy mẫu, cần xác định những biến động của nồng độ khí theo không gian hoặc thời gian và tiến hành khảo sát sơ bộ nồng độ, tốc độ và nhiệt độ khí. Đo nồng độ, tốc độ và nhiệt độ khí tại các điểm lấy mẫu vài lần để thu được sơ lược về nồng độ khí theo thời gian và không gian. Tiến hành khảo sát này khi nhà máy đang vận hành trong điều kiện sẽ giống như lúc thử, để xác định xem vị trí lấy mẫu có thích hợp không và các điều kiện trong đường ống có thoả mãn không (xem 5.1.2).
5.4 Các yếu tố khác
Nguyên tắc vận hành và các bộ phận của hệ thống thiết bị có thể ảnh hưởng đáng kể tới mức độ đại diện của một mẫu thu được cho khí đã đo trong nguồn. Thí dụ: hệ thống lấy mẫu bằng cách hút đòi hỏi phải chú ý nhiều hơn đến vị trí điểm lấy mẫu so với một hệ thống lấy mẫu trực tiếp trong ống khói. Hơn nữa, ống lấy mẫu không được làm bằng vật liệu có tính chất hấp phụ khí mà tính chất này có thể ảnh hưởng đến thời gian trả lời kết quả của bộ phận đo (xem bảng A.1).
Phải chú ý bảo toàn nguyên vẹn các mẫu đã lấy bằng cách lựa chọn tốt thiết bị và độ đốt nóng, làm khô thích hợp và kiểm tra sự rò rỉ... Thêm vào đó, các yếu tố khác như: sự ăn mòn, tác dụng hiệp đồng, sự phản ứng với các thành phần, sự phân huỷ và hấp phụ có thể ảnh hưởng tới sự nguyên vẹn của mẫu (xem điều 6).
6. Thiết bị
Vật liệu chế tạo được kiến nghị trong phụ lục A
6.1 Các bộ phận của thiết bị lấy mẫu bằng cách hút
6.1.1 Cái lọc sơ cấp
Cái lọc phải được làm bằng hợp kim thích hợp (như hợp kim đúc bằng thép không gỉ đặc biệt), thạch anh bosilicat, gốm sứ hoặc các vật liệu thích hợp khác. Nên dùng cái lọc giữ được bụi hạt lớn hơn 10 àm. Cũng có thể cần thêm cái lọc thứ cấp (xem 6.1.4). Phương tiện lọc có thể đặt bên ngoài đường ống hoặc ở đầu mút của đầu lấy mẫu (6.1.2). Nếu đặt ở đầu mút của đầu lấy mẫu, thì có thể lắp thêm một tấm hắt để ngăn bụi tích tụ trên mép trước của cái lọc. Việc làm này sẽ đề phòng làm tắc cái lọc. Cần cẩn thận để tránh sự nhiễm bẩn cái lọc do bụi tích tụ lại có thể phản ứng với các khí làm sai kết quả .
6.1.2 Đầu lấy mẫu
6.1.2.1 Đầu lấy mẫu bằng kim loại
Đầu lấy mẫu bằng kim loại được sử dụng rộng rãi để lấy mẫu khí. Sự lựa chọn kim loại chủ yếu dựa vào các tính chất lý học và hoá học của mẫu được lấy và bản chất của khí được xác định.
Thép mềm là đối tượng ăn mòn của các khí oxi hoá và có thể xốp đối với hydro. Vì vậy, ưu tiên dùng là thép không gỉ hoặc thép crom là loại có thể chịu được tới 1175 K. Các thép đặc biệt khác hoặc hợp kim có thể dùng được ở trên cả nhiệt độ này. Đầu lấy mẫu phải được đốt nóng nếu có sự ngưng tụ xẩy ra ở bên trong nó; cũng có thể cần làm mát đầu lấy mẫu bằng khí hoặc nước bao bên ngoài khi lấy mẫu các khí rất nóng.
Chú thích 2 - Khi sử dụng trong không khí dễ nổ, đầu lấy mẫu bằng kim loại phải được nối đất cẩn thận.
6.1.2.2 Đầu lấy mẫu chịu nhiệt (xem phụ lục A)
Đầu lấy mẫu chịu nhiệt thường được chế tạo bằng thủy tinh oxyt silic, sứ, hoặc nhôm oxit trộn hoặc kết tinh lại. Chúng dễ vỡ và có thể biến dạng ở nhiệt độ cao trừ silic oxit , chúng cũng có thể nứt khi nhiệt độ thay đổi đột ngột.
Đầu lấy mẫu thuỷ tinh bosilicat có thể chịu tới nhiệt độ 775 K và đầu lấy mẫu silic oxit có thể chịu tới nhiệt độ 1300 K. Các đầu lấy mẫu chịu nhiệt khác làm bằng vật liệu gốm có thể chịu được nhiệt độ cao hơn nhiều.
6.1.3 ống lấy mẫu được nung nóng nối với bộ loại hơi ẩm ống lấy mẫu được chế tạo bằng thép không gỉ hoặc polytetrafluoroetylen (PTFE).
Đường kính ống phải thích hợp để tạo ra lưu lượng đủ cấp đủ cho máy, phải luôn lưu ý đến chiều dài đường ống lấy mẫu và đặc tính áp suất của bơm lấy mẫu được dùng (6.1.5).
ống lấy mẫu phải được bảo quản ở nhiệt độ ít nhất là 15 K trên nhiệt độ điểm sương axit và nước của khí được lấy mẫu. Nhiệt độ phải được giám sát.
Để giảm thời gian lưu lại trong đường ống lấy mẫu và nguy cơ biến đổi tính chất lý hoá của mẫu, dòng khí lấy mẫu phải lớn hơn dòng khí yêu cầu của máy phân tích và phần khí lấy mẫu thừa phải được xả ra qua một van tràn (xem hình 1). Nếu cần có thể làm nóng đường ống vận chuyển mẫu khí để tránh sự ngưng tụ.
6.1.4 Cái lọc thứ cấp
Có thể cần đến cái lọc thứ cấp nhằm loại bụi hạt còn lại để bảo vệ bơm. (6.1.5) và máy phân tích. Cái lọc phải ghép theo đường ống dẫn mẫu (6.1.3) ngay sau đầu lấy mẫu. Nên dùng cái lọc giữ được bụi có kích thước lơn hơn 1 àm. Các vật liệu được chấp nhận để chế tạo bộ lọc này là PTFE hoặc thạch anh bosilicat. Kích thước cái lọc phải được xác định dựa trên dòng mẫu yêu cầu và dữ liệu của hãng sản xuất đối với lưu lượng trên đơn vị diện tích.
Cái lọc phải được đốt nóng tới nhiệt độ không dưới 15K trên nhiệt độ điểm sương nước và axit của khí được lấy mẫu. Cái lọc thứ cấp cũng có thể là loại không đốt nóng. Trong trường hợp này, nó sẽ được lắp ngay sau thiết bị loại hơi nước (bộ phận làm lạnh).
6.1.5 Bơm lấy mẫu
Bơm kín khí được dùng để hút mẫu liên tục từ đường ống qua hệ thống. Bơm này có thể là bơm có màng ngăn, bơm hộp xếp bằng kim loại hoặc bơm khác. Bơm phải được chế tạo bằng vật liệu chống ăn mòn.
Dung lượng của bơm phải cung cấp đủ cho tất cả các máy phân tích với dòng yêu cầu và thêm 10% phụ trội dự phòng. Một van xả khí thừa được đặt ở ngang qua bơm để điều chỉnh tốc độ dòng. Van này sẽ kéo dài tuổi thọ của bơm nếu thường xuyên được sử dụng ở lưu lượng thấp hơn. Cần lưu ý rằng một số cấu kiện điều hoà bán sẵn trên thị trường có thể lắp đặt trước bơm, đó là các máy sấy khô bằng làm lạnh / hay thẩm thấu. Trong những trường hợp như vậy, khi dòng mẫu có tính axit và độ ẩm cao, thì bơm phải được vận hành ở nhiệt độ ít nhất là 15K trên nhiệt độ điểm sương axit. Thêm vào đó, trong các điều kiện như vậy cần tăng cường bảo dưỡng bơm.
6.1.6 Loại bỏ hơi nước
Nếu sử dụng một qui trình loại hơi nước, thì phải dùng phương pháp làm khô hoặc bằng ngưng tụ / làm lạnh hoặc làm khô bằng thẩm thấu, hay kết hợp cả hai phương pháp. Có thể cho phép sử dụng chất hút ẩm nếu nó không ảnh hưởng đến nồng độ của các khí như CO. Mỗi phương pháp đều có ưu điểm riêng và những điểm dưới đây cần được lưu ý:
a) Khi phương pháp ngưng tụ / làm lạnh được dùng, thì việc loại bỏ nước cần được tiến hành bên ngoài hộp tạo nhiệt;
b) Khi phương pháp làm khô bằng thẩm thấu được dùng, thì nửa ống của máy sấy khô (đầu ẩm) cần được sấy nóng ở nhiệt độ ít nhất là 15 K trên điểm sương của khí. Khi axit có mặt trong mẫu, thì cần xem xét điểm sương của axit. Phải tuân theo khuyến nghị của các hãng sản suất về lượng khí sục qua.
c) Có thể pha loãng để giảm hàm lượng nước tới mức việc loại nước có thể không cần thiết nữa.
Vì trên thị trường có bán nhiều hệ thống điều hoà, nên không có lời khuyên cụ thể nào cho việc lắp đặt từng hệ thống trong tiêu chuẩn này.
6.1.7 ống lấy mẫu cho máy phân tích
Phần đường ống lấy mẫu được nối với máy phân tích cần được chế tạo bằng vật liệu thích hợp và có kích thước đủ để đảm bảo với yêu cầu của thiết bị.
Tuỳ theo kỹ thuật làm khô hay pha loãng được sử dụng, cần theo dõi nhiệt khi bộ điều khiển được cấp khí ẩm; trong các trường hợp khác, cũng cần theo dõi nhiệt để tránh sự ngưng tụ ở trước bộ phận làm ngưng, nơi hệ thống hút khí nóng. Nếu sử dụng sục ngược để làm sạch cái lọc đặt trong ống khói, thì phải đặt một van điều hoà áp suất ở trước bộ điều hoà để bảo vệ thiết bị khỏi bị hỏng do không khí có áp suất cao.
6.1.8 Bộ phận phân phối khí
Bộ phận phân phối khí cần được chế tạo bằng vật liệu thích hợp có từng đầu ra riêng cho mỗi máy phân tích. Nó cần có kích thước đủ lớn để cấp đúng yêu cầu dòng khí của toàn bộ các thiết bị, nhưng đủ nhỏ để đảm bảo thời gian lưu lại tối thiểu của khí. Khí xả phải được thổi ra một cách an toàn.
6.1.9 Đồng hồ đo chân không
Đồng hồ đo chân không từ 0-100 kPa có thể được lắp trên đường hút của bơm lấy mẫu (6.1.5) để cho biết bơm đang hoạt động tốt hoặc có sự tắc nghẽn hay rò thoát khí khi cần phải thay hoặc làm sạch cái lọc. Thay cho đồng hồ đo chân không, có thể sử dụng một lưu lượng kế có bộ phận cảnh báo lắp ở trên đường ống dẫn khí đo, phía trước máy phân tích, .
Chú thích 3 - Cần đảm bảo rằng áp suất khí hiệu chuẩn phù hợp được dùng để cung cấp lưu lượng đủ cho toàn bộ các thiết bị. Dòng khí hiệu chuẩn phải tương tự như dòng khí được dùng trong quá trình phân tích mẫu liên tục. Cần chú ý tránh áp suất quá cao trong các máy phân tích. Các khí dư xả ra từ bộ phận phân phối khí và các thiết bị phải được thổi ra khỏi khu vực làm việc .
6.1.10 Sự pha loãng
Kỹ thuật pha loãng là sự lựa chọn để giám sát khí nóng hoặc để sấy khô khí mẫu. Pha loãng mẫu là kỹ thuật dùng cho các mục đích sau (xem hình 4):
- giảm nồng độ các thành phần của khí sẽ được đo xuống tới mức phù hợp với phạm vi của máy phân tích;
- giảm điểm sương của ″nước″ bằng cách pha loãng mẫu với một khí mang khô do đó giảm nguy cơ
ngưng tụ trong dòng khí;
- giảm thiểu cản trở của một vài hợp chất có mặt trong mẫu, mà việc loại bỏ những chất này sẽ đặc biệt khó khăn, bằng cách giảm sự biến động tương đối về nồng độ của chúng (thí dụ, pha loãng bằng không khí khô khi những thay đổi về hàm lượng ôxi trong mẫu làm sai lệch phép đo của thành phần khác);
- làm chậm sự biến đổi tính chất lý hoá của mẫu vì tốc độ phản ứng giảm ở nồng độ thấp và nhiệt độ thấp.
Cần lựa chọn tỷ lệ pha loãng tuỳ theo đối tượng của phép đo. Tỉ lệ này cần phải giữ không đổi, vì tần số hiệu chuẩn của máy đo phụ thuộc vào nhiều yếu tố, trong đó có độ ổn định của tỷ lệ pha loãng .
Chú thích 4- Trong trường hợp lấy mẫu bằng cách hút mà nước bị loại, thì các nồng độ khí đo được đều dựa theo khí khô.
Có nhiều loại thiết bị thích hợp để sử dụng như:
- các lỗ đã được chuẩn hoá (mao quản, vòi âm, van kim ...);
-máy đo lưu lượng tính theo thể tích hoặc khối lượng;
- bộ điều chỉnh áp suất và / hoặc bộ chỉnh dòng;
- những thiết bị có thể được dùng vào mục đích điều chỉnh ảnh hưởng của tính chất lý học của mẫu lên tỷ lệ pha loãng.
Bản chất và độ tinh khiết của khí pha loãng cần được lựa chọn tùy theo chức năng của từng ứng dụng.
Điều quan trọng là khí đang được xác định không có mặt trong khí pha loãng và khí pha loãng không phản ứng với các thành phần khí đang được phân tích.
Hơn nữa, tỷ lệ pha loãng lớn có thể dẫn tới nồng độ của thành phần cần xác định là rất thấp, hậu quả của việc đó là hiện tượng hấp phụ có thể xẩy ra dẫn tới những sai số đáng kể trong phép đo. Trong trường hợp đó, phải lựa chọn vật liệu thích hợp để loại trừ hiện tượng này.
6.2 Các bộ phận của thiết bị lấy mẫu trực tiếp
6.2.1 Máy kiểm tra điểm
Máy kiểm tra điểm lấy mẫu trực tiếp dòng khí trong ống dẫn ở đầu mút của đầu đo (6.2.1.2). Khí được giám sát tại 1 điểm hoặc trên một quãng ngắn (dưới 10 cm), phụ thuộc vào nguyên lý của phép đo (xem hình 2). Máy kiểm tra điểm sẽ kết hợp với các bộ phận được mô tả trong 6.2.1.1 đến 6.2.1.7.
6.2.1.1 Bộ truyền tín hiệu
Một bộ phận của thiết bị cảm nhận được tín hiệu của tế bào đo (6.2.1.3) và tạo ra tín hiệu điện tương ứng với nồng độ khí đang được đo.
6.2.1.2 Đầu đo
Một thành phần hỗ trợ cho bộ đo, nối từ bộ truyền tín hiệu (6.2.1.1). Các đầu đo của máy kiểm tra điểm trực tiếp phải đáp ứng yêu cầu kỹ thuật của 6.1.2.1.
6.2.1.3 Bộ đo
Một ngăn nhỏ hay khoang nhỏ tiếp xúc với luồng khí, có mục đích tạo ra tín hiệu (đáp tuyến) quang điện hay hoá học đối với nồng độ khí ở đỉnh của đầu đo (6.2.1.2).
6.2.1.4 Cái lọc đầu đo
Một ống gốm xốp hoặc ống kim loại đục lỗ, hay một màng nhằm giảm thiểu ảnh hưởng của bụi tới phép đo khí.
6.2.1.5 Giá đỡ đầu đo
Một gờ nổi lắp đặt tại lỗ lấy mẫu, được dùng để đỡ bộ truyền tín hiệu (6.2.1.1) và đầu đo (6.2.1.2).
6.2.1.6 ống hiệu chuẩn khí
Một ống được dùng để bơm khí hiệu chuẩn, khí so sánh hay khí "không" vào bộ đo (6.2.1.3) nhằm hiệu chuẩn thiết bị.
6.2.1.7 Chụp bảo vệ (tuỳ chọn)
Một vỏ để bảo vệ bộ truyền tín hiệu khỏi bị ảnh hưởng của môi trường xung quanh.
6.2.2 Máy kiểm tra đường đi
Máy kiểm tra đường đi lấy mẫu luồng khí trực tiếp bên trong ống dẫn khí, trên một đường cắt ngang qua phần chính của đường kính đường ống ở vị trí lấy mẫu (xem hình 3). Máy kiểm tra đường đi phải kết hợp với các bộ phận được mô tả từ 6.2.2.1 đến 6.2.2.7.
6.2.2.1 Bộ phát
Một bộ phận của hệ thống kiểm tra có đặt một nguồn phát sáng và được nối với các bộ quang điện. Bộ phát chiếu ánh sáng xuyên qua khí ống khói tới bộ thu (6.2.2.2) nằm ở phía đối diện của đường ống .
6.2.2.2 Bộ thu
Bộ phận của hệ thống thiết bị, chứa một detector và được nối với bộ quang điện. Detector nhận tia bức xạ phóng ra từ bộ phát (6.2.2.1) và sinh ra tín hiệu tương ứng với nồng độ của các thành phần khí được gíam sát.
Trong các thiết bị kiểu khác, bộ thu được thay thế bằng một bộ phản xạ lùi. Hệ thống này chiếu chùm tia quay ngược trở lại máy thu, ở đó một detector sẽ cho tín hiệu đáp trả ánh sáng phản xạ.
6.2.2.3 Cửa sổ bảo vệ
Cửa sổ hoặc thấu kính tại bề mặt ngăn cách giữa khí ống khói và bộ quang điện, dùng để ngăn khí ống khói không đi vào các bộ quang điện.
6.2.2.4 Thiết bị thổi không khí sạch
Một thiết bị thổi không khí sạch qua các cửa sổ bảo vệ để giảm tối thiểu sự tích bụi.
6.2.2.5 ống hiệu chuẩn (tuỳ chọn)
ống được dùng để đỡ và/hoặc để hiệu chuẩn. Nếu hệ thống kiểm tra đang trong chế độ hiệu chuẩn thì bộ ống này được phun không khí và được đóng lại để ngăn khí ống khói đi vào.
6.2.2.6 Hệ thống chống rung (tùy chọn, không minh hoạ trong hình 3)
Hệ thống cách ly bộ phát (6.2.2.1) và bộ thu (6.2.2.2) khỏi sự rung của đường ống .
6.2.2.7 Ngăn hiệu chuẩn khí bên trong (hấp phụ)
Một ngăn nhỏ được thiết kế để nhận khí vào nhằm mục đích hiệu chuẩn thiết bị.
Chú thích 5 - Một số hệ thống có thể không lấy mẫu trên toàn bộ mặt cắt của đường ống và lúc đó phải chú ý để đảm bảo tính đại diện, ví dụ như phương pháp lấy mẫu bằng cách hút.
7 Vận hành hệ thống
7.1 Kiểm tra sự rò rỉ
Việc kiểm tra sự rò rỉ cần được tiến hành bằng cách tháo đường ống lấy mẫu tại vị trí lối ra của đầu đo, nút đường ống lẫy mẫu lại và điều chỉnh chân không đến 50 kPa bằng cách dùng van tràn; phải không được có sự dò thoát khí nào. Khi có mặt của chất lỏng hoặc sol khí, phải kiểm tra hàng ngày bằng cách dùng khí so sánh phun vào đỉnh của đầu đo và lối vào của thiết bị.
7.2 Hiệu chuẩn, hàm hiệu chuẩn và đặt các thông số máy
Việc hiệu chuẩn hệ thống lẫy mẫu hút là cần thiết cho cả việc lắp đặt thiết bị và đường ống lấy mẫu. Trong trường hợp này cần có cửa thích hợp để đưa khí hiệu chuẩn vào. Thường cần hai điểm bơm khí cho việc hiệu chuẩn, một điểm bơm khí càng gần điểm lấy mẫu càng tốt, một điểm bơm khí khác ở ngay tại lối vào của thiết bị (xem hình 1).
Hệ thống lấy mẫu trực tiếp cũng phải được chuẩn hoá bằng khí hiệu chuẩn. Ngăn hiệu chuẩn cũng có thể cần đối với máy kiểm tra đường.
Mặc dù giá thành vận hành cao, nhưng có khả năng hiệu chuẩn được cho cả hệ thống hút mẫu và không hút mẫu (trực tiếp) dựa vào các phương pháp tiêu chuẩn hút thủ công (phương pháp hoá học ướt) tuỳ theo người dùng.
Khí "không" và khí hiệu chuẩn được đưa vào càng gần càng tốt với điểm mà tại đó mẫu được lấy và không có áp suất dư. Nitơ có thể được dùng làm khí "không".
Để đặt các thông số cho máy phân tích, khí "không" và tiếp theo là khí hiệu chuẩn (với nồng độ khoảng 70 % hoặc 80 % toàn thang đo) được đưa vào. Nếu cần, thao tác này được lặp lại một hoặc hai lần .
Để kiểm tra toàn bộ thang đo, đối với thiết bị đo có hàm hiệu chuẩn tuyến tính, thì 4 nồng độ khí hiệu chuẩn được phân bố đồng đều (xấp xỉ 20 %, 40 %, 60 % và 80 % toàn thang đo). Khí hiệu chuẩn dùng cho mục đích đặt các thông số máy có thể được pha loãng dần dần. Trong trường hợp hàm hiệu chuẩn không tuyến tính, thì yêu cầu ít nhất là 10 điểm đo.
Hàm hiệu chuẩn của máy phân tích có thể được kiểm tra bằng cách đưa khí chuẩn trực tiếp vào thiết bị. Việc đặt các thông số máy phân tích phải được kiểm tra thường kỳ, thí dụ: hàng tuần (thời kỳ vận hành không có người theo dõi). Hàm hiệu chuẩn phải được kiểm tra ở những khoảng thời gian dài hơn (thí dụ hàng năm) hoặc sau mỗi lần sửa chữa máy phân tích.
7.3 Tính toàn vẹn của mẫu
Phải chú ý bảo toàn tình trạng toàn vẹn của mẫu lấy bằng cách lựa chọn tốt trang thiết bị và cách đốt nóng, sấy khô, thử nghiệm thích hợp.v.v. Thêm vào đó, các yếu tố khác như sự ăn mòn, tác dụng hiệp đồng, phản ứng với các thành phần, sự phân huỷ, hấp thụ / hấp phụ có thể ảnh hưởng tới tính toàn vẹn của mẫu.
7.4 Bảo dưỡng các hệ thống lấy mẫu
Bảo dưỡng hệ thống lấy mẫu thường bao gồm việc thực hiện các công đoạn sau:
- kiểm tra xác nhận sự tuân thủ những qui định về an toàn;
- kiểm tra xác nhận sự hoạt động của các thiết bị an toàn;
- thay thế các bộ phận đã tiêu hao của bộ phận xử lý (cái lọc, chất hút ẩm v.v.);
- điều chỉnh thông số vận hành;
- kiểm tra nguyên vật liệu dùng (nước, điện, khí chuẩn...); Phải thường xuyên bảo dưỡng đường ống lấy mẫu .

|
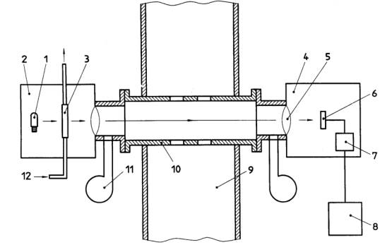
1. Tấm chắn 2. Cái lọc bên trong ống khói 3. ống chữ T 4. Đầu lấy mẫu 5. Cửa lấy mẫu 6. Nắp đậy 7. Đồng hồ đo áp suất 8. Nối với khí "không" và khí sạch 9. Đường ống lấy mẫu có vỏ đốt nóng 10. Bộ kiểm soát nhiệt độ (đường ống) 11. Bộ kiểm soát nhiệt độ (hộp) 12. Cái lọc |
13. Bộ tạo nhiệt 14. Thiết bị làm lạnh 15. Thải nước 16. Đồng hồ đo chân không 17. Van xả tràn 18. Bơm 19. Đường ống lấy mẫu (tuỳ chọn nhiệt độ đốt nóng khi lấy mẫu) 20. Bộ phân phối khí 21. Nối với các máy phân tích 22. Lưu 23. Xả khí lấy mẫu dư |
Hình 1 Thí dụ về hệ thống điều hoà và lấy mẫu bằng phương pháp hút

|
1. Ngăn đo 2. Cái lọc của đo 3. Đầu đo 4. Đường ống hoặc ống khói 5. Đường hiệu chuẩn khí |
6. Máy ghi dữ liệu 7. Chụp bảo vệ 8. Bộ truyền tín hiệu 9. Giá đỡ đầu đo |
Hình 2 - Thí dụ về máy kiểm tra điểm trực tiếp

|
1. Bóng đèn 2. Bộ phát sáng 3. Tế bào chuẩn khí trong 4. Bộ thu nhận ánh sáng 5. Cửa sổ bảo vệ 6. Detector |
7. Cấu kiện điện tử 8. Bộ ghi dữ liệu 9. ống khói hoặc ống dẫn 10. ống hiệu chuẩn 11. Thiết bị thổi khí sạch 12. Đường ống dẫn khí hiệu chuẩn |
Hình 3 - Thí dụ về máy giám sát đường đi trực tiếp

1. Hốc lõm của đầu dò
2. Mẫu pha loãng (Q1+Q2)
3. Không khí pha loãng (Q1)
4. Xả không khí hoặc khí hiệu chuẩn
Tỷ lệ pha loãng =
Nồng độ ban đầu của nguồn =
x Nồng độ đo được
Hình 4 - Thí dụ về một đầu đo pha loãng
PHỤ LỤC A
(qui định)
VẬT LIỆU CHẾ TẠO THIẾT BỊ
A.1 Các bộ phận lấy mẫu
Việc lựa chọn đúng vật liệu chế tạo thiết bị là phần rất quan trọng trong việc thiết kế giao diện lấy mẫu. Vật liệu chế tạo được chấp nhận phải đáp ứng ba chuẩn cứ sau:
a) vật liệu đó phải có đủ độ bền hoá học để chịu được các thành phần ăn mòn của mẫu;
b) vật liệu đó phải không được tương tác một cách quá mức (phản ứng, hấp thụ, hấp phụ) với các mẫu khí;
c) vật liệu dùng bên trong hoặc gần ống khói phải bền nhiệt.
A.2 Độ bền hoá học
Các thành phần ăn mòn gặp phải trong nguồn quan trắc là các nitơ dioxit, lưu huỳnh dioxit, axit nitric loãng, axit sunfurơ loãng, axit sunfuric loãng hay đậm đặc [lưu huỳnh trioxit (SO3) ẩm hoặc mù axit]. Độ bền hoá học của các vật liệu khác nhau đối với các thành phần này được thu thập từ một số tư liệu (8-12) và được tóm tắt trong bảng A.1. Toàn bộ vật liệu được đánh giá ở nhiệt độ phòng và có thể xem như kém bền vững ở nhiệt độ cao hơn.
Trong các kim loại, thép không gỉ carpenter 20 SS là bền vững nhất, kế tiếp là 316 SS, 304 SS và cuối cùng là nhôm. Thủy tinh và PTFE (Teflon1)) rất bền vững đối với tất cả các thành phần của mẫu Polyvinylclorua (PVC) và Tygon1) kém bền hơn với tất cả các thành phần trừ axit nitric đậm đặc, chất này chưa thấy có ở bề mặt lấy mẫu. PVC và tygon bền vững với sự ăn mòn nhưng có thể phản ứng với các thành phần ăn mòn. Để xác định nitơ dioxit và lưu huỳnh dioxit ở nồng độ thấp trong mẫu ẩm, PTFE và thuỷ tinh được khuyên nên dùng. Polyetylen và polypropylen có cùng tính chất chống ăn mòn và được chấp nhận để dùng, trừ những nơi có axit nitric đặc (mù axit từ nhà máy sản xuất axit sunfuric). Nilon là vật liệu ít được dùng trong hệ thống lấy mẫu trong khi các nguồn thông tin lại không thống nhất về tính bền của viton trong các thử nghiệm độ bền.
1) Teflon và Viton là các thí dụ về các sản phẩm thích hợp có sẵn ở thị trường. Thông tin này được đưa ra để tiện cho người dùng tieu chuẩn này và không phải là sự xác nhận của ISO về những sản phẩm này.
Bảng A.1 - Độ bền hoá học của một số vật liệu
|
Vật liệu |
SO2 khô |
NO2 khô |
HNO3 loãng |
H2SO3 loãng |
H2SO4 loãng |
HNO3 đặc (1) |
H2SO4 đặc |
|
Thép không gỉ loại 304 SS |
S (có 1 số vết rỗ) |
S |
S |
Q |
U |
S |
U |
|
Thép không gỉ loại 316 SS |
S |
S |
S (<>2 |
S |
S hoặc Qm (<> |
S (<> |
U (>1,27) |
|
Thép không gỉ loại carpenter 20 SS |
S |
S |
S |
S |
S hoặc Q |
S |
S |
|
Nhôm |
S |
ư |
S (0,127 đến 0,508) |
S (0,127 đến 0,508) |
Q (0,508 đến 1,27) |
U (>1,27) |
U (> 1,27) |
|
Thuỷ tinh |
S |
S |
S (<> |
- |
S (<> |
S (>0,127) |
S (>0,127) |
|
Teflon |
S |
S |
S |
S |
S |
S |
S |
|
PVC |
S |
S |
S |
S |
Q |
U |
S hoặc Q |
|
Tygon |
S |
S |
S hoặc Q |
S |
S |
Q hoặc U |
S hoặc Q |
|
Polyetylen |
S |
S |
S hoặc Q |
S |
S |
U |
Q hoặc U |
|
Polypropylen |
S |
S |
S |
S |
S |
U |
Q hoặc U |
|
Nilon |
- |
S |
S |
U |
U |
U |
U |
|
Viton |
S đến U |
S |
S |
S |
S |
S đến U |
S đến U |
|
S = thoả mãn Q = nghi ngờ U = không thoả mãn Khuyên dùng teflon cho các thành phần ăn mòn như khí SO2 khô và NO2 khô. |
|||||||
|
1) Nồng độ HNO3 cao chưa thấy có ở bề mặt tiếp giáp lấy mẫu. 2) Các con số trong dấu ngoặc đơn cho biết tốc độ ăn mòn, tính bằng milimét trên năm. |
|||||||