Tải về định dạng Word (179KB) Tải về định dạng PDF (117.8KB)

Tiêu chuẩn quốc gia TCVN 6249:1997 (ISO 4132:1979) về Phụ tùng nối bằng polyvinyl clorua cứng (PVC-U) và bằng kim loại dùng cho ống chịu áp lực - Chiều dài nối và kích thước ren - Dãy thông số theo hệ mét

TCVN 6249:1997

ISO 4132:1979

PHỤ TÙNG NỐI BẰNG POLYVINYL CLORUA CỨNG (PVC-U) VÀ BẰNG KIM LOẠI DÙNG CHO ỐNG CHỊU ÁP LỰC - CHIỀU DÀI NỐI VÀ KÍCH THƯỚC REN - DÃY THÔNG SỐ THEO HỆ MÉT

Unplasticized polyvinyl chloride (PVC) and metal adaptor fitting for pipes under pressure - Laying lengths and size of threads - Metric series

 

Lời nói đầu

TCVN 6249:1997 hoàn toàn tương đương với ISO 4132:1979;

TCVN 6249:1997 do Ban kỹ thuật tiêu chuẩn TCVN/TC 138 Ống nhựa và phụ tùng đường ống biên soạn, Tổng cục Tiêu chuẩn Đo lường Chất lượng đề nghị, Bộ Khoa học, Công nghệ và Môi trường (nay là Bộ Khoa học và Công nghệ) ban hành;

Tiêu chuẩn này được chuyển đổi năm 2008 từ Tiêu chuẩn Việt Nam cùng số hiệu thành Tiêu chuẩn Quốc gia theo quy định tại khoản 1 Điều 69 của Luật Tiêu chuẩn và Quy chuẩn kỹ thuật và điểm a khoản 1 Điều 6 Nghị định số 127/2007/NĐ-CP ngày 1/8/2007 của Chính phủ quy định chi tiết thi hành một số điều của Luật Tiêu chuẩn và Quy chuẩn kỹ thuật.

 

PHỤ TÙNG NỐI BẰNG POLYVINYL CLORUA CỨNG (PVC-U) VÀ BẰNG KIM LOẠI DÙNG CHO ỐNG CHỊU ÁP LỰC - CHIỀU DÀI NỐI VÀ KÍCH THƯỚC REN - DÃY THÔNG SỐ THEO HỆ MÉT

Unplasticized polyvinyl chloride (PVC) and metal adaptor fitting for pipes under pressure - Laying lengths and size of threads - Metric series

1. Phạm vi áp dụng

Tiêu chuẩn này quy định dãy đường kính và kích thước thông dụng cho các loại phụ tùng nối bằng polivinyl clorua cứng (PVC-U) và bằng kim loại dùng cho ống chịu áp lực để nối với ống kim loại, phụ tùng nối, van và thiết bị với ống ren.

Phụ tùng nối có một khớp nối nhẵn hoặc ống nối để nối bằng keo và phần còn lại nối với kim loại nhưng áp lực nối căng đạt được do miếng đệm bị ép.

CHÚ THÍCH Các hình vẽ minh họa trong tiêu chuẩn này được chọn một cách ngẫu nhiên không thiên về một dạng nào.

2. Tiêu chuẩn trích dẫn

ISO 7/1 ống ren ở đó lực nối căng tác dụng trên ren - Phần 1: Tên gọi; kích thước và dung sai.

ISO/R 49 Phụ tùng nối ống bằng sắt có ren theo ISO 7/1.

ISO 228/1 Ren ống mà lực căng của mối nối không tác dụng lên ren - Phần 1: Tên gọi, kích thước và dung sai.

TCVN 6241:1997 Phụ tùng nối bằng polyvinyl clorua cứng (PVC-U) với các khớp nhẵn dùng cho các ống chịu áp lực. Chiều dài nối. Dãy thông số theo hệ mét.

TCVN 6243:1997 Phụ tùng nối bằng polyvinyl clorua cứng (PVC-U) với các khớp nhẵn dùng cho ống chịu áp lực. Kích thước của khớp. Dãy thông số theo hệ mét.

3. Ký hiệu

Phụ tùng nối được ký hiệu theo các tiêu chuẩn sau:

- Đường kính trong và ngoài danh nghĩa của các phần từ PVC theo TCVN 6241:1997;

- Cỡ ren quy ước của ống nối theo ISO 7/1;

- Cỡ ren quy ước của đai ốc nối song song theo ISO 228/1.

VÍ DỤ: Phụ tùng nối hỗn hợp 25 x 3/4

Khớp nối hỗn hợp và đai ốc thả lỏng 25 x 1 1/4

4. Kích thước

4.1. Đường kính và chiều dài

Đường kính trong của khớp nối nhẵn hoặc đường kính ngoài của ống nối nhẵn và chiều dài của chúng phải phù hợp với kích thước quy định trong TCVN 6243:1997 hoặc TCVN 6241:1997 Phần ren của phụ tùng nối phải phù hợp với kích thước quy định trong ISO 7/1 và ISO 228/1.

4.2. Chiều dài nối

Chiều dài nối là khoảng cách giữa các đầu ống khi nối với nhau và ký hiệu như sau:

- Nối đồng trục: khi đầu mở của phụ tùng nối đồng trục tâm;

- Nối lệch trục: khi đầu mở của phụ tùng nối không đồng trục tâm.

Chiều dài nối được quy định ở Điều 5 và Điều 6. Phần kim loại theo ISO/R 49.

4.3. Dung sai

4.3.1. Sai lệch cho phép của chiều dài nối “Z” quy định trong bảng dưới đây.

4.3.2. Sai lệch cho phép của đường kính và chiều dài của khớp nối nhẵn theo TCVN 6243:1997.

4.3.3. Sai lệch cho phép của đường kính ống nối nhẵn theo TCVN 6241 và chiều dài khớp nối tương ứng theo TCVN 6243:1997.

4.3.4. Sai lệch cho phép phần ren theo ISO 7/1, ISO/R 49 và ISO 228/1.

5. Phụ tùng nối hỗn hợp (mặt làm kín phẳng)

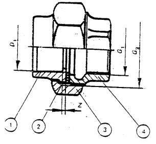
5.1. Kiểu I - hỗn hợp PVC/kim loại (bằng nhau) với ren trong ở phần kim loại.

1 Đầu nối hỗn hợp (PVC)

2 Vòng đệm

3 Đai ốc nối (kim loại)

4 Ống nối (kim loại ren trong)

Hình 1a

5.2. Kiểu II - hỗn hợp PVC/kim loại (bằng nhau) với ren ngoài ở phần kim loại.

1 Đầu nối hỗn hợp (PVC)

2 Vòng đệm

3 Đai ốc nối (kim loại)

5 Ống nối (kim loại ren ngoài)

Hình 1b

Bảng 1

Đầu nối hỗn hợp PVC 1)

(Khớp nối nhẵn)

Đai ốc hỗn hợp

Nối ren trong 2)

 

 


G
2

in

Ống nối hỗn hợp

Đường kính khớp nối

 

D1

mm

Chiều dài nối

 


Z

mm

Ren nối 3) ngoài (Rc) hoặc ren nối trong (Rp)

G
1

in

Nối trong 2)

 


G
2

in

16

20

25

32

40

50

63

75

90

3 ± 1

3 ± 1

3 ± 1

3 ± 1

3 ± 1

3 ± 1

3 ± 1

3 ± 1

3/4

1

1 1/4

1 1/2

2

2 1/4

2 3/4

3 1/2

4

3/8

1/2

3/4

1

1 1/4

1 1/2

2

2 1/2

3

3/4

1

1 1/4

1 1/2

2

2 1/4

2 3/4

3 1/2

4

1) Dung sai đường kính và chiều dài khớp nối theo TCVN 6243:1997.

2) Ren trụ theo ISO 228/1

3) Ren nối theo ISO 7/1

CHÚ THÍCH Các kích thước khác của phần kim loại theo ISO/R 49.

6. Phụ tùng nối ghép (mặt làm kín phẳng)

6.1. Kiểu I - Đầu nối hỗn hợp và đai ốc kim loại thả lỏng

1) Đầu nối hỗn hợp PVC

2) Đai ốc kim loại

3) Mặt làm kín phẳng

Hình 2a

Bảng 2

Đầu nối hỗn hợp 1)

(Khớp nối nhẵn)

Đai ốc kim loại 2)

(ren trụ trong)

 

G2

in

Đường kính khớp nối

D1

mm

Chiều dài nối

Z1

mm

16

20

25

32

40

50

63

75

90

3 ± 1

3 ± 1

3 ± 1

3 ± 1

3 ± 1

3 ± 1

3 ± 1

3 ± 1

3/4

1

1 1/4

1 1/2

2

2 1/4

2 3/4

3 1/2

4

1) Dung sai đường kính và chiều dài khớp nối theo TCVN 6243:1997.

2) Ren trụ theo ISO 228/1

CHÚ THÍCH Các kích thước của phần kim loại khác theo ISO/R 49.

6.2. Kiểu II - Ống nối PVC/đầu nối và đai ốc kim loại thả lỏng

1) Đầu nút PVC

2) Đai ốc kim loại

3) Mặt làm kín phẳng

Hình 2b

Bảng 3

Đầu nối hỗn hợp 1)

(ống nối nhẵn)

Đầu nối hỗn hợp 1)

(khớp nối nhẵn)

Đai ốc kim loại 2)

(ren trụ trong)

 


G2

in

Đường kính ống nối

D2

mm

Chiều dài nối


Z2

mm

Đường kính khớp nối

D3

mm

Chiều dài nối


Z3

mm

16

20

25

32

40

50

12

16

20

25

32

40

1/2

3/4

1

1 1/4

1 1/2

2

1) Dung sai đường kính và chiều dài khớp nối theo TCVN 6243:1997.

2) Ren trụ theo ISO 228/1

CHÚ THÍCH Các kích thước của phần kim loại khác theo ISO/R 49.

6.3. Kiểu III - Ống lót PVC và đai ốc kim loại thả lỏng (thiết kế đặc biệt)

1 Ống lót PVC

2 Đai ốc kim loại (thiết kế đặc biệt)

3 Mặt làm kín phẳng

Hình 2c

Bảng 4

Ống lót PVC 1)

(khớp nối nhẵn)

Ống lót chuyển bậc 1)

(khớp nối nhẵn)

Đai ốc kim loại 2)

(ren trụ trong)

 


G
2

in

Đường kính khớp nối

D4

mm

Chiều dài nối


Z
4

mm

Đường kính khớp nối

D5

mm

Chiều dài nối


Z
6

mm

12

16

20

25

32

40

50

63

3 ± 1

3 ± 1

3 ± 1

3 ± 1

3 ± 1

3 ± 1

3 ± 1

3 ± 1

-

12

16

20

25

32

40

50

-

5 ± 1

5 ± 1

6 ± 1

7 ± 1

7 ± 1

8 ± 1

10 ± 1

3/8

1/2

3/4

1

1 1/4

1 1/2

2

2 1/2

1) Dung sai đường kính và chiều dài khớp nối, theo TCVN 6243:1997.

2) Ren trụ theo ISO 228/1

CHÚ THÍCH Các kích thước của phần kim loại khác theo ISO/R 49.

 

Tìm kiếm

Thông tin Tiêu chuẩn Việt Nam TCVN6249:1997
Loại văn bản Tiêu chuẩn Việt Nam
Số hiệu TCVN6249:1997
Cơ quan ban hành
Người ký ***
Lĩnh vực Công nghiệp
Ngày ban hành ...
Ngày hiệu lực ...
Ngày công báo ...
Số công báo Còn hiệu lực
Tình trạng hiệu lực Không xác định
Cập nhật 9 năm trước