|
Ir = |
Sr |
|
Số pha x Ur |
3.5 Các nấc điều chỉnh
3.5.1 Nấc điều chỉnh (tapping)
Ở máy biến áp có một cuộn dây có nấc điều chỉnh, cách đấu nối cụ thể của cuộn dây đó thể hiện số vòng dây hiệu quả nhất định trong cuộn dây có nấc điều chỉnh và, do đó, thể hiện tỷ số vòng dây nhất định giữa cuộn dây đó và bất kỳ cuộn dây nào khác có số vòng dây cố định
CHÚ THÍCH: Một trong các nấc điều chỉnh là nấc điều chỉnh chính, các nấc điều chỉnh khác được mô tả theo mối quan hệ với nấc điều chỉnh chính bằng các hệ số điều chỉnh tương ứng. Xem định nghĩa của các thuật ngữ dưới đây.
3.5.2 Nấc điều chỉnh chính (principal tapping)
Nấc điều chỉnh tương ứng với các đại lượng danh định.
[IEC 60050-421:1990, 421-05-02]
3.5.3 Hệ số điều chỉnh (tương ứng với nấc điều chỉnh đã cho) (tapping factor (corresponding to a given tapping)
Tỷ số:
...
...
...
Ur là điện áp danh định của cuộn dây (xem 3.4.3);
Ud là điện áp xuất hiện tại các đầu nối của cuộn dây khi máy biến áp vận hành không tải, tại nấc điều chỉnh liên quan, bằng cách đặt điện áp danh định vào một cuộn dây không có nấc điều chỉnh.
CHÚ THÍCH: Đối với máy biến áp nối tiếp, hệ số điều chỉnh là tỷ số giữa điện áp của cuộn dây nối tiếp tương ứng với nấc điều chỉnh đã cho với Ur.
[IEC 60050-421:1990, 421-05-03, có sửa đổi].
3.5.4 Nấc điều chỉnh tăng (plus tapping)
Nấc điều chỉnh có hệ số điều chỉnh lớn hơn một.
[IEC 60050-421:1990, 421-05-04]
3.5.5 Nấc điều chỉnh giảm (minus tapping)
Nấc điều chỉnh có hệ số điều chỉnh nhỏ hơn một.
...
...
...
3.5.6 Bước điều chỉnh (tapping step)
Chênh lệch giữa các hệ số điều chỉnh, thể hiện dưới dạng phần trăm, của hai nấc điều chỉnh liền kề.
[IEC 60050-421:1990, 421-05-06]
3.5.7 Dải điều chỉnh (tapping range)
Dải biến thiên của hệ số điều chỉnh, thể hiện dưới dạng phần trăm, so với giá trị ‘100’.
CHÚ THÍCH: Nếu dải hệ số này nằm trong phạm vi từ 100 + a đến 100 - b, thì dải điều chỉnh được xem là: +a %, -b % hoặc ± a % nếu a = b.
[IEC 60050-421:1990, 421-05-07]
3.5.8 Tỷ số điện áp của nấc điều chỉnh (của một cặp cuộn dây) (tapping voltage ratio (of a pair of windings)
Tỷ số bằng với tỷ số điện áp danh định:
...
...
...
• chia cho hệ số điều chỉnh của cuộn dây có nấc điều chỉnh nếu đó là cuộn dây điện áp thấp.
[IEC 60050421:1990, 421-05-08]
CHÚ THÍCH: Mặc dù theo định nghĩa, tỷ số điện áp danh định ít nhất là bằng 1, tuy vậy tỷ số điện áp nấc điều chỉnh có thể nhỏ hơn 1 đối với một vài nấc điều chỉnh nào đó khi tỷ số điện áp danh định gần bằng 1.
3.5.9 Đại lượng nấc điều chỉnh (tapping quantities)
Các đại lượng mà giá trị bằng số của chúng xác định chế độ nấc điều chỉnh của nấc điều chỉnh cụ thể (không phải là nấc điều chỉnh chính).
CHÚ THÍCH: Đại lượng nấc điều chỉnh có ở tất cả các cuộn dây trong máy biến áp, không chỉ ở cuộn dây có nấc điều chỉnh (xem 6.2 và 6.3).
Đại lượng nấc điều chỉnh là:
- điện áp nấc điều chỉnh (tương tự như điện áp danh định, 3.4.3);
- công suất nấc điều chỉnh (tương tự như công suất danh định, 3.4.6);
...
...
...
[IEC 60050-421:1990, 421-05-10, có sửa đổi].
3.5.10 Nấc điều chỉnh có công suất toàn phần (full-power tapping)
Nấc điều chỉnh mà công suất ở nấc này bằng công suất danh định.
[IEC 60050-421:1990, 421-05-14]
3.5.11 Nấc điều chỉnh có công suất giảm thấp (reduced-power tapping)
Nấc điều chỉnh mà công suất ở nấc này nhỏ hơn công suất danh định.
[IEC 60050-421:1990, 421-05-15]
3.5.12 Bộ chuyển đổi nấc điều chỉnh dưới tải (on-load tap-changer)
OLTC
...
...
...
[IEC 60050-421:1990, 421-11-01]
3.5.13 Bộ chuyển đổi nấc điều chỉnh khi không có điện (de-energized tap-changer)
DETC
Thiết bị dùng để thay đổi việc đấu nối nấc điều chỉnh của cuộn dây, chỉ thích hợp cho việc vận hành khi máy biến áp bị ngắt điện (cách ly khỏi hệ thống).
3.5.14 Điện áp làm việc tối đa cho phép theo nấc điều chỉnh (maximum allowable tapping service voltage)
Điện áp tại tần số danh định của máy biến áp được thiết kế để chịu được liên tục mà không bị hỏng ở bất kì vị trí nấc điều chỉnh cụ thể nào tại công suất nấc điều chỉnh liên quan.
CHÚ THÍCH 1: Điện áp này được giới hạn bởi Um.
CHÚ THÍCH 2: Điện áp này thường sẽ bị giới hạn đến 105 % điện áp nấc điều chỉnh danh định trừ khi người mua quy định điện áp cao hơn trong quy định về nấc điều chỉnh (xem 6.4) một cách rõ ràng hoặc là kết quả của quy định theo 6.4.2.
3.6 Các tổn hao và dòng điện không tải
...
...
...
3.6.1 Tổn hao không tải (no-load loss)
Công suất tác dụng bị hấp thụ khi đặt điện áp danh định (điện áp nấc điều chỉnh) có tần số danh định lên các đầu nối của một trong các cuộn dây, trong khi các cuộn dây còn lại hở mạch.
[IEC 60050-421:1990, 421-06-01, có sửa đổi]
3.6.2 Dòng điện không tải (no-load current)
Giá trị hiệu dụng của dòng điện chạy qua đầu nối pha của cuộn dây khi đặt điện áp danh định (điện áp nấc điều chỉnh) vào cuộn dây đó ở tần số danh định, trong khi cuộn dây hoặc các cuộn dây khác hở mạch.
CHÚ THÍCH 1: Đối với máy biến áp ba pha, giá trị này là trung bình cộng của các giá trị dòng điện trong ba pha.
CHÚ THÍCH 2: Dòng điện không tải của một cuộn dây thường được biểu diễn bằng phần trăm của dòng điện danh định của cuộn dây đó. Đối với máy biến áp nhiều cuộn dây, giá trị phần trăm này tương ứng với cuộn dây có công suất danh định cao nhất.
[IEC 60050-421:1990, 421-06-02, có sửa đổi].
3.6.3 Tổn hao có tải (load loss)
...
...
...
CHÚ THÍCH 1: Đối với máy biến áp hai cuộn dây, chỉ có một cách tổ hợp cuộn dây và một giá trị tổn hao khi có tải. Đối với máy biến áp nhiều cuộn dây, có nhiều giá trị tổn hao có tải tương ứng với các cách tổ hợp hai cuộn dây khác nhau (xem Điều 7 của IEC 60076-8). Giá trị kết hợp của tổn hao khi có tải đối với toàn bộ máy biến áp liên quan đến tổ hợp tải của cuộn dây xác định. Nói chung, giá trị này thường không thể xác định bằng phép đo trực tiếp khi thử nghiệm.
CHÚ THÍCH 2: Khi các cuộn dây của một cặp có công suất danh định khác nhau, cần đề cập đến tổn hao có tải ứng với dòng điện danh định trong cuộn dây có công suất danh định nhỏ hơn và công suất chuẩn.
3.6.4 Tổn hao tổng (total losses)
Tổng của tổn hao không tải và tổn hao có tải
CHÚ THÍCH: Không tính đến tổng công suất tiêu thụ của các thiết bị phụ trợ trong tổn hao tổng và được nêu riêng.
[IEC 60050-421:1990, 421-06-05, có sửa đổi]
3.7 Trở kháng ngắn mạch và sụt áp
3.7.1 Trở kháng ngắn mạch của một cặp cuộn dây (short-circuit impedance of a pair of windings)
Trở kháng nối tiếp tương đương Z = R + jX, tính bằng ôm, ở tần số danh định và nhiệt độ chuẩn, qua các đầu nối của một cuộn dây của một cặp, khi các đầu nối của cuộn dây kia được nối tắt và các cuộn dây khác, nếu có, hở mạch. Đối với máy biến áp ba pha, trở kháng được biểu thị là trở kháng pha (nối sao tương đương).
...
...
...
CHÚ THÍCH 2: Đại lượng này có thể được biểu thị dưới dạng tương đối, không có thứ nguyên, như là hệ số z của trở kháng chuẩn Zref, của cùng cuộn dây trong cặp đó. Tính theo phần trăm là:
![]()
trong đó
(công
thức này đúng đối với cả máy biến áp
ba pha và một pha)
U là điện áp (điện áp danh định hoặc điện áp nấc điều chỉnh) của cuộn dây có Z và Zref.
Sr là giá trị chuẩn của công suất danh định.
Giá trị tương đối này cũng bằng với tỷ số giữa điện áp đặt trong phép đo ngắn mạch tạo ra dòng điện danh định tương ứng (hoặc dòng điện nấc điều chỉnh) và điện áp danh định (hoặc điện áp nấc điều chỉnh). Điện áp đặt này được gọi là điện áp ngắn mạch [IEC 60050-421:1990, 421-07-01] của cặp cuộn dây. Giá trị tương đối này thường được biểu diễn dưới dạng phần trăm.
[IEC 60050-421:1990, 421-07-02, có sửa đổi]
3.7.2 Sụt áp hoặc tăng áp đối với điều kiện phụ tải quy định (voltage drop or rise for a specified load condition)
...
...
...
• giá trị danh định của nó nếu máy biến áp được nối vào nấc điều chỉnh chính (điện áp không tải của cuộn dây thứ nhất khi đó bằng giá trị danh định của nó);
• điện áp nấc điều chỉnh nếu máy biến áp được nối ở nấc điều chỉnh khác.
Chênh lệch này thường được biểu diễn dưới dạng phần trăm của điện áp không tải của cuộn dây thứ nhất.
CHÚ THÍCH: Đối với máy biến áp nhiều cuộn dây, sụt áp hoặc tăng áp không chỉ phụ thuộc vào tải và hệ số công suất của bản thân cuộn dây mà còn phụ thuộc vào tải và hệ số công suất của các cuộn dây khác (xem IEC 60076-8).
[IEC 60050-421:1990, 421-07-03]
3.7.3 Trở kháng thứ tự không (của cuộn dây ba pha) (zero-sequence impedance (of a three-phase winding)
Trở kháng, tính bằng ôm cho mỗi pha ở tần số danh định, giữa các đầu nối pha của cuộn dây nối sao hoặc cuộn dây nối ziczac, nối với nhau, và đầu nối trung tính của cuộn dây.
[IEC 60050-421:1990,421-07-04, có sửa đổi]
CHÚ THÍCH 1: Trở kháng thứ tự không có thể có một số giá trị vì nó phụ thuộc vào cách nối và mang tải của các đầu nối của cuộn dây kia hoặc các cuộn dây khác được đấu nối và mang tải.
...
...
...
CHÚ THÍCH 3: Trở kháng thứ tự không cũng có thể được biểu diễn bằng giá trị tương đối giống như trở kháng ngắn mạch (thứ tự thuận) (xem 3.7.1).
3.8 Độ tăng nhiệt (temperature rise)
Chênh lệch giữa nhiệt độ của phần đang xét và nhiệt độ của môi chất làm mát bên ngoài.
[IEC 60050-421:1990, 421-08-01, có sửa đổi]
3.9 Cách điện (insulation)
Đối với các định nghĩa liên quan đến cách điện, xem TCVN 6306-3 (IEC 60076-3).
3.10 Các cách đấu nối
3.10.1 Nối sao (star-connection)
Cách đấu nối cuộn dây được bố trí sao cho từng cuộn dây pha của máy biến áp ba pha, hoặc của từng cuộn dây có cùng điện áp danh định của máy biến áp một pha được kết hợp thành tổ máy biến áp ba pha, được đấu nối vào một điểm chung (điểm trung tính) còn đầu kia nối với đầu nối pha tương ứng.
...
...
...
CHÚ THÍCH: Nối sao đôi khi được gọi là nối Y.
3.10.2 Nối tam giác (delta-connection)
Cách đấu nối cuộn dây được bố trí sao cho cuộn dây pha của máy biến áp ba pha, hoặc các cuộn dây có cùng điện áp danh định của các máy biến áp một pha được kết hợp thành tổ máy biến áp ba pha, được mắc nối tiếp để tạo thành một mạch kín.
[IEC 60050-421:1990, 421-10-02, có sửa đổi]
CHÚ THÍCH: Nối tam giác đôi khi được gọi là nối D.
3.10.3 Nối tam giác hở (open-delta connection)
Cách đấu nối cuộn dây trong đó các cuộn dây pha của máy biến áp ba pha hoặc các cuộn dây có cùng điện áp danh định của các máy biến áp một pha được kết hợp thành tổ máy biến áp ba pha, được mắc nối tiếp nhưng một đỉnh của tam giác hở mạch.
[IEC 60050-421:1990, 421-10-03]
3.10.4 Nối ziczac (Z-connection)
...
...
...
CHÚ THÍCH: Xem Phụ lục D đối với trường hợp các phần của cuộn dây thường có cùng số vòng dây.
3.10.5 Cuộn dây hở mạch (open windings)
Các cuộn dây pha của máy biến áp ba pha không được đấu nối với nhau bên trong máy biến áp.
[IEC 60050-421:1990, 421-10-05, có sửa đổi]
3.10.6 Độ lệch pha (của cuộn dây ba pha) (phase displacement (of a three-phase winding))
Góc lệch giữa các véctơ điện áp giữa điểm trung tính (thực hoặc giả) và đầu nối tương ứng của hai cuộn dây, khi hệ thống điện áp thứ tự thuận được đặt vào đầu nối điện áp cao, theo thứ tự bằng chữ cái nếu chúng được đánh dấu bằng chữ cái hoặc theo thứ tự số nếu chúng được đánh dấu bằng số. Các véctơ pha được giả thiết là quay ngược chiều kim đồng hồ.
[IEC 60050-421:1990, 421-10-08, có sửa đổi]
CHÚ THÍCH 1: Xem Điều 7 và Phụ lục D.
CHÚ THÍCH 2: Véctơ pha của cuộn dây điện áp cao được lấy làm chuẩn, và độ lệch pha ứng với bất kỳ cuộn dây nào khác được biểu diễn theo quy ước bằng ‘chỉ số giờ’, tức là véctơ pha của cuộn dây chỉ mấy giờ khi véctơ pha của cuộn dây cao áp là 12 h (số càng cao thì sự chậm pha càng lớn).
...
...
...
Ký hiệu quy ước chỉ ra các tổ nối dây của cuộn dây điện áp cao, cuộn dây điện áp trung gian (nếu có) và cuộn dây điện áp thấp và (các) độ lệch pha tương đối của chúng thể hiện bằng một tổ hợp các chữ cái và (các) chỉ số giờ.
[IEC 60050-421:1990, 421-10-09, có sửa đổi]
3.11 Các loại thử nghiệm
3.11.1 Thử nghiệm thường xuyên (routine test)
Thử nghiệm được thực hiện cho từng máy biến áp riêng.
3.11.2 Thử nghiệm điển hình (type test)
Thử nghiệm được thực hiện trên một máy biến áp đại diện cho các máy biến áp khác để chứng minh rằng các máy biến áp này phù hợp với yêu cầu quy định không được đề cập trong các thử nghiệm thường xuyên: một máy biến áp được xem là đại diện cho các máy biến áp khác nếu nó được chế tạo theo các bản vẽ giống nhau sử dụng cùng công nghệ và cùng vật liệu trong cùng một nhà máy.
CHÚ THÍCH 1: Sự sai lệch về thiết kế nếu thấy rõ ràng là không liên quan đến thử nghiệm điển hình cụ thể, thì không yêu cầu phải lặp lại thử nghiệm điển hình.
CHÚ THÍCH 2: Sự sai lệch về thiết kế gây ra việc sụt giảm các giá trị và ứng suất liên quan đến thử nghiệm điển hình cụ thể, không đòi hỏi phải thử nghiệm điển hình mới nếu được chấp nhận giữa người mua và nhà chế tạo.
...
...
...
3.11.3 Thử nghiệm đặc biệt (special test)
Thử nghiệm được thỏa thuận giữa nhà chế tạo và người mua, không phải là thử nghiệm điển hình hoặc thử nghiệm thường xuyên.
CHÚ THÍCH: Thử nghiệm đặc biệt có thể được tiến hành trên một máy biến áp hoặc tất cả các máy biến áp có thiết kế riêng biệt, nếu người mua quy định trong bản yêu cầu và đơn đặt hàng đối với từng thử nghiệm đặc biệt.
3.12 Dữ liệu khí tượng học liên quan đến làm mát
3.12.1 Nhiệt độ môi chất làm mát ở mọi thời điểm (temperature of cooling medium at any time)
Nhiệt độ tối đa của môi chất làm mát được đo trong nhiều năm.
3.12.2 Nhiệt độ trung bình tháng (monthly average temperature)
Trung bình cộng giữa nhiệt độ trung bình cực đại hàng ngày và nhiệt độ trung bình cực tiểu hàng ngày trong một tháng cụ thể, được theo dõi trong nhiều năm.
3.12.3 Nhiệt độ trung bình năm (yearly average temperature)
...
...
...
3.13 Các định nghĩa khác
3.13.1 Dòng điện tải (load current)
Giá trị hiệu dụng của dòng điện trong cuộn dây bất kỳ ở điều kiện làm việc.
3.13.2 Thành phần sóng hài tổng (total harmonic content)
Tỷ số giữa giá trị hiệu dụng của của tất cả các sóng hài và giá trị hiệu dụng của (E1, I1) cơ bản.
thành phần sóng hài tổng =
(đối với điện áp)
thành phần sóng hài tổng =
(đối với dòng điện)
Ei thể hiện giá trị hiệu dụng của điện áp của sóng hài thứ i
Ii thể hiện giá trị hiệu dụng của dòng điện của sóng hài thứ i
...
...
...
Tỷ số giữa giá trị hiệu dụng của tất cả các sóng hài bậc chẵn với giá trị hiệu dụng của (E1, I1) cơ bản.
thành phần sóng hài bậc chẵn =
(đối với điện áp)
thành phần sóng hài bậc chẵn =
(đối với dòng điện)
Ei thể hiện giá trị hiệu dụng của điện áp của sóng hài thứ i
Ii thể hiện giá trị hiệu dụng của dòng điện của sóng hài thứ i
4 Điều kiện làm việc
4.1 Quy định chung
Điều kiện làm việc đưa ra trong 4.2 thể hiện phạm vi làm việc bình thường của máy biến áp được quy định trong tiêu chuẩn này. Đối với các điều kiện làm việc không bình thường cần lưu ý đặc biệt về thiết kế của máy biến áp, xem 5.5. Các điều kiện này bao gồm độ cao so với mực nước biển, nhiệt độ môi chất làm mát bên ngoài quá cao hoặc quá thấp, độ ẩm nhiệt đới, hoạt động động đất, độ nhiễm bẩn nghiêm trọng, dạng sóng điện áp hoặc dạng sóng dòng điện tải không bình thường, bức xạ mặt trời cao và tải gián đoạn. Các điều kiện này cũng đề cập đến các điều kiện vận chuyển, lưu kho và lắp đặt, ví dụ như việc hạn chế khối lượng hoặc hạn chế không gian (xem Phụ lục A).
Quy tắc bổ sung đối với các thông số đặc trưng và thử nghiệm được đưa ra trong các tiêu chuẩn dưới đây:
...
...
...
- cách điện bên ngoài ở độ cao cao hơn nhiều so với mực nước biển: TCVN 6306-3 (IEC 60076-3) đối với máy biến áp đổ đầy chất lỏng và TCVN 6306-11 (IEC 60076-11) đối với máy biến áp kiểu khô.
4.2 Điều kiện làm việc bình thường
Tiêu chuẩn này nêu các yêu cầu chi tiết đối với máy biến áp dùng trong các điều kiện sau đây:
a) Độ cao
Độ cao so với mực nước biển không quá 1 000 m
b) Nhiệt độ môi chất làm mát
Nhiệt độ không khí làm mát ở đầu vào thiết bị làm mát không vượt quá:
40 °C ở mọi thời điểm;
30 °C trung bình tháng của tháng nóng nhất;
...
...
...
và không thấp hơn
-25 °C trong trường hợp của máy biến áp ngoài trời;
-5 °C trong trường hợp của máy biến áp mà trong đó cả máy biến áp và bộ làm mát đều được thiết kế dùng cho hệ thống lắp đặt trong nhà.
Ở mọi thời điểm, trung bình tháng và trung bình năm được định nghĩa ở 3.12.
Người mua có thể chỉ định nhiệt độ cao hơn tối thiểu của môi chất làm mát trong trường hợp nhiệt độ tối thiểu của môi chất làm mát được nêu trên tấm thông số.
CHÚ THÍCH 1: Đoạn có nội dung phía trên nhằm mục đích cho phép sử dụng chất lỏng cách điện thay thế không đáp ứng các yêu cầu về nhiệt độ tối thiểu trong các trường hợp mà tại đó nhiệt độ tối thiểu -25 °C là không thích hợp.
Đối với máy biến áp được làm mát bằng nước, nhiệt độ của nước làm mát ở đầu vào không vượt quá
25 °C ở mọi thời điểm;
20 °C trung bình năm.
...
...
...
Các giới hạn khác liên quan đến làm mát đối với:
- máy biến áp ngâm trong chất lỏng, được đề cập trong TCVN 6306-2 (IEC 60076-2);
- máy biến áp kiểu khô, được đề cập trong TCVN 6306-11 (IEC 60076-11).
CHÚ THÍCH 2: Đối với máy biến áp có cả trao đổi nhiệt không khí/nước và nước/chất lỏng, nhiệt độ môi chất làm mát có liên quan đến nhiệt độ không khí bên ngoài nhiều hơn là nhiệt độ nước trong mạch làm mát trung gian mà nhiệt độ này có thể lớn hơn giá trị thông thường.
CHÚ THÍCH 3: Nhiệt độ liên quan ở đầu vào thiết bị làm mát chứ không phải là nhiệt độ không khí bên ngoài, điều này có nghĩa rằng người sử dụng cần thận trọng nếu việc lắp đặt có thể tạo ra các điều kiện trong đó có thể xảy ra sự tuần hoàn không khí từ đầu ra của bộ làm mát và cần được tính đến khi đánh giá nhiệt độ không khí làm mát.
c) Dạng sóng của điện áp nguồn cung cấp.
Điện áp của nguồn cung cấp có dạng sóng hình sin có thành phần sóng hài tổng không vượt quá 5 % và thành phần sóng hài bậc chẵn không vượt quá 1 %.
d) Thành phần sóng hài dòng điện tải
Thành phần sóng hài tổng của dòng điện tải không vượt quá 5 % dòng điện danh định.
...
...
...
CHÚ THÍCH 5: Máy biến áp có thể làm việc ở dòng điện danh định nhưng không bị suy giảm tuổi thọ quá mức với thành phần sóng hài dòng điện nhỏ hơn 5 %, tuy nhiên cần phải lưu ý rằng độ tăng nhiệt sẽ tăng đối với phụ tải sóng hài bất kỳ và có thể vượt quá độ tăng danh định.
e) Sự đối xứng của điện áp nguồn ba pha
Đối với máy biến áp ba pha, bộ các điện áp nguồn cung cấp ba pha là gần đối xứng. Gần đối xứng có nghĩa là điện áp pha - pha cao nhất liên tục không cao hơn quá 1 % so với điện áp pha - pha thấp nhất hoặc cao hơn không quá 2 % trong thời gian ngắn (xấp xỉ 30 min) trong các điều kiện đặc biệt.
f) Môi trường lắp đặt
Môi trường có mức ô nhiễm (xem IEC 60137 và IEC/TS 60815) không đòi hỏi phải có lưu ý đặc biệt đối với cách điện bên ngoài của sứ xuyên máy biến áp hoặc của chính máy biến áp.
Môi trường mà yêu cầu khi thiết kế không phải tính đến rủi ro động đất. (Điều này được giả định là trường hợp khi mức gia tốc mặt đất thấp hơn 2 m/s2, tức là xấp xỉ 0,2 g).Xem IEC 60068-3-3.
Trong trường hợp máy biến áp được lắp đặt trong vỏ bọc không được cung cấp từ nhà chế tạo máy biến áp, tách rời với thiết bị làm mát, ví dụ trong vỏ cách âm, thì nhiệt độ của không khí xung quanh máy biến áp không được vượt quá 40 °C ở mọi thời điểm.
Điều kiện môi trường trong các định nghĩa dưới đây áp dụng theo IEC 60721-3-4:1995:
- điều kiện khí hậu 4K2, ngoại trừ nhiệt độ môi chất làm mát bên ngoài thấp nhất là -25 °C;
...
...
...
- điều kiện sinh học 4B1;
- hoạt chất hóa học 4C2;
- hoạt chất cơ học 4S3;
- điều kiện về cơ 4M4;
Đối với máy biến áp được thiết kế để lắp đặt trong nhà, có thể không áp dụng một vài điều kiện trong số các điều kiện môi trường này.
5 Thông số đặc trưng và yêu cầu chung
5.1 Công suất danh định
5.1.1 Quy định chung
Công suất danh định đối với từng cuộn dây phải được quy định bởi người mua hoặc người mua phải cung cấp đủ thông tin cho nhà chế tạo để quyết định công suất danh định tại thời điểm yêu cầu.
...
...
...
Nếu ấn định giá trị công suất biểu kiến khác nhau trong các trường hợp khác nhau, ví dụ như có các phương pháp làm mát khác nhau, thì giá trị cao nhất của các giá trị này là công suất danh định.
Máy biến áp hai cuộn dây chỉ có một giá trị công suất danh định, giống nhau ở cả hai cuộn dây.
Đối với máy biến áp nhiều cuộn dây, người mua phải chỉ ra các phối hợp công suất-phụ tải yêu cầu, công bố, công suất tác dụng và công suất phản kháng, khi cần thiết.
Khi máy biến áp có điện áp danh định đặt vào cuộn dây sơ cấp và dòng điện danh định chạy qua các đầu nối của cuộn dây thứ cấp thì máy biến áp có công suất danh định ứng với cặp cuộn dây đó.
Khi làm việc liên tục, máy biến áp phải có khả năng mang công suất danh định (đối với máy biến áp nhiều cuộn dây: (các) tổ hợp quy định của (các) công suất danh định của cuộn dây)) trong các điều kiện liệt kê ở Điều 4 và không vượt quá giới hạn tăng nhiệt quy định trong TCVN 6306-2 (IEC 60076-2) đối với máy biến áp ngâm trong chất lỏng.
CHÚ THÍCH 1: Công suất danh định theo điều này được hiểu là giá trị của công suất biểu kiến đưa vào máy biến áp bao gồm cả sự tiêu thụ công suất tác dụng và công suất phản kháng của bản thân máy biến áp đó. Công suất biểu kiến mà máy biến áp cung cấp cho mạch điện nối với đầu nối của cuộn dây thứ cấp khi mang tải danh định là khác với công suất danh định. Điện áp trên các đầu nối thứ cấp là khác với điện áp danh định do có sụt áp (hoặc tăng áp) trên máy biến áp. Mức sụt áp cho phép có xét đến hệ số công suất có tải được nêu trong quy định kỹ thuật về điện áp danh định và dải điều chỉnh (xem Điều 7 của IEC 60076-8:1997).
Trong thực tế có thể có thêm các giá trị khác.
CHÚ THÍCH 2: Đối với máy biến áp nhiều cuộn dây, một nửa tổng số học của các giá trị công suất danh định của tất cả các cuộn dây (các cuộn dây riêng rẽ, không được nối theo kiểu tự ngẫu) cho phép ước lượng sơ bộ về kích thước vật lý so với máy biến áp hai cuộn dây.
5.1.2 Giá trị ưu tiên của công suất danh định
...
...
...
(...100, 125, 160, 200, 250, 315, 400, 500, 630, 800, 1 000, v.v...) kVA.
CHÚ THÍCH: Trong thực tế có thể có thêm các giá trị khác.
5.1.3 Công suất tối thiểu ở chế độ làm mát khác
Trong trường hợp người sử dụng có yêu cầu đặc biệt đối với công suất tối thiểu ở chế độ làm mát đặc biệt, khác với chế độ làm mát dùng cho công suất danh định thì điều này phải được nêu trong bản yêu cầu.
Khi làm việc liên tục, máy biến áp phải có khả năng mang công suất danh định (đối với máy biến áp nhiều cuộn dây: (các) tổ hợp quy định của (các) công suất danh định của cuộn dây)) trong các điều kiện liệt kê ở Điều 4 và không vượt quá giới hạn tăng nhiệt quy định trong TCVN 6306-2 (IEC 60076-2) đối với máy biến áp ngâm trong chất lỏng.
CHÚ THÍCH: Ví dụ về điều này khi máy biến áp được yêu cầu làm việc ở phần trăm nhỏ nhất riêng biệt của công suất danh định không có làm mát cưỡng bức (ONAN) trong trường hợp cho mất nguồn tự dùng.
5.1.4 Mang tải quá công suất danh định
Trong một số trường hợp, máy biến áp và các thành phần linh kiện của nó phù hợp với tiêu chuẩn này có khả năng mang tải quá công suất danh định. Phương pháp để tính tải cho phép có thể xem trong IEC 60076-7 đối với máy biến áp ngâm trong chất lỏng và IEC 60076-12 đối với máy biến áp kiểu khô.
Người mua phải quy định tất cả các yêu cầu cụ thể đối với khả năng mang tải quá công suất danh định hoạt động ở nhiệt độ môi chất làm mát cao hơn hoặc giảm giới hạn độ tăng nhiệt trong bản yêu cầu và trong hợp đồng. Tất cả các thử nghiệm bổ sung hoặc phép tính được yêu cầu để kiểm tra sự phù hợp với các yêu cầu cụ thể này cũng phải được quy định.
...
...
...
Sứ xuyên, bộ điều chỉnh theo nấc, máy biến dòng điện và thiết bị phụ trợ khác phải được lựa chọn để không làm hạn chế khả năng mang tải của máy biến áp.
CHÚ THÍCH 2: Tiêu chuẩn liên quan IEC 60137 đối với sứ xuyên và IEC 60214-1 đối với bộ chuyển đổi nấc điều chỉnh nên được tham khảo đối với khả năng mang tải của các thành phần này.
CHÚ THÍCH 3: Không áp dụng các quy định này cho các máy biến áp sử dụng với mục đích đặc biệt, những máy biến áp này không cần khả năng mang tải quá công suất danh định. Đối với các máy biến áp này, nếu có các yêu cầu về khả năng như trên thì cần có quy định riêng.
5.2 Chế độ làm mát
Người sử dụng phải chỉ ra môi chất làm mát (không khí hoặc nước).
Nếu người sử dụng có yêu cầu cụ thể đối với (các) phương pháp làm mát hoặc thiết bị làm mát thì phải nêu rõ trong bản yêu cầu.
Đối với thông tin bổ sung, xem TCVN 6306-2 (IEC 60076-2).
5.3 Ngắt tải khỏi máy biến áp nối trực tiếp vào máy phát
Máy biến áp, được thiết kế để nối trực tiếp vào máy phát có thể rơi vào tình trạng bị ngắt tải thì phải chịu được 1,4 lần điện áp danh định trong 5 s tại các đầu nối của máy biến áp mà máy phát được nối vào.
...
...
...
5.4.1 Điện áp danh định
Người mua phải quy định điện áp danh định hoặc đối với các ứng dụng đặc biệt, người mua phải cung cấp đủ thông tin để nhà chế tạo quyết định điện áp danh định ở thời điểm yêu cầu.
Máy biến áp phải được ấn định điện áp danh định cho từng cuộn dây, điện áp danh định phải được ghi trên tấm thông số.
5.4.2 Tần số danh định
Người mua phải quy định tần số danh định để có tần số không gây nhiễu thông thường của lưới điện.
Tần số danh định là cơ sở cho các giá trị được bảo đảm, ví dụ như tổn hao, trở kháng và độ ồn.
5.4.3 Làm việc ở điện áp cao hơn điện áp danh định và/hoặc ở tần số khác tần số danh định
Phương pháp để quy định giá trị điện áp danh định thích hợp và dải điều chỉnh thích hợp với một loạt các trường hợp phụ tải (công suất phụ tải, hệ số công suất, tương ứng với điện áp làm việc pha-pha) được quy định trong IEC 60076-8.
Trong phạm vi các giá trị quy định của Um, đối với các cuộn dây của máy biến áp, máy biến áp phải có khả năng vận hành liên tục tại công suất danh định mà không bị hỏng trong các điều kiện ‘bão hòa từ’ trong trường hợp tỷ số của điện áp trên tần số (V/Hz) vượt quá tỷ số tương ứng tại điện áp danh định và tần số danh định không quá 5 %, nếu không có quy định nào khác của người mua.
...
...
...
Ở dòng điện K lần dòng điện danh định của máy biến áp (0 ≤ K ≤ 1), phải giới hạn bão hòa từ theo công thức sau:
![]()
Nếu máy biến áp được cho vận hành ở V/Hz vượt quá các giá trị được nêu ở trên thì người mua phải chỉ rõ điều này trong bản yêu cầu.
5.5 Quy định về điều kiện làm việc không bình thường
Người mua phải chỉ rõ trong bản yêu cầu các điều kiện làm việc không nằm trong điều kiện làm việc bình thường. Ví dụ về các điều kiện này là:
- nhiệt độ môi chất làm mát bên ngoài nằm ngoài các giới hạn được quy định ở 4.2;
- thông gió bị hạn chế;
- độ cao so với mực nước biển vượt quá giới hạn được quy định ở 4.2;
- khói và hơi có hại;
...
...
...
- độ ẩm vượt quá giới hạn được quy định ở 4.2;
- nước nhỏ giọt;
- nhiễm mặn;
- bụi quá mức và bụi bào mòn;
- thành phần sóng hài cao của dòng điện tải vượt quá các yêu cầu của 4.2;
- méo dạng sóng điện áp nguồn vượt quá giới hạn của 4.2;
- quá độ do chuyển mạch tần số cao không bình thường, xem Điều 13;
- dòng điện một chiều xếp chồng;
- khả năng động đất đòi hỏi sự xem xét đặc biệt khác về thiết kế, xem 4.2;
...
...
...
- bức xạ mặt trời;
- sự gián đoạn cáp điện xảy ra quá 24 lần mỗi năm;
- ngắn mạch thường xuyên liên tục;
- V/Hz vượt quá giá trị của 5.4.3 ở trên;
- nếu máy biến áp tăng áp dùng cho máy phát được thiết kế để sử dụng ở chế độ hồi tiếp khi không được nối với máy phát không có bảo vệ trên phía điện áp thấp hơn;
- bảo vệ ăn mòn, theo loại hệ thống lắp đặt và môi trường lắp đặt (xem 4.2), người mua cần chọn cấp bảo vệ theo ISO 12944 hoặc có thỏa thuận giữa người mua và nhà chế tạo;
- điều kiện loại bỏ tải đối với máy biến áp dùng cho máy phát khắc nghiệt hơn các điều kiện được cho ở 5.3 trên.
Yêu cầu kỹ thuật của máy biến áp để vận hành trong điều kiện không bình thường như vậy phải có sự thỏa thuận giữa nhà cung cấp và người mua.
Yêu cầu bổ sung, trong giới hạn được chỉ định, đối với thông số đặc trưng và thử nghiệm của máy biến áp được thiết kế cho các điều kiện không phải điều kiện làm việc bình thường được liệt kê trong Điều 4, ví dụ như nhiệt độ cao của không khí làm mát hoặc độ cao so với mức nước biển cao hơn 1 000 m được nêu trong TCVN 6306-2 (IEC 60076-2).
...
...
...
Đối với đầu nối pha, nếu không có quy định nào khác của người mua, Um phải được lấy là giá trị thấp nhất nhưng lớn hơn điện áp danh định của từng cuộn dây đã cho trong TCVN 6306-3 (IEC 60076-3).
Đối với các cuộn dây của máy biến áp có điện áp cao nhất dùng cho thiết bị, lớn hơn (>) 72,5 kV thì người mua phải chỉ rõ, trong khi vận hành, cho dù đầu nối trung tính bất kỳ dùng cho cuộn dây cần được nối đất trực tiếp hay không, nếu không, người mua phải quy định Um dùng cho đầu nối trung tính.
Nếu không có quy định nào khác của người mua, mức thử nghiệm điện môi phải được lấy là giá trị ứng dụng thấp nhất theo Um, đã cho trong TCVN 6306-3 (IEC 60076-3).
5.7 Thông tin bổ sung được quy định trong bản yêu cầu
5.7.1 Phân loại máy biến áp
Người sử dụng phải quy định loại máy biến áp, ví dụ như, máy biến áp có cuộn dây riêng rẽ, máy biến áp tự ngẫu hoặc máy biến áp nối tiếp.
5.7.2 Cách đấu nối cuộn dây và số pha
Người sử dụng quy định cách đấu nối cuộn dây theo yêu cầu phù hợp với ký hiệu cho trong Điều 7 để phù hợp với ứng dụng.
Nếu cuộn dây ổn định nối tam giác được yêu cầu thì người mua phải quy định cuộn dây này. Đối với máy biến áp được nối sao-sao hoặc máy biến áp tự ngẫu, nếu thiết kế có mạch từ kín cho từ thông thứ tự không và không quy định cuộn dây nối tam giác thì yêu cầu phải được thảo luận giữa nhà chế tạo và người mua (xem IEC 60076-8).
...
...
...
Nếu có các yêu cầu về giới hạn cao và thấp đối với trở kháng thứ tự không thì người mua phải nêu rõ yêu cầu này và yêu cầu này có thể ảnh hưởng đến kết cấu của trụ và yêu cầu của cuộn dãy nối tam giác. Nếu các yêu cầu về thứ tự không đưa ra việc sử dụng cuộn dây nối tam giác mà không trực tiếp được quy định bởi người mua thì nhà chế tạo phải nêu rõ điều này trong hồ sơ đấu thầu.
Nếu không có quy định về cuộn dây nối tam giác thì nhà chế tạo máy biến áp không được sử dụng cuộn dây thử nghiệm nối tam giác trừ khi đã được thỏa thuận đặc biệt với người mua.
Nếu có yêu cầu đặc biệt đối với tổ máy biến áp một pha hoặc máy biến áp ba pha thì phải được quy định bởi người sử dụng; mặt khác nhà chế tạo phải nêu rõ trong hồ sơ đấu thầu về loại máy biến áp cần được cung cấp.
5.7.3 Độ ồn
Trong trường hợp người mua có yêu cầu cụ thể đối với độ ồn tối đa được bảo đảm thì yêu cầu phải được đưa ra trong bản yêu cầu và nên được biểu diễn bằng mức công suất âm thanh.
Nếu không có quy định nào khác thì độ ồn phải được lấy là độ ồn khi không tải với tất cả thiết bị làm mát cần thiết để đạt được công suất danh định khi vận hành. Nếu quy định chế độ làm mát khác (xem 5.1.3) thì độ ồn đối với từng chế độ khác nhau có thể được quy định bởi người mua và nếu được quy định thì phải được đảm bảo bởi nhà chế tạo và được đo trên thử nghiệm.
Độ ồn trong khi làm việc bị ảnh hưởng bởi dòng điện tải (xem IEC 60076-10). Nếu người mua yêu cầu thử nghiệm phép đo độ ồn của dòng điện tải hoặc sự đảm bảo của độ ồn tổng của máy biến áp, kể cả độ ồn khi mang tải, thì điều này phải được nêu trong bản yêu cầu.
Độ ồn được đo trong thử nghiệm theo IEC 60076-10 không được vượt quá độ ồn tối đa được đảm bảo. Độ ồn tối đa được đảm bảo là giới hạn không có dung sai.
5.7.4 Vận chuyển
...
...
...
Nếu áp dụng các giới hạn về kích thước và khối lượng vận chuyển thì giới hạn này phải được nêu trong bản yêu cầu.
Nếu áp dụng các điều kiện đặc biệt khác trong quá trình vận chuyển thì các điều kiện này phải được nêu trong bản yêu cầu. Điều này có thể bao gồm sự hạn chế khi vận chuyển có chất lỏng cách điện hoặc các điều kiện môi trường khác có thể xảy ra trong quá trình vận chuyển hơn các điều kiện được dự kiến trong quá trình làm việc.
5.7.4.2 Gia tốc vận chuyển
Máy biến áp phải được thiết kế và chế tạo để chịu được gia tốc không đổi tối thiểu bằng gia tốc trọng trường ở tất cả các hướng (ngoài gia tốc do trọng lực theo hướng thẳng đứng) mà không bị hỏng, được chứng minh bằng các tính toán lực tĩnh dựa trên giá trị gia tốc không đổi.
Nếu việc vận chuyển không thuộc trách nhiệm của nhà chế tạo và gia tốc vượt quá gia tốc trọng trường có khả năng xảy ra trong quá trình vận chuyển thì gia tốc và tần suất phải được xác định theo bản yêu cầu. Nếu khách hàng quy định gia tốc cao hơn thì nhà chế tạo phải chứng minh được sự phù hợp bằng cách tính toán.
Nếu máy biến áp được thiết kế để sử dụng như máy biến áp di động thì điều này phải được nêu rõ trong bản yêu cầu.
CHÚ THÍCH: Việc sử dụng bộ ghi va đập hoặc chấn động trong quá trình vận chuyển đối với máy biến áp kiểu lớn là thực tế chung.
5.8 Thành phần và vật liệu
Tất cả các thành phần và vật liệu được sử dụng trong kết cấu của máy biến áp phải phù hợp với yêu cầu của các tiêu chuẩn IEC liên quan trong trường hợp có các tiêu chuẩn này, nếu không phải được thỏa thuận hoặc quy định. Đặc biệt là sứ xuyên phải phù hợp với IEC 60137, bộ chuyển đổi nấc điều chỉnh phải phù hợp với IEC 60214-1 và chất lỏng cách điện phải phù hợp với IEC 60296 đối với dầu khoáng hoặc theo thỏa thuận đối với chất lỏng khác.
...
...
...
6.1 Quy định chung - Chỉ số dải điều chỉnh
Các điều dưới đây áp dụng cho máy biến áp mà trong đó chỉ có một trong các cuộn dây có nấc điều chỉnh.
Ở máy biến áp nhiều cuộn dây, các quy định này áp dụng cho tổ hợp giữa cuộn dây có nấc điều chỉnh với một trong số các cuộn dây không có nấc điều chỉnh.
Ở máy biến áp tự ngẫu, đôi khi nấc điều chỉnh được bố trí tại trung tính nghĩa là số lượng vòng dây hiệu quả được thay đổi đồng thời ở cả hai cuộn dây. Đối với các máy biến áp như vậy, các đặc trưng về nấc điều chỉnh phải được thỏa thuận. Các yêu cầu của điều này phải được sử dụng ở mức cao nhất có thể.
Nếu không có quy định khác, nấc điều chỉnh chính được đặt ở giữa dải điều chỉnh. Các nấc điều chỉnh khác được phân biệt bằng hệ số điều chỉnh của chúng, số lượng nấc điều chỉnh và phạm vi biến thiên của tỷ số máy biến áp có thể được biểu diễn ở dạng rút gọn bằng các sai lệch hệ số điều chỉnh tính bằng phần trăm so với giá trị 100 (xem định nghĩa các thuật ngữ, điều 3.5).
VÍ DỤ: Một máy biến áp có nấc điều chỉnh trên cuộn dây 160 kV với dải điều chỉnh là ±15 %, có 21 nấc điều chỉnh, đặt đối xứng nhau quanh điện áp danh định, được thiết kế như sau:
(160 ± 10 x 1,5 %) / 66 kV
Nếu dải điều chỉnh phân bố không đều quanh điện áp danh định, thì có thể biểu diễn như sau:
kV
...
...
...
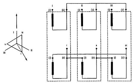
Một vài nấc điều chỉnh có thể là ‘nấc điều chỉnh giảm công suất’ do các hạn chế về điện áp hoặc dòng điện nấc điều chỉnh. Nấc điều chỉnh biên có sự hạn chế như trên gọi là ‘nấc điều chỉnh điện áp lớn nhất’ và ‘nấc điều chỉnh dòng điện lớn nhất’ (xem Hình 1a, Hình 1b và Hình 1c).
6.2 Điện áp nấc điều chỉnh - dòng điện nấc điều chỉnh. Các cấp tiêu chuẩn của điều chỉnh điện áp nấc điều chỉnh. Nấc điều chỉnh điện áp lớn nhất
Cách ký hiệu ngắn về dải điều chỉnh và nấc điều chỉnh chỉ ra khoảng biến thiên của tỷ số máy biến áp. Nhưng các giá trị ấn định của đại lượng nấc điều chỉnh không được xác định đầy đủ chỉ bằng cách ghi này. Cần có các thông tin bổ sung. Các thông tin này có thể được lấy từ bảng ghi công suất, điện áp và dòng điện nấc điều chỉnh cho mỗi nấc điều chỉnh hoặc bằng dòng chữ, chỉ ra ‘cấp điều chỉnh điện áp’ và giới hạn có thể của dải điều chỉnh trong đó các nấc điều chỉnh là ‘nấc điều chỉnh công suất đầy đủ’
Các cấp điều chỉnh điện áp nấc điều chỉnh được xác định như sau:
a) Điều chỉnh điện áp từ thông không đổi (CFVV).
Điện áp nấc điều chỉnh trong bất kỳ cuộn dây nào không có nấc điều chỉnh là không đổi khi chuyển đổi nấc điều chỉnh. Các điện áp nấc điều chỉnh trong cuộn dây có nấc điều chỉnh tỷ lệ thuận với hệ số điều chỉnh. Xem Hình 1a.
b) Điều chỉnh điện áp từ thông biến thiên (VFVV)
Điện áp nấc điều chỉnh trong các cuộn dây có nấc điều chỉnh là không đổi khi chuyển đổi nấc điều chỉnh. Các điện áp nấc điều chỉnh trong cuộn dây không có nấc điều chỉnh tỷ lệ nghịch với hệ số điều chỉnh. Xem Hình 1b.
c) Điều chỉnh điện áp tổ hợp (CbVV)
...
...
...
CFVV áp dụng cho các nấc điều chỉnh có hệ số điều chỉnh thấp hơn hệ số điều chỉnh điện áp lớn nhất.
VFVV áp dụng cho các nấc điều chỉnh có hệ số điều chỉnh cao hơn hệ số điều chỉnh điện áp lớn nhất.
Xem Hình 1c.

Hệ số điều chỉnh
Hình 1a - Điều chỉnh điện áp từ thông không đổi (CFVV)
Thể hiện nấc điều chỉnh dòng điện lớn nhất tùy chọn

Hệ số điều chỉnh
...
...
...
Thể hiện nấc điều chỉnh dòng điện lớn nhất tùy chọn

Hệ số điều chỉnh
Hình 1c - Điều chỉnh điện áp tổ hợp (CbVV)
Điểm chuyển đổi được thể hiện trong dải điều chỉnh cộng. Nó tương ứng với cả nấc điều chỉnh điện áp lớn nhất (UA) và nấc điều chỉnh dòng điện lớn nhất (IB không đổi và không tăng quá điểm chuyển đổi). Ngoài ra còn thể hiện cả nấc điều chỉnh dòng điện lớn nhất tùy chọn (trong dải CFVV).
CHÚ DẪN cho Hình 1a, Hình 1b và Hình 1c:
UA, IA điện áp và dòng điện nấc điều chỉnh trong cuộn dây có nấc điều chỉnh.
UB, IB điện áp và dòng điện nấc điều chỉnh trong cuộn dây không có nấc điều chỉnh.
SAB công suất nấc điều chỉnh.
...
...
...
1 chỉ các nấc điều chỉnh có công suất đầy đủ trên toàn bộ dải điều chỉnh.
2 chỉ ‘nấc điều chỉnh điện áp lớn nhất’, ‘nấc điều chỉnh dòng điện lớn nhất’ và dải điều chỉnh công suất giảm.
Hình 1 - Các kiểu điều chỉnh điện áp khác nhau
6.3 Công suất nấc điều chỉnh. Các nấc điều chỉnh công suất đầy đủ - các nấc điều chỉnh công suất giảm
Phải áp dụng yêu cầu dưới đây trừ khi điện áp và dòng điện ở mỗi nấc điều chỉnh được quy định khác.
Tất cả các nấc điều chỉnh phải là các nấc điều chỉnh công suất đầy đủ, có nghĩa là dòng điện nấc điều chỉnh danh định ở mỗi nấc điều chỉnh phải là công suất danh định được chia cho điện áp nấc điều chỉnh danh định ở từng nấc, trừ các nấc điều chỉnh có quy định dưới đây.
Ở các máy biến áp cuộn dây riêng biệt công suất đến và bằng 2 500 kVA có dải điều chỉnh không quá ± 5 %, dòng điện nấc điều chỉnh danh định tại tất cả các nấc điều chỉnh giảm phải bằng dòng điện nấc điều chỉnh danh định tại nấc điều chỉnh chính. Điều này có nghĩa là nấc điều chỉnh chính là ‘nấc điều chỉnh dòng điện lớn nhất’.
Ở các máy biến áp có dải điều chỉnh rộng hơn ± 5 %, có thể quy định giới hạn về giá trị của điện áp và dòng điện nấc điều chỉnh nếu không thì các giá trị này có thể tăng hơn giá trị danh định một cách đáng kể. Khi các giới hạn này được quy định thì các nấc điều chỉnh liên quan sẽ là ‘nấc điều chỉnh công suất giảm’. Điều khoản này quy định các cách bố trí này.
Khi hệ số điều chỉnh khác một, dòng điện nấc điều chỉnh đối với nấc điều chỉnh công suất đầy đủ có thể tăng quá dòng điện danh định ở một trong các cuộn dây. Như mô phỏng ở Hình 1a), hình này áp dụng cho nấc điều chỉnh giảm, trên cuộn dây có nấc điều chỉnh, loại CFVV, và đối với các nấc điều chỉnh tăng trên cuộn dây không có nấc điều chỉnh loại VFVV (Hình 1b)). Để hạn chế việc tăng cường tương ứng cho cuộn dây đang xét, có thể quy định nấc điều chỉnh dòng điện lớn nhất. Xuất phát từ nấc điều chỉnh này, các giá trị về dòng điện nấc điều chỉnh của cuộn dây phải giữ không đổi. Điều này có nghĩa là nấc điều chỉnh còn lại cho đến nấc điều chỉnh ngoài cùng là các nấc điều chỉnh công suất giảm (xem Hình 1a), Hình 1b) và Hình 1c)).
...
...
...
6.4 Quy định đối với các nấc điều chỉnh trong bản yêu cầu và đơn đặt hàng
6.4.1 Quy định chung
Người mua phải chỉ định các yêu cầu đối với nấc điều chỉnh theo 6.4.2 hoặc 6.4.3.
Người mua phải chỉ định nếu như bộ chuyển đổi nấc điều chỉnh hoặc các bộ chuyển đổi nấc điều chỉnh được thiết kế để vận hành khi mang tải hoặc khi ngắt điện.
Trong trường hợp điều chỉnh điện áp từ thông biến thiên VFVV được sử dụng, thì thường chỉ có khả năng đối với hệ số thiết kế để phù hợp với hệ số quy định ở hai vị trí trên dải điều chỉnh. Người mua phải chỉ rõ trong trường hợp hệ số thiết kế phù hợp với hệ số được quy định, ví dụ các nấc điều chỉnh biên, nấc điều chỉnh chính và nấc điều chỉnh tối đa hoặc nấc điều chỉnh phụ và nấc điều chỉnh tối thiểu. Nếu không có quy định nào khác thì hai nấc điều chỉnh biên phải là hệ số để phù hợp.
CHÚ THÍCH: Điều 6.4.2 yêu cầu người sử dụng chỉ định cuộn dây phải có nấc điều chỉnh và công suất nấc điều chỉnh cụ thể. Điều 6.4.3 chỉ ra toàn bộ các yêu cầu về điện áp và dòng điện và yêu cầu nhà chế tạo lựa chọn cuộn dây hoặc các cuộn dây phải có nấc điều chỉnh. Một yêu cầu kỹ thuật như vậy có thể dẫn đến sự đa dạng về thiết kế máy biến áp. IEC 60076-8 đưa ra chi tiết về các bố trí nấc điều chỉnh và tính điện áp rơi.
6.4.2 Quy định về kết cấu
Các dữ liệu sau đây là cần thiết để xác định thiết kế của máy biến áp:
a) cuộn dây phải có nấc điều chỉnh.
...
...
...
c) cấp điện áp điều chỉnh và nếu áp dụng điều chỉnh tổ hợp thì phải có điểm chuyển đổi (‘nấc điều chỉnh điện áp lớn nhất’, xem 6.2).
d) giới hạn dòng điện lớn nhất (nấc điều chỉnh công suất giảm) có áp dụng không, và nếu có thì phải chỉ ra áp dụng cho các nấc điều chỉnh nào.
Các mục c) và d) có thể thay bằng một bảng cùng loại như sử dụng trên tấm thông số đặc trưng cho thuận tiện (xem ví dụ trong Phụ lục B).
6.4.3 Quy định về chức năng
Quy định kỹ thuật loại này nhằm cho phép người mua chỉ định các yêu cầu hoạt động và không chỉ ra cấp điều chỉnh điện áp hoặc cuộn dây phải có nấc điều chỉnh.
Quy định kỹ thuật này không áp dụng cho máy biến áp cuộn dây riêng biệt có công suất đến và bằng 2 500 kVA có dải nấc điều chỉnh không vượt quá ± 5 %.
Ngoài điện áp danh định và công suất danh định được chỉ ra ở Điều 5, người mua phải đưa ra thông tin sau trong bản yêu cầu:
a) Hướng của luồng công suất (có thể là cả hai hướng)
b) Số nấc điều chỉnh và kích cỡ của nấc điều chỉnh được biểu diễn bằng phần trăm của điện áp danh định ở nấc điều chỉnh chính. Nếu dải điều chỉnh không đối xứng xung quanh nấc điều chỉnh chính thì điều này phải được chỉ ra. Nếu các nấc điều chỉnh không bằng nhau trên dải thì phải được chỉ ra.
...
...
...
c) Điện áp thay đổi đối với mục đích xác định điện áp nấc điều chỉnh danh định.
CHÚ THÍCH 2: Điện áp nấc điều chỉnh danh định là cần thiết để xác định cơ sở trở kháng đối với từng nấc điều chỉnh. Trong trường hợp chấp nhận quy định về chức năng thì có thể không sử dụng điện áp nấc điều chỉnh danh định để xác định công suất nấc điều chỉnh danh định.
d) Yêu cầu bất kỳ đối với việc cố định tỷ lệ vòng dây giữa hai cuộn dây cụ thể trên máy biến áp có nhiều hơn hai cuộn dây.
e) Hệ số công suất tải đầy đủ tối thiểu (hệ số này ảnh hưởng đến điện áp rơi của máy biến áp).
f) Nấc điều chỉnh bất kỳ hoặc dải điều chỉnh có thể là nấc điều chỉnh công suất giảm.
Nhà chế tạo phải lựa chọn cách bố trí các cuộn dây, cuộn hay hoặc các cuộn dây có nấc điều chỉnh. Máy biến áp phải có khả năng cung cấp dòng điện danh định trên cuộn dây thứ cấp ở tất cả các vị trí nấc điều chỉnh phù hợp với các điều kiện hoạt động ở trên, mà không vượt quá yêu cầu độ tăng nhiệt được chỉ định trong TCVN 6306-2 (IEC 60076-2).
Máy biến áp phải được thiết kế để chịu được điện áp và từ thông phát sinh do các điều kiện mang tải quy định ở trên mà không bị hỏng (kể cả tất cả các điều kiện quá tải quy định). Tính toán cho thấy rằng điều kiện này thỏa mãn phải được cung cấp cho người mua theo yêu cầu.
Ví dụ được đưa ra trong Phụ lục B (ví dụ 4).
Ngoài ra, bên sử dụng có thể đưa ra một loạt các trường hợp về phụ tải với các giá trị công suất tác dụng và công suất phản kháng (chỉ rõ hướng của dòng công suất), và điện áp có tải tương ứng. Các trường hợp này nên chỉ ra giá trị cao nhất của tỷ số điện áp ở công suất đầy đủ và giảm (xem ‘phương pháp sáu thông số’ của IEC 60076-8). Dựa trên các thông tin đó nhà chế tạo sẽ chọn cuộn dây có nấc điều chỉnh và quy định các đại lượng danh định và đại lượng điều chỉnh trong đề nghị gọi thầu. Phải đạt được thỏa thuận giữa nhà chế tạo và người mua về thiết kế của các đại lượng nấc điều chỉnh.
...
...
...
Đối với máy biến áp không có nấc điều chỉnh điện áp lớn hơn ± 5 % so với nấc điều chỉnh chính, trở kháng ngắn mạch của cặp cuộn dây chỉ được quy định tại nấc điều chỉnh chính, dưới dạng ôm cho mỗi pha hoặc dưới dạng tỷ lệ phần trăm z được qui về công suất danh định và điện áp danh định của máy biến áp (xem 3.7.1). Ngoài ra, trở kháng có thể được quy định theo một trong các phương pháp dưới đây.
Đối với máy biến áp có cuộn dây có nấc điều chỉnh điện áp vượt quá ± 5 % so với nấc điều chỉnh chính, giá trị trở kháng được biểu diễn là Z hoặc z phải được quy định đối với điều chỉnh chính và (các) điều chỉnh biên vượt quá 5 %. Trên các máy biến áp này, các giá trị của trở kháng cũng được đo trong quá trình trở kháng ngắn mạch và thử nghiệm tổn hao có tải (xem 11.4) và phải tuân thủ dung sai cho trong Điều 10. Nếu trở kháng được tính bằng tỷ lệ phần trăm z thì nó phải được qui về điện áp nấc điều chỉnh danh định (tại nấc điều chỉnh đó) và công suất danh định của máy biến áp (tại nấc điều chỉnh chính).
CHÚ THÍCH 1: Cách chọn giá trị trở kháng của người sử dụng có thể dẫn đến các đòi hỏi mâu thuẫn nhau: giới hạn sụt áp mâu thuẫn giới hạn quá dòng điện trong các điều kiện sự cố hệ thống. Tối ưu kinh tế của thiết kế về mặt xét đến tổn hao dẫn đến một dãy giá trị trở kháng nhất định. Khi vận hành song song với máy biến áp đã có đòi hỏi phải có sự phù hợp trở kháng (xem Điều 6 của IEC 60076-8:1997).
CHÚ THÍCH 2: Nếu bản yêu cầu không chỉ có quy định về trở kháng tại nấc điều chỉnh chính mà còn quy định cho cả sự biến thiên của nó suốt dải điều chỉnh thì điều này có nghĩa là có hạn chế khá quan trọng trong thiết kế (bố trí các cuộn dây có liên quan với nhau và kết cấu hình học của chúng). Yêu cầu kỹ thuật và thiết kế máy biến áp cũng cần tính đến các thay đổi lớn về trở kháng giữa các nấc điều chỉnh có thể làm giảm hoặc làm tăng quá mức ảnh hưởng của nấc điều chỉnh.
Trở kháng lớn nhất và nhỏ nhất khác dưới dạng z hoặc Z có thể quy định cho mỗi nấc điều chỉnh nằm trên toàn bộ dải điều chỉnh. Điều này có thể được thực hiện nhờ đồ thị hoặc bảng (Xem Phụ lục C) Các giới hạn biên phải ít nhất là đủ xa để cho phép dung sai hai phía của Điều 10 được áp dụng cho giá trị trung gian giữa chúng. Các giá trị đo được không được nằm ngoài giới hạn biên là các giới hạn không có sai số.
CHÚ THÍCH 3: Trở kháng lớn nhất và nhỏ nhất quy định cho phép dung sai trở kháng tối thiểu phải bằng với dung sai được cho ở Điều 10 nhưng trong trường hợp cần thiết có thể sử dụng dung sai chặt chẽ hơn theo thỏa thuận của nhà chế tạo và người mua.
CHÚ THÍCH 4: Dựa vào trở kháng trên điện áp nấc điều chỉnh danh định và công suất danh định của máy biến áp tại nấc điều chỉnh chính, nghĩa là mỗi liên hệ giữa ôm cho mỗi pha Z và tỷ lệ phần trăm của trở kháng z phải khác nhau đối với từng nấc điều chỉnh và cũng phụ thuộc vào cuộn dây có điều chỉnh điện áp quy định. Do đó cần lưu ý để đảm bảo rằng trở kháng quy định là chính xác. Điều này đặc biệt quan trọng đối với máy biến áp được quy định có công suất nấc điều chỉnh khác với công suất danh định tại nấc điều chỉnh chính.
6.6 Tổn hao có tải và độ tăng nhiệt
a) Nếu dải điều chỉnh nằm trong phạm vi ± 5 % và công suất danh định không quá 2 500 kVA thì đảm bảo tổn hao có tải và độ tăng nhiệt chỉ liên quan đến nấc điều chỉnh chính, và thử nghiệm độ tăng nhiệt thực hiện trên nấc điều chỉnh đó.
...
...
...
Thử nghiệm điển hình độ tăng nhiệt, nếu không có quy định nào khác, chỉ phải thực hiện trên một nấc điều chỉnh. Nếu không có thỏa thuận nào khác thì nấc điều chỉnh phải là ‘nấc điều chỉnh dòng điện lớn nhất’ (thường đó là nấc điều chỉnh có tổn hao tải cao nhất). Tổng tổn hao lớn nhất trên bất kì nấc điều chỉnh nào là công suất thử nghiệm để xác định độ tăng nhiệt của chất lỏng trong thử nghiệm độ tăng nhiệt, và dòng điện nấc điều chỉnh đối với nấc điều chỉnh đã chọn là dòng điện chuẩn để xác định độ tăng nhiệt của cuộn dây tăng cao hơn độ tăng nhiệt chất lỏng. Để biết các thông tin về các thử nghiệm và qui tắc liên quan đến độ tăng nhiệt của máy biến áp kiểu ngâm trong chất lỏng, xem TCVN 6306-2 (IEC 60076-2).
Về nguyên tắc, thử nghiệm điển hình về độ tăng nhiệt phải chứng tỏ rằng thiết bị làm mát là đủ để tản nhiệt do tổn hao tổng lớn nhất trên nấc điều chỉnh bất kì, và độ tăng nhiệt cao hơn nhiệt độ môi chất làm mát bên ngoài của cuộn dây bất kì, ở bất kỳ nấc điều chỉnh nào không vượt quá giá trị lớn nhất quy định.
CHÚ THÍCH 1: Đối với máy biến áp tự ngẫu, dòng điện lớn nhất ở cuộn dây nối nối tiếp và cuộn dây nối chung thường ở hai vị trí nấc điều chỉnh khác nhau. Do đó vị trí nấc điều chỉnh trung gian có thể được chọn đối với thử nghiệm để cho phép đáp ứng các yêu cầu của TCVN 6306-2 (IEC 60076-2) trên cả hai cuộn dây trong thử nghiệm tương tự.
CHÚ THÍCH 2: Đối với một số bố trí nấc điều chỉnh, cuộn dây nấc điều chỉnh không mang dòng điện ở vị trí nấc điều chỉnh dòng điện lớn nhất. Do đó, nếu độ tăng nhiệt của cuộn dây nấc điều chỉnh cần được xác định, có thể lựa chọn nấc điều chỉnh khác hoặc có thể thỏa thuận thử nghiệm thêm.
7 Ký hiệu đấu nối và độ lệch pha
7.1 Ký hiệu đấu nối và độ lệch pha đối với máy biến áp ba pha và máy biến áp một pha được nối trong tổ máy ba pha
7.1.1 Ký hiệu đấu nối
Kiểu nối sao, tam giác hoặc ziczac của bộ các cuộn dây pha của máy biến áp ba pha hoặc các cuộn dây có cùng điện áp của các máy biến áp một pha kết hợp thành tổ máy biến áp ba pha, được chỉ ra bằng các chữ in hoa Y, D hoặc Z đối với cuộn dây điện áp cao (HV) và chữ nhỏ y, d hoặc z đối với cuộn dây điện áp trung gian hoặc cuộn dây điện áp thấp (LV).
Nếu điểm trung tính của cuộn dây nối sao hoặc nối ziczac được đưa ra ngoài phải đánh dấu là YN (yn) hoặc ZN (zn) tương ứng. Điều này cũng áp dụng cho máy biến áp mà trong đó đầu nối trung tính dùng cho từng cuộn dây pha được đưa ra riêng rẽ nhưng được nối cùng nhau để tạo điểm trung tính trong khi làm việc.
...
...
...
Cuộn dây hở trong máy biến áp ba pha (không được nối chung với nhau trong máy biến áp nhưng các đầu ra của mỗi cuộn dây pha được đưa ra các cực, ví dụ các cuộn dây pha nối nối tiếp và máy biến áp lệch pha) được đánh dấu là III (HV), hoặc iii (cuộn dây điện áp trung gian hoặc cuộn dây điện áp thấp).
Các ký hiệu bằng chữ dùng cho các cuộn dây khác nhau của máy biến áp được ghi lại theo thứ tự giảm dần của điện áp danh định không phụ thuộc vào luồng công suất được thiết kế. Chữ tương ứng với kiểu đấu nối của cuộn dây đối với cuộn dây điện áp thấp và điện áp trung gian bất kỳ được ghi ngay sau góc lệch pha ‘chỉ số giờ’ (xem định nghĩa 3.10.6).
Các ví dụ về tổ nối dây thông dụng cùng với sơ đồ đấu nối được chỉ ra ở Phụ lục D.
7.1.2 Ký hiệu độ lệch pha theo chỉ số giờ
Áp dụng ký hiệu quy ước sau.
Sơ đồ đấu nối thể hiện cuộn dây điện áp cao ở trên, và cuộn dây điện áp thấp ở dưới. (Hướng của điện áp cảm ứng được đặt trên phần cao hơn của cuộn dây như được chỉ ra trên Hình 2.)
Sơ đồ véctơ cuộn dây điện áp cao hướng theo pha I chỉ 12 h. Véctơ của pha I của cuộn dây điện áp thấp hướng theo quan hệ điện áp cảm ứng sinh ra từ cách đấu nối trên. Ký hiệu chỉ số giờ là giờ trên điểm điện áp thấp.
Chiều quay của sơ đồ véctơ ngược chiều kim đồng hồ, theo thứ tự I-Il-III.
CHÚ THÍCH: Cách đánh số này là tùy chọn. Ghi nhãn các đầu nối trên máy biến áp theo thói quen của từng nước. Có thể xem hướng dẫn ở IEC/TR 60616.
...
...
...
7.1.3 Cuộn dây không được thiết kế để mang tải
Khi có cuộn dây ổn định hoặc cuộn dây thử nghiệm (cuộn dây nối tam giác hoặc nối sao không có cực đưa ra cho phụ tải ba pha bên ngoài) được chỉ ra bằng ký hiệu ‘+d’ hoặc ‘+y’ cùng với cách đấu nối cuộn dây ngay sau ký hiệu của cuộn dây có thể mang tải, như ví dụ dưới đây:
Ký hiệu: YNa0+d. hoặc YNa0+y.
7.1.4 Cuộn dây có thể đấu nối lại
Nếu máy biến áp được quy định cách đấu nối thay đổi được thì điện áp ghép nối thay thế và cách đấu nối phải được ghi trong ngoặc đơn ngay sau cách đấu nối đã cho như được chỉ ra theo ví dụ dưới đây:
Nếu cuộn dây điện áp cao có thể là 220 kV hoặc 110 kV (điện áp kép) nhưng yêu cầu đấu nối sao cho cả hai điện áp này và máy biến áp được cho ở cấu hình 220 kV và cuộn dây điện áp thấp 10,5 kV được nối tam giác:
Ký hiệu: YNd11 220 (110)/10,5 kV
Nếu cuộn dây điện áp thấp có thể là 11 kV ở đấu nối sao và 6,35 kV ở đấu nối tam giác và máy biến áp có cấu hình nối sao ở 11 kV và cuộn dây điện áp cao được nối sao 110 kV:
Ký hiệu: YNy0 (d11) 110/11 (6,35) kV
...
...
...
Ký hiệu: YNd11 (d1) 110/11 kV
7.1.5 Ví dụ
Ví dụ được thể hiện ở dưới và các biểu diễn hình học được thể hiện trên Hình 2 và Hình 3.

Hình 2 - Minh họa ký hiệu “chỉ số giờ”
- Máy biến áp có cuộn dây điện áp cao danh định 20 kV, nối tam giác. Cuộn dây điện áp thấp danh định 400 V nối sao có trung tính đưa ra ngoài. Cuộn dây điện áp thấp (LV) chậm sau cuộn dây điện áp cao (HV) 330°.
Ký hiệu: Dyn11 20 000/400 V
- Máy biến áp ba cuộn dây có điện áp danh định của cuộn dây điện áp cao là 123 kV nối sao có trung tính đưa ra ngoài. Cuộn dây điện áp trung gian 36 kV nối sao có trung tính đưa ra ngoài, cùng pha với cuộn dây cao áp nhưng không nối tự ngẫu và cuộn dây thứ ba 7,2 kV nối tam giác, chậm sau 150°.
Ký hiệu: YNyn0d5 123 / 36 / 7,2 kV
...
...
...
Ký hiệu: YNa0d11 ![]()
Nếu cuộn dây nối tam giác ba đầu nối pha không được đưa ra ngoài mà chỉ được dùng như cuộn dây ổn định thì ký hiệu phải chỉ ra điều này bằng dấu cộng. Không có ký hiệu lệch pha áp dụng cho cuộn dây ổn định.
Ký hiệu: YNa0+d ![]()
Ký hiệu này cũng giống như máy biến áp tự ngẫu ba pha mà bên trong có cùng cách đấu nối, ngoại trừ ký hiệu điện áp. Xem ví dụ dưới đây.
- Máy biến áp tự ngẫu ba pha được thiết kế có cuộn dây điện áp cao 400 kV và cuộn dây điện áp trung gian 130 kV cùng cuộn dây thứ ba 22 kV. Các cuộn dây nối tự ngẫu được nối sao còn cuộn dây thứ ba được nối tam giác. Cuộn dây nối tam giác chậm hơn cuộn dây điện áp cao 330°.
Ký hiệu: YNa0d11 400 / 130 / 22 kV
- Nếu cuộn dây nối tam giác ba đầu nối pha không được đưa ra ngoài mà chỉ được dùng như cuộn dây ổn định thì ký hiệu phải chỉ ra điều này bằng dấu cộng. Không có ký hiệu lệch pha áp dụng cho cuộn dây ổn định.
Ký hiệu: YNa0+d 400 / 130 / 22 kV
- Máy biến áp tăng áp dùng cho máy phát ba pha được thiết kế dùng cho mạng 20 kV và phía máy phát 8,4 kV. Cuộn dây nối đến máy phát được nối tam giác, còn cuộn dây phía lưới điện được nối sao. Cuộn dây nối tam giác chậm hơn cuộn dây điện áp cao 330°.
...
...
...

Hình 3 - Minh họa về ký hiệu ‘chỉ số giờ’ đối với máy biến áp có cuộn dây hở mạch
- Máy biến áp ba pha được thiết kế cho cuộn dây điện áp cao 20 kV nối tam giác và có cuộn dây hở mạch 10 kV.
Ký hiệu: Diii 20 / 10kV
- Máy biến áp ba pha ba cuộn dây được thiết kế để cuộn dây điện áp cao 220 kV được nối sao có cuộn dây hở mạch 40 kV và cuộn dây thứ ba 10 kV được nối tam giác.
Ký hiệu YNiiid5 220 / 40 / 10 kV
- Máy biến áp nối tiếp ba pha được thiết kế cho mạng 400 kV và có cuộn dây kích thích 40 kV được nối tam giác.
Ký hiệu: IIId 400/40kV
7.2 Ký hiệu về đấu nối và độ lệch pha đối với máy biến áp một pha không nằm trong tổ máy ba
...
...
...
Cách đấu nối bộ các cuộn dây pha của máy biến áp một pha được chỉ thị bằng chữ cái in hoa I đối với cuộn dây điện áp cao (HV) và chữ nhỏ i đối với cuộn dây điện áp trung gian và điện áp thấp (LV).
Các ký hiệu bằng chữ dùng cho các cuộn dây khác nhau của máy biến áp được ghi lại theo thứ tự giảm dần của điện áp danh định không phụ thuộc vào luồng công suất được thiết kế. Chữ tương ứng với kiểu đấu nối của cuộn dây điện áp trung gian và điện áp thấp bất kỳ được ghi ngay sau gốc lệch pha ‘chỉ số giờ’ (xem định nghĩa 3.10.6).
Đối với cặp cuộn dây nối tự ngẫu, ký hiệu của cuộn dây điện áp thấp được thay bằng chữ cái a.
7.2.2 Ký hiệu độ lệch pha theo chỉ số giờ
Chỉ số giờ của máy biến áp một pha được xác định như đối với máy biến áp ba pha nhưng nếu cả hai cuộn dây ở cùng pha thì chỉ 0 h hoặc 6 h nếu hai cuộn dây ngược pha nhau.
7.2.3 Cuộn dây không được thiết kế để mang tải
Khi có cuộn dây thử nghiệm hoặc cuộn dây bổ sung, không có cực đưa ra cho phụ tải bên ngoài, được chỉ ra bằng ký hiệu ‘+i’ ngay sau ký hiệu của cuộn dây có thể mang tải, như ví dụ dưới đây:
Ký hiệu: Ii0+i
7.2.4 Cuộn dây có thể đấu nối lại
...
...
...
- Nếu cuộn dây điện áp cao có thể có điện áp 220 kV hoặc 110 kV (điện áp kép) nhưng có cùng cách đấu nối được quy định đối với cả hai điện áp
Ký hiệu: Ii0 220 (110) / 27,5 kV
- Nếu cuộn dây điện áp thấp có thể là 11 kV khi cả hai cuộn dây ở cùng pha và 5,5 kV khi hai cuộn dây ngược pha và máy biến áp được cho cấu hình cùng pha ở 11 kV và cuộn dây điện áp cao là 110 kV:
Ký hiệu: Ii0 (i6) 110 / 11 (5,5) kV
- Nếu nhóm véctơ điện áp thấp có thể cấu hình lại mà không thay đổi điện áp danh định (11 kV ở ví dụ này) và máy biến áp được cho ở i0 và cuộn dây điện áp cao 110 kV:
Ký hiệu: Ii0 (i6) 110 / 11 kV
Ví dụ
Ví dụ được biểu diễn dưới đây và một vài biểu đồ của chúng được thể hiện trên Hình 4.
Áp dụng các quy ước tương tự như trong Hình 2.
...
...
...
Hình 4 - Minh họa về ký hiệu ‘chỉ số giờ’
- Máy biến áp có cuộn dây điện áp cao danh định 20 kV, cuộn dây điện áp thấp có điện áp danh định 400 V, cuộn dây điện áp thấp có cùng pha với cuộn dây điện áp cao.
Ký hiệu: Ii0 20 000 / 400 V
- Máy biến áp ba cuộn dây: có cuộn dây điện áp cao (HV) 123 kV, cuộn dây điện áp trung gian 36 kV, cùng pha với cuộn dây điện áp cao nhưng không được nối tự ngẫu và cuộn dây thứ ba 7,2 kV, chậm sau 180°.
Ký hiệu: Ii0i6 123 / 36 / 7,2 kV
- Máy biến ấp tự ngẫu một pha được thiết kế cho cuộn dây điện áp cao 400 kV và cuộn dây điện áp trung gian 130 kV cùng cuộn dây thứ ba 22 kV ở cùng pha
Ký hiệu: Ia0i0 400 /130 / 22 kV
- Nếu cuộn dây thứ ba không được thiết kế để mang tải thì ký hiệu phải chỉ ra điều này bằng dấu cộng. Không có ký hiệu lệch pha áp dụng cho cuộn dây thứ ba.
Ký hiệu: Ii0+i 400 / 130 / 22 kV
...
...
...
8.1 Quy định chung
Máy biến áp phải có tấm thông số đặc trưng làm bằng vật liệu chịu được thời tiết, gắn vào vị trí dễ thấy, chỉ ra các hạng mục phù hợp dưới đây. Các điều ghi trên tấm này phải không tẩy xóa được.
8.2 Thông tin cần cho mọi trường hợp
a) Loại máy biến áp (ví dụ máy biến áp, máy biến áp tự ngẫu, máy biến áp nối tiếp, v.v...).
b) Số hiệu tiêu chuẩn.
c) Tên nhà chế tạo, quốc gia và thành phố mà máy biến áp được lắp ráp.
d) Số sêri của nhà chế tạo.
e) Năm sản xuất.
f) Số pha.
...
...
...
h) Tần số danh định (tính bằng Hz).
i) Điện áp danh định (tính bằng V hoặc kV) và dải điều chỉnh.
j) Dòng điện danh định (tính bằng A hoặc kA).
k) Ký hiệu đấu nối độ lệch pha
l) Trở kháng ngắn mạch, giá trị đo được tính bằng phần trăm. Đối với máy biến áp nhiều cuộn dây, phải nêu một số trở kháng cho tổ hợp khác nhau của hai cuộn dây với giá trị công suất chuẩn tương ứng. Đối với máy biến áp có cuộn dây có nấc điều chỉnh, xem thêm 6.5 và điểm b) của 8.3.
m) Kiểu làm mát. (Nếu máy biến áp được quy định một số phương pháp làm mát, thì giá trị công suất tương ứng có thể biểu thị bằng phần trăm của công suất danh định, ví dụ ONAN/ONAF 70/100 %.)
n) Khối lượng tổng.
o) Khối tượng và loại chất lỏng cách điện tham khảo theo tiêu chuẩn liên quan.
p) Công suất hoặc dòng điện ngắn mạch lớn nhất của hệ thống được sử dụng để xác định khả năng chịu đựng của máy biến áp nếu có giới hạn.
...
...
...
8.3 Thông tin bổ sung cần được nêu ra nếu áp dụng được
Thông tin được liệt kê dưới đây phải có trên tấm thông số khi thông tin này áp dụng được cho máy biến áp đặc biệt.
a) Đối với máy biến áp có một hoặc nhiều cuộn dây có ‘điện áp cao nhất dùng cho thiết bị’ Um bằng hoặc lớn hơn 3,6 kV:
- cách ký hiệu ngắn của mức cách điện (điện áp chịu thử) như mô tả trong TCVN 6306-3 (IEC 60076-3).
b) Ấn định nấc điều chỉnh
- Đối với máy biến áp có điện áp danh định cao nhất nhỏ hơn hoặc bằng 72,5 kV và có công suất danh định nhỏ hơn hoặc bằng 20 MVA (ba pha) hoặc 6,7 MVA (một pha) có dải điều chỉnh không quá ± 5 %, điện áp nấc điều chỉnh trên cuộn dây điều chỉnh đối với tất cả các nấc điều chỉnh.
- Đối với các máy biến áp khác
• bảng công bố điện áp nấc điều chỉnh và điện áp nấc điều chỉnh làm việc lớn nhất cho phép, dòng điện nấc điều chỉnh, công suất nấc điều chỉnh và cách đấu nối bên trong đối với tất cả các nấc điều chỉnh
• bảng thể hiện giá trị trở kháng ngắn mạch đối với nấc điều chỉnh chính và ít nhất là các nấc điều chỉnh biên tính bằng % theo công suất chuẩn.
...
...
...
- Nếu máy biến áp được thiết kế để lắp đặt ở độ cao so với mực nước biển là lớn, độ tăng nhiệt (giảm bớt) đối với công suất danh định ở điều kiện nhiệt độ môi chất làm mát bên ngoài bình thường.
- Nếu máy biến áp được thiết kế cho điều kiện nhiệt độ môi chất làm mát bên ngoài bình thường, công suất danh định đối với độ tăng nhiệt được bảo đảm trong điều kiện nhiệt độ môi chất làm mát bên ngoài bình thường
d) Sơ đồ đấu nối (trong các trường hợp mà ký hiệu đấu nối không đưa ra đầy đủ thông tin cho cách đấu nối bên trong). Nếu cách đấu nối có thể thay đổi được bên trong máy biến áp, điều này phải được chỉ ra trong cùng tấm thông số, tấm thông số đặc trưng riêng hoặc với tấm thông số đặc trưng kép hoặc hai mặt. Phải chỉ ra cách đấu nối phù hợp khi giao nhận. Trong trường hợp điện trở hoặc cầu chảy không tuyến tính được sử dụng bên trong máy biến áp thì vị trí và cách đấu nối thiết bị này phải được thể hiện trên tấm sơ đồ nối cùng ký hiệu các đầu nối. Các chỉ thị về máy biến dòng lắp trong phải được biểu diễn trên sơ đồ.
e) Khối lượng vận chuyển (nếu có sai lệch so với tổng khối lượng).
f) Khối lượng một máy (đối với các máy biến áp có tổng khối lượng lớn hơn 5 tấn).
g) Khả năng chịu độ chân không của thùng máy và của bình chứa dầu, bộ chuyển đổi nấc điều chỉnh và thiết bị làm mát.
h) Đối với máy biến áp có nhiều cuộn dây, bất kì hạn chế nào đối với sự kết hợp công suất - tải.
i) Đối với máy biến áp được trang bị bộ chỉ thị nhiệt độ cuộn dây (WTI), giá trị đặt cho từng WTI. Thông thường nó là chỉ thị độ lệch giữa nhiệt độ điểm nóng của cuộn dây ở công suất danh định và nhiệt độ cao nhất của chất lỏng tính được từ kết quả thử nghiệm độ tăng nhiệt. Nếu quy định nhiều hơn một phương pháp làm mát thì có thể yêu cầu các chế độ đặt khác nhau cho từng phương pháp làm mát.
j) Đối với tất cả các máy biến dòng được lắp đặt bên trong máy biến áp, vị trí, (các) tỷ số, cấp chính xác và công suất danh định (thông số VA) của máy biến dòng.
...
...
...
Ngoài tấm thông số đặc trưng chính với các thông tin nêu trên, máy biến áp còn mang các tấm có đặc trưng và nhận dạng của các thiết bị phụ trợ theo các tiêu chuẩn cho các thiết bị này (sứ xuyên, bộ chuyển đổi theo nấc, máy biến dòng điện, thiết bị làm mát đặc biệt).
9 Yêu cầu về an toàn, môi trường và các yêu cầu khác
9.1 Yêu cầu về an toàn và môi trường
9.1.1 Rò rỉ chất lỏng
Nhà chế tạo máy biến áp phải xem xét việc ngăn chặn hiệu quả các chất lỏng của máy biến áp và đưa ra biện pháp hiệu quả để ngăn rò rỉ. Việc xem xét phải đưa ra được các hạng mục hoạt động dài hạn ví dụ như:
- thiết kế mối nối;
- vật liệu làm miếng đệm;
- hàn;
- ngăn ngừa ăn mòn.
...
...
...
9.1.2 Xem xét về an toàn
Nhà chế tạo phải xem xét sự an toàn của người vận hành và nhân viên bảo trì theo thiết kế máy biến áp cụ thể là các vấn đề sau:
- khả năng tiếp cận các bộ phận có nhiệt độ cao;
- khả năng tiếp cận bộ phận mang điện;
- khả năng tiếp cận bộ phận chuyển động;
- quy định về nâng hạ và vận chuyển;
- tiếp cận để bảo trì trong trường hợp yêu cầu bảo trì;
- làm việc ở độ cao.
Trong trường hợp quá trình lắp đặt có thể ảnh hưởng đến một trong các vấn đề nêu trên, phải cung cấp kết cấu lắp đặt phù hợp với máy biến áp.
...
...
...
9.2 Kích thước của đầu nối trung tính
Dây trung tính và đầu nối của máy biến áp được thiết kế để mang tải giữa dây pha và dây trung tính (ví dụ, máy biến áp phân phối) phải có kích thước phù hợp với dòng điện tải và dòng điện chạm đất (xem IEC 60076-8).
Dây trung tính và đầu nối trung tính của máy biến áp nếu không được thiết kế để mang tải thì giữa dây pha và trung tính phải được thiết kế để chịu được dòng điện chạm đất như thể máy biến áp được nối đất trực tiếp.
9.3 Hệ thống chứa chất lỏng
Đối với các máy biến áp ngâm trong chất lỏng, loại hệ thống chứa chất lỏng phải được quy định trong bản yêu cầu và đơn đặt hàng. Nếu không được qui định thì nhà chế tạo phải chỉ định hệ thống chứa chất lỏng trong hồ sơ thầu. Hệ thống chứa chất lỏng được chia thành các loại sau:
- Hệ thống thông hơi tự do hoặc hệ thống bảo toàn trong trường hợp có sự lưu thông tự do giữa không khí môi trường và không khí trên bề mặt lớp chất lỏng ở trong thùng máy hoặc trong bình dầu phụ riêng biệt (hệ thống bảo toàn). Bộ hút ẩm thường được lắp ở chỗ nối đến không khí bên ngoài.
- Hệ thống chứa chất lỏng kiểu màng chắn hoặc kiểu túi mềm khi có giãn nở về thể tích của không khí ở áp suất khí quyển bên trên lớp chất lỏng nhưng ngăn chặn tiếp xúc trực tiếp với chất lỏng bằng màng chắn dẻo hoặc bằng túi mềm. Bộ hút ẩm được lắp ở chỗ nối đến không khí bên ngoài.
- Hệ thống khí trơ có áp suất, trong đó thể tích giãn nở ở trên lớp chất lỏng chứa đầy khí trơ khô có áp suất dư yếu và được nối liền với một nguồn áp suất khống chế được hoặc nối liền với một túi mềm đàn hồi.
- Hệ thống vỏ máy kín có một đệm khí, trong đó thể tích khí trên bề mặt lớp chất lỏng trong vỏ cứng hấp thụ sự giãn nở do thay đổi áp suất.
...
...
...
Kích cỡ của hệ thống bảo toàn hoặc giãn nở phải đủ để hấp thu sự thay đổi về thể tích chất lỏng từ nhiệt độ môi trường lạnh nhất khi máy biến áp bị ngắt điện đến nhiệt độ chất lỏng trung bình cao nhất khi máy biến áp mang tải đến mức cao nhất được quy định theo hướng dẫn mang tải trong IEC 60076-7 đối với dầu khoáng hoặc như được quy định đối với chất lỏng làm mát khác.
CHÚ THÍCH: Cho phép có thay đổi về hệ số giãn nở nhiệt có thể xảy ra đối với các chất lỏng khác có cùng kiểu hệ thống chứa.
9.4 Dòng điện một chiều trong mạch điện trung tính
Máy biến áp có dây trung tính được nối đất có thể bị ảnh hưởng do dòng điện một chiều chạy qua dây trung tính. Ví dụ, dòng điện một chiều có thể được sinh ra từ:
- hệ thống kéo một chiều;
- hệ thống bảo vệ catốt;
- hệ thống chỉnh lưu;
- dòng điện cảm ứng địa từ (GIC).
Trong trường hợp máy biến áp phải chịu dòng điện một chiều ở dây trung tính thì độ dịch chuyển từ hóa một chiều của mạch từ sẽ được tạo ra. Dòng điện từ hóa trở nên không đối xứng một cách rõ ràng và có thành phần sóng hài cao. Kết quả có thể có là:
...
...
...
- rơle hoạt động sai lệch và cơ cấu nhả bị lỗi;
- quá nhiệt do từ thông phụ;
- gia tăng đáng kể về dòng điện từ hóa;
- tăng tổn hao không tải.
Hiện tượng phụ thuộc vào khả năng của dòng điện một chiều để từ hóa lõi và phụ thuộc vào thiết kế lõi. Các ảnh hưởng của kết quả trên là chức năng của cường độ và khoảng thời gian của dòng điện một chiều, loại lõi và các đặc tính chung thiết kế máy biến áp.
Nếu máy biến áp có thể chịu dòng điện một chiều thì mức của dòng điện này phải được nêu trong bản yêu cầu của người mua cùng với các giới hạn quy định về hậu quả của các mức dòng điện này. Xem thêm 4.11 trong IEC 60076-8:1997.
9.5 Ghi nhãn về trọng lực trung tâm
Trọng lực trung tâm của máy biến áp trong cấu hình vận chuyển phải được ghi nhãn cố định trên tối thiểu hai cạnh liền kề của máy biến áp đối với máy biến áp có khối lượng vận chuyển vượt quá 5 tấn.
10 Dung sai
...
...
...
Vì vậy cần phải có dung sai để bảo đảm cho các giá trị quy định và giá trị thiết kế.
Máy biến áp được xem là phù hợp với tiêu chuẩn này khi các đại lượng có quy định dung sai không nằm ngoài các dung sai được cho trong Bảng 1. Khi dung sai về một phía nào đó không có thì không hạn chế giá trị về phía đó.
Điều này chỉ dùng cho mục đích chấp nhận hoặc loại bỏ và không nhằm thay thế sự bảo đảm được quy định của người mua đối với mục đích đánh giá kinh tế (ví dụ như hình phạt về tổn hao). Điều này không được ưu tiên trên các giới hạn bất kỳ nào được quy định trong bản yêu cầu.
Bảng 1 - Dung sai
Hạng mục
Dung sai
1. a) Tổng tổn hao Xem CHÚ THÍCH 1
b) Tổn hao thành phần đo được Xem CHÚ THÍCH 1
+10 % của tổng tổn hao
...
...
...
2. Tỷ số điện áp đo được không tải tại nấc điều chỉnh chính đối với cặp cuộn dây đầu tiên đã quy định hoặc nấc điều chỉnh biên, nếu được quy định
Giá trị nhỏ hơn của các giá trị dưới đây:
a) ± 0,5 % của tỷ số công bố
b) ± 1/10 của trở kháng phần trăm thực trên nấc điều chỉnh chính
Tỷ số điện áp đo được trên các nấc điều chỉnh khác, của cùng cặp cuộn dây đó
± 0,5 % giá trị thiết kế của tỷ lệ vòng dây
Tỷ số điện áp đo được của các cặp cuộn dây khác
± 0,5 % giá trị thiết kế của tỷ lệ vòng dây
3. Trở kháng ngắn mạch cho:
...
...
...
- mỗi cặp cuộn dây quy định đầu tiên riêng biệt ở máy biến áp nhiều cuộn dây
a) nấc điều chỉnh chính
Khi giá trị trở kháng ≥ 10 %
± 7,5 % của giá trị công bố
Khi giá trị trở kháng < 10 %
± 10 % của giá trị công bố
b) nấc điều chỉnh khác của cặp cuộn dây
Khi giá trị trở kháng ≥ 10 %
...
...
...
Khi giá trị trở kháng < 10 %
± 15 % của giá trị công bố
4. Trở kháng ngắn mạch đo được cho:
- cặp cuộn dây tự đấu nối, hoặc
- một cặp cuộn dây quy định thứ hai tách biệt nhau của một máy biến áp nhiều cuộn dây.
a) nấc điều chỉnh chính
b) nấc điều chỉnh khác của cặp cuộn dây đó
± 10 % của giá trị công bố
...
...
...
- các cặp cuộn dây khác
Theo thỏa thuận nhưng ≥ 15 %
5. Dòng điện không tải đo được
+30 % của giá trị công bố
CHÚ THÍCH 1: Dung sai về tổn hao của máy biến áp nhiều cuộn dây áp dụng cho từng cặp cuộn dây trừ khi trong giấy bảo hành chỉ ra rằng chúng được áp dụng cho điều kiện phụ tải cho trước.
CHÚ THÍCH 2: Với một số máy biến áp tự ngẫu và máy biến áp nối tiếp, trở kháng nhỏ cần cân đối cho một dung sai rộng hơn. Các máy biến áp có dải điều chỉnh lớn, đặc biệt là đối với máy biến áp mà dải điều chỉnh không đối xứng, cũng có thể đòi hỏi sự cân nhắc đặc biệt. Mặc khác, ví dụ, khi máy biến áp được tổ hợp từ các đơn vị có sân từ trước, có thể phải chứng minh để xác định và đi đến thỏa thuận về dung sai trở kháng hẹp hơn. Các vấn đề của dung sai đặc biệt cần được chỉ ra trong bản yêu cầu, và dung sai đã xem xét lại phải được thỏa thuận giữa nhà chế tạo và người mua.
11 Thử nghiệm
11.1 Yêu cầu chung đối với thử nghiệm thường xuyên, thử nghiệm điển hình và thử nghiệm đặc biệt
11.1.1 Quy định chung
...
...
...
Các thử nghiệm phải được thực hiện ở nhiệt độ môi chất làm mát bên ngoài trong phạm vi từ 10 °C đến 40 °C. Xem TCVN 6306-2 (IEC 60076-2) về thử nghiệm độ tăng nhiệt.
Các thử nghiệm phải được thực hiện tại xưởng của nhà chế tạo, nếu không có thỏa thuận khác giữa nhà chế tạo và người mua.
Tất cả các linh kiện và phụ kiện bên ngoài mà có thể gây ảnh hưởng đến tính năng của máy biến áp trong thử nghiệm phải được lắp đúng vị trí.
Nếu máy biến áp không thể được lắp đặt trong điều kiện làm việc dự kiến của nó để thử nghiệm (ví dụ nếu máy biến áp được lắp cùng tháp thử nghiệm và sứ xuyên thử nghiệm hoặc bố trí thiết bị làm mát không thể lắp vào đúng vị trí làm việc, trong quá trình thử nghiệm liên quan tại nhà máy), phải có thỏa thuận giữa nhà chế tạo và người mua trước khi bắt đầu thử nghiệm. Nếu có bất kỳ giới hạn nào được biết đến trong giai đoạn đấu thầu thì nhà chế tạo phải làm rõ các giới hạn này.
Nếu máy biến áp được thiết kế để giao hàng cùng với sứ xuyên chất lỏng/SF6, theo thỏa thuận giữa nhà chế tạo và người mua, thử nghiệm có thể được thực hiện với sứ xuyên chất lỏng/không khí tương đương thay thế miễn là đầu ngâm chất lỏng của sứ xuyên thử nghiệm giống với sứ xuyên làm việc và sứ xuyên thử nghiệm tối thiểu được thử nghiệm đến mức tương tự như máy biến áp.
Cuộn dây có nấc điều chỉnh phải được nối ở nấc điều chỉnh chính của chúng, trừ khi thử nghiệm liên quan yêu cầu khác hoặc nếu không có thỏa thuận khác giữa nhà chế tạo và người mua.
Cơ sở thử nghiệm đối với tất cả các đặc tính ngoại trừ đặc tính cách điện là điều kiện danh định, trừ khi quy định thử nghiệm chỉ ra khác.
Toàn bộ hệ thống đo dùng cho thử nghiệm phải được công nhận, có độ chính xác rõ ràng và phải được hiệu chuẩn định kỳ theo qui tắc của TCVN ISO 9001.
Các yêu cầu đặc trưng về độ chính xác và kiểm định hệ thống đo được quy định trong bộ IEC 60060 và IEC 60076-8.
...
...
...
a) đối với máy biến áp kiểu khô: nhiệt độ chuẩn phải theo các yêu cầu chung cho thử nghiệm trong TCVN 6306-11 (IEC 60076-11).
b) đối với máy biến áp ngâm trong chất lỏng có độ tăng nhiệt trung bình danh định của cuộn dây nhỏ hơn hoặc bằng 65 °C đối với OF hoặc ON hoặc 70 °C đối với OD;
1) nhiệt độ chuẩn là 75 °C;
2) theo yêu cầu của khách hàng, nhiệt độ chuẩn là độ tăng nhiệt trung bình danh định của cuộn dây + 20 °C, hoặc độ tăng nhiệt trung bình danh định của cuộn dây + nhiệt độ trung bình môi chất làm mát bên ngoài hàng năm, chọn nhiệt độ nào cao hơn;
c) Đối với máy biến áp ngâm trong chất lỏng có độ tăng nhiệt trung bình danh định khác của cuộn dây, nhiệt độ chuẩn bằng với độ tăng nhiệt trung bình danh định của cuộn dây + 20 °C, hoặc độ tăng nhiệt trung bình danh định của cuộn dây + nhiệt độ trung bình môi chất làm mát bên ngoài hàng năm, chọn nhiệt độ nào cao hơn.
Nếu người mua muốn so sánh giữa các tổn hao của máy biến áp trong nhiệt độ loại b với máy biến áp theo nhiệt độ loại a) và c) (có hệ thống lắp đặt khác và có độ tăng nghiệt trung bình của cuộn dây khác nhau) thì so sánh này là cần thiết cho nhiệt độ chuẩn để xác định theo mục b) 2 ở trên. Nếu người mua muốn làm một so sánh như vậy thì phải nêu rõ trong bản yêu cầu về đấu thầu.
CHÚ THÍCH 1: Đối với các thiết kế hiện nay, sự chuyển đổi giữa các tổn hao ở nhiệt độ chuẩn khác được thực hiện bằng phép tính. Chuyển đổi này không được thiết kế cho bất kỳ thử nghiệm điển hình nào, kể cả thử nghiệm độ tăng nhiệt, cũng cần được lặp lại riêng rẽ như kết quả của việc thay đổi nhiệt độ chuẩn.
CHÚ THÍCH 2: Đối với nhiệt độ môi chất làm mát trung bình bên ngoài hàng năm, có sự chênh lệch đáng kể hơn 20 °C, tổn hao thực tế xảy ra trong khi làm việc có thể khác so với các tổn hao có được tại nhiệt độ chuẩn. Các tổn hao thực tế xảy ra trong khi làm việc sẽ phụ thuộc cả vào tải và nhiệt độ.
Máy biến áp ngâm trong chất lỏng phải được thử nghiệm với cùng loại và cùng đặc tính kỹ thuật của chất lỏng mà sẽ sử dụng cho máy biến áp trong quá trình làm việc.
...
...
...
Tất cả các phép đo và thử nghiệm đòi hỏi nguồn tần số công suất phải được thực hiện với tần số nguồn nằm trong khoảng 1 % tần số danh định của máy biến áp. Dạng sóng của điện áp nguồn phải sao cho thành phần sóng hài tổng không vượt quá 5 %. Nếu không đáp ứng điều kiện này thì ảnh hưởng của dạng sóng lên tham số đo được phải được đánh giá bởi nhà chế tạo và sự chấp thuận của người mua. Phép đo tổn hao không cần điều chỉnh xuống để xét đến các sóng hài trong điện áp nguồn trừ khi được cho phép trong 11.5. Trong trường hợp sử dụng nguồn ba pha, điện áp nguồn phải đối xứng. Điện áp lớn nhất qua từng cuộn dây pha trong thử nghiệm không được sai lệch quá 3 % so với điện áp nhỏ nhất.
Nhà chế tạo phải nêu rõ việc không thể thực hiện các thử nghiệm hoặc phép đo ở tần số danh định của nhà chế tạo ở giai đoạn đấu thầu và các hệ số chuyển đổi thích hợp đã thỏa thuận.
Danh sách các thử nghiệm dưới đây không nằm trong bất kỳ đơn đặt hàng cụ thể nào. Nếu người mua đòi hỏi các thử nghiệm phải được thực hiện theo đơn hàng cụ thể thì điều này phải bao gồm trong bản yêu cầu.
11.1.2 Thử nghiệm thường xuyên
11.1.2.1 Thử nghiệm thường xuyên đối với tất cả các máy biến áp
a) Đo điện trở cuộn dây (11.2).
b) Đo tỷ số điện áp và kiểm tra độ lệch pha (11.3).
c) Đo trở kháng ngắn mạch và tổn hao có tải (11.4).
d) Đo tổn hao không tải và dòng điện không tải (11.5).
...
...
...
f) Các thử nghiệm trên bộ chuyển đổi theo nấc điều chỉnh khi có tải, nếu thích hợp(11.7).
g) Thử nghiệm rò rỉ khi chịu áp suất đối với máy biến áp ngâm trong chất lỏng (thử nghiệm độ kín) (11.8).
h) Thử nghiệm độ kín và thử nghiệm áp suất đối với thùng máy dùng cho máy biến áp chứa khí (tham khảo theo IEC 60076-15).
i) Kiểm tra tỷ số và cực tính của máy biến dòng lắp sẵn.
j) Kiểm tra hệ thống cách điện lõi và khung đối với máy biến áp ngâm trong chất lỏng có cách điện lõi hoặc cách điện khung (11.12).
11.1.2.2 Thử nghiệm thường xuyên đối với máy biến áp có Um> 72,5 kV
a) Xác định điện dung của cuộn dây với đất và giữa các cuộn dây.
b) Đo điện trở cách điện một chiều d.c giữa từng cuộn dây với đất và giữa các cuộn dây.
c) Đo hệ số tiêu tán (tan δ) của điện dung hệ thống cách điện.
...
...
...
e) Đo tổn hao không tải và dòng điện không tải ở 90 % và 110 % điện áp danh định (11.5).
11.1.3 Thử nghiệm điển hình
a) Thử nghiệm độ tăng nhiệt (TCVN 6306-2 (IEC 60076-2)).
b) Thử nghiệm điển hình của điện môi (TCVN 6306-3 (IEC 60076-3)).
c) Xác định độ ồn (IEC 60076-10) đối với từng phương pháp làm mát mà trong đó quy định độ ồn đảm bảo.
d) Đo công suất lấy từ quạt và động cơ bơm chất lỏng.
e) Đo tổn hao không tải và dòng điện không tải ở 90 % và 110 % điện áp danh định.
11.1.4 Thử nghiệm đặc biệt
a) Thử nghiệm đặc biệt của điện môi (TCVN 6306-3 (IEC 60076-3)).
...
...
...
c) Xác định điện dung cuộn dây với đất và giữa các cuộn dây.
d) Đo hệ số tiêu tán (tan δ) của điện dung hệ thống cách điện.
e) Xác định đặc tính truyền điện áp quá độ (Phụ lục B của TCVN 6306-3:2006 (IEC 60076-3:2000)
f) Đo (các) trở kháng thứ tự không của máy biến áp ba pha (11.6).
g) Thử nghiệm khả năng chịu ngắn mạch (TCVN 6306-5 (IEC 60076-5)).
h) Đo điện trở cách điện một chiều d.c của từng cuộn dây với đất và giữa các cuộn dây.
i) Thử nghiệm độ lệch chân không trên máy biến áp ngâm trong chất lỏng (11.9).
j) Thử nghiệm độ lệch áp suất trên máy biến áp ngâm trong chất lỏng (11.10).
k) Thử nghiệm độ kín chân không tại chỗ trên máy biến áp ngâm trong chất lỏng (11.11).
...
...
...
m) Kiểm tra lớp phủ bên ngoài (ISO 2178 và ISO 2409 hoặc như đã quy định).
n) Đo khí hòa tan trong chất lỏng điện môi.
o) Thử nghiệm cơ hoặc đánh giá thùng máy thích hợp để vận chuyển (theo quy định của khách hàng).
p) Xác định trọng lượng với máy biến áp được bố trí để vận chuyển. Đối với máy biến áp có công suất lên đến 1,6 MVA thì xác định trọng lượng bằng phép đo. Đối với máy biến áp lớn hơn thì xác định bằng phép đo hoặc tính toán theo thỏa thuận giữa nhà chế tạo và người mua.
Các thử nghiệm khác cho máy biến áp có thể được nêu trong tài liệu cụ thể đối với máy biến áp chuyên dụng như loại khô, tự bảo vệ và các nhóm khác.
Nếu phương pháp thử nghiệm không được nêu trong tiêu chuẩn này, hoặc nếu các thử nghiệm khác các thử nghiệm được liệt kê ở trên được quy định trong hợp đồng thì các phương pháp thử nghiệm này phải theo thỏa thuận.
11.2 Đo điện trở cuộn dây
11.2.1 Quy định chung
Điện trở của mỗi cuộn dây, các đầu nối giữa chúng phải được đo và nhiệt độ của các cuộn dây phải được ghi lại. Phải dùng dòng điện một chiều cho phép đo này.
...
...
...
11.2.2 Máy biến áp kiểu khô
Trước khi đo, nhiệt độ môi chất làm mát bên ngoài không thay đổi quá 3 °C trong ít nhất 3 h và tất cả các nhiệt độ của cuộn dây máy biến áp được đo bằng cảm biến nhiệt độ lắp trong, không được chênh lệch so với nhiệt độ môi chất làm mát bên ngoài quá 2 °C.
Điện trở và nhiệt độ của cuộn dây phải được đo cùng một lúc. Nhiệt độ cuộn dây phải được đo bằng cảm biến đặt tại vị trí tiêu biểu, tốt nhất là đặt trong nhóm các cuộn dây, ví dụ như trong một khe giữa cuộn dây điện áp cao và cuộn dây điện áp thấp.
11.2.3 Máy biến áp kiểu ngâm trong chất lỏng
Sau khi máy biến áp không mang điện được ngâm trong chất Iỏng 3 h, phải xác định nhiệt độ chất lỏng trung bình và nhiệt độ của cuộn dây phải được xem là bằng nhiệt độ chất lỏng trung bình. Nhiệt độ chất lỏng trung bình được lấy bằng trung bình của nhiệt độ điểm trên cùng và điểm dưới cùng của chất lỏng.
Trong khi đo điện trở nguội để xác định độ tăng nhiệt, phải thực hiện các nỗ lực đặc biệt để xác định chính xác nhiệt độ trung bình của cuộn dây. Vì vậy, chênh lệch nhiệt độ giữa điểm trên cùng và điểm dưới cùng của chất lỏng không được vượt quá 5 °C. Để đạt được kết quả này nhanh hơn, có thể dùng bơm để cho chất lỏng tuần hoàn.
11.3 Đo tỷ số điện áp và kiểm tra độ lệch pha
Tỷ số điện áp phải được đo trên mỗi nấc điều chỉnh. Phải kiểm tra cực tính của các máy biến áp một pha và ký hiệu đấu nối của máy biến áp ba pha. Nếu sử dụng phép đo điện áp thì điện áp của cả hai cuộn dây phải được đo đồng thời.
11.4 Đo trở kháng ngắn mạch và tổn hao có tải
...
...
...
Giá trị đo của tổn hao có tải phải nhân với bình phương của tỷ số dòng điện danh định (dòng điện nấc điều chỉnh) và dòng điện thử nghiệm. Giá trị đạt được cần phải được qui về nhiệt độ-chuẩn (11.1). Tổn hao I2R (R là điện trở đo bằng dòng điện một chiều) được lấy khi thay đổi trực tiếp nhiệt độ và tất cả các tổn hao khác thay đổi ngược với nhiệt độ cuộn dây. Cách đo điện trở cuộn dây phải được thực hiện theo 11.2. Quy trình hiệu chỉnh nhiệt độ được nêu trong phụ lục E.
Trở kháng ngắn mạch được thể hiện bằng điện kháng và điện trở xoay chiều nối tiếp nhau. Trở kháng này được qui về nhiệt độ chuẩn với giả thiết rằng điện kháng là hằng số và điện trở xoay chiều sinh ra từ tổn hao có tải thay đổi như trình bày ở trên.
Ở máy biến áp có cuộn dây có nấc điều chỉnh với dải điều chỉnh vượt quá ± 5 %, trở kháng ngắn mạch phải được đo trên nấc điều chỉnh chính và hai nấc điều chỉnh biên.
Đối với máy biến áp có nấc điều chỉnh vượt quá điều chỉnh điện áp 5 % so với nấc điều chỉnh chính, giá trị trở kháng phải được đo ở nấc điều chỉnh chính và ở (các) nấc điều chỉnh biên lớn hơn 5 %. Phép đo tại các vị trí nấc điều chỉnh khác có thể được quy định trong bản yêu cầu.
Nếu dải điều chỉnh không đối xứng, nếu người mua yêu cầu thì cũng phải thực hiện phép đo trên nấc điều chỉnh giữa.
Ở máy biến áp có ba cuộn dây, cách đo được thực hiện trên ba tổ hợp của từng hai cuộn dây khác nhau. Kết quả được tính lại cho trở kháng và tổn hao của mỗi cuộn dây riêng (xem IEC 60076-8). Tổn hao tổng của các trường hợp mang tải quy định gồm tất cả các cuộn dây này được xác định một cách tương ứng.
CHÚ THÍCH 1: Đối với các máy biến áp có hai cuộn dây thứ cấp có cùng công suất danh định và điện áp danh định và trở kháng bằng với cuộn sơ cấp (đôi khi gọi là ‘máy biến áp có cuộn dây thứ cấp kép’), có thể thỏa thuận để khảo sát trường hợp phụ tải đối xứng theo một thử nghiệm thêm bằng cách nối tắt đồng thời hai cuộn dây thứ cấp.
CHÚ THÍCH 2: Cách đo tổn hao có tải trên máy biến áp lớn đòi hỏi phải thận trọng và với thiết bị đo tốt vì máy biến áp lớn có hệ số công suất thấp và dòng điện thử nghiệm thường lớn. Nên tối thiểu hóa các lỗi và tổn hao mạch điện bên ngoài. Việc hiệu chỉnh đối với các sai số máy biến áp đo lường và đối với điện trở của các mạch nối thử nghiệm phải được áp dụng trừ khi chúng thực sự không đáng kể (xem IEC 60076-8).
11.5 Đo tổn hao và dòng điện không tải
...
...
...
Máy biến áp phải ở xấp xỉ nhiệt độ môi trường nhà máy chế tạo.
Đối với máy biến áp ba pha, việc chọn cuộn dây và cách đấu nối với nguồn công suất thử nghiệm phải được thực hiện để cung cấp điện áp hình sin và đối xứng đến mức có thể qua ba dây quấn.
Điện áp thử nghiệm phải được điều chỉnh theo một vônmét đo giá trị trung bình của điện áp nhưng phải được khắc độ để đọc được giá trị hiệu dụng của điện áp có dạng sóng hình sin có cùng giá trị trung bình. Giá trị đọc được từ vônmét này là U’.
Đồng thời, vônmét đo giá trị hiệu dụng của điện áp phải được nối song song với vônmét đo giá trị trung bình và điện áp U mà vônmét này chỉ phải được ghi lại.
Khi thử nghiệm máy biến áp ba pha, phải đo điện áp giữa các đầu nối pha, nếu cuộn dây nối tam giác được đóng điện và giữa đầu nối pha và đầu nối trung tính nếu cuộn dây nối YN hoặc ZN được đóng điện.
Điện áp pha-pha có thể được lấy từ phép đo pha-đất, nhưng điện áp pha-trung tính không được lấy từ phép đo pha-pha.
Dạng sóng điện áp thử nghiệm là thỏa mãn nếu giá trị đọc U’ và U là bằng nhau với dung sai trong phạm vi 3 %. Nếu chênh lệch giữa các giá trị đọc từ vônmét lớn hơn 3 % thì tính hợp lí của thử nghiệm cần được thỏa thuận. Chênh lệch lớn hơn có thể được chấp nhận ở điện áp cao hơn điện áp danh định trừ khi phép đo này được bảo đảm.
CHÚ THÍCH 1: Nhận thấy rằng các máy biến áp một pha công suất lớn thường đòi hỏi điều kiện mang tải nặng nề nhất đối với độ chính xác của nguồn điện áp thử nghiệm.
Tổn hao không tải đo được là Pm, và tổn hao không tải hiệu chỉnh được lấy bằng:
...
...
...
(thường là âm)
Giá trị hiệu dụng của dòng điện không tải được đo đồng thời với tổn hao. Đối với máy biến áp ba pha, phải lấy giá trị đọc trung bình của ba pha.
Tổn hao không tải không cần hiệu chỉnh theo ảnh hưởng bất kỳ của nhiệt độ.
CHÚ THÍCH 2: Khi chọn địa điểm thử nghiệm không tải theo quy trình thử nghiệm hoàn chỉnh, nên chú ý là các phép đo tổn hao không tải tiến hành trước các thử nghiệm xung và/hoặc phép đo điện trở, nói chung có tính điển hình của mức tổn hao trung bình khi máy vận hành trong thời gian dài, giả định rằng lõi không bị từ hóa trước. Nghĩa là, nếu thực hiện thử nghiệm không tải sau phép đo điện trở và/hoặc thử nghiệm xung sét, cần phải khử từ lõi của máy biến áp bằng cách kích thích quá mức trước khi thực hiện thử nghiệm không tải.
11.6 Đo (các) trở kháng thứ tự không trên máy biến áp ba pha
Trở kháng thứ tự không được đo tại tần số danh định
giữa các đầu nối pha của cuộn dây nối sao hoặc nối ziczac nối với
nhau, và đầu nối trung tính của nó. Trở kháng này được tính bằng ôm cho mỗi pha và được tính
bằng
, trong đó U là điện áp thử
nghiệm và I là dòng điện
thử nghiệm.
Phải nêu dòng điện thử nghiệm mỗi pha
là
trong báo cáo thử nghiệm.
Phải đảm bảo rằng dòng điện trong dây trung tính tương ứng với khả năng mang dòng của dây trung tính đó.
Trong trường hợp máy biến áp có cuộn dây phụ nối tam giác, giá trị của dòng điện thử nghiệm phải sao cho dòng điện trong cuộn dây nối tam giác đó không được quá lớn, có tính đến thời gian duy trì dòng điện.
...
...
...
Trong trường hợp máy biến áp có nhiều hơn một cuộn dây nối sao có đầu nối trung tính, trở kháng thứ tự không phụ thuộc vào cách đấu nối (xem 3.7.3) và các thử nghiệm được thực hiện phải có thỏa thuận giữa nhà chế tạo và người mua.
Đối với máy biến áp tự ngẫu và máy biến áp YY, cần thực hiện một vài phối hợp thử nghiệm:
- HV với hở mạch LV;
- HV với ngắn mạch LV
- LV với hở mạch HV;
- LV với ngắn mạch HV.
Đối với máy biến áp YD, trở kháng thứ tự không chỉ được đo từ phía Y.
Máy biến áp tự ngẫu có đầu nối trung tính dùng để nối đất cố định phải được xem như là các máy biến áp bình thường có hai cuộn dây nối sao. Vì vậy, cuộn dây nối tiếp và cuộn dây chung cùng tạo thành một mạch đo và riêng cuộn dây chung tạo thành một mạch đo khác. Các phép đo được thực hiện với dòng điện không vượt quá hiệu các dòng điện danh định giữa phía điện áp thấp và phía điện áp cao.
CHÚ THÍCH 1: Trong điều kiện không có cuộn dây cân bằng các ampe vòng, quan hệ giữa điện áp và dòng điện thường không tuyến tính. Trong trường hợp này, một số phép đo có giá trị dòng điện khác nhau có thể cho các thông tin hữu dụng.
...
...
...
CHÚ THÍCH 3: Thử nghiệm trở kháng thứ tự không bổ sung có thể được yêu cầu đối với máy biến áp có cuộn dây nối tam giác với hai đầu nối của góc delta được đưa ra ngoài sao cho hai đầu này có thể hở mạch hoặc nối với nhau.
CHÚ THÍCH 4: Hướng dẫn thêm được nêu trong IEC 60076-8.
11.7 Thử nghiệm trên các bộ chuyển đổi nấc điều chỉnh có tải - Thử nghiệm vận hành
Khi bộ chuyển đổi nấc điều chỉnh đã được lắp hoàn chỉnh vào máy biến áp, thứ tự thao tác sau đây phải được tiến hành không có sự cố:
a) với máy biến áp không mang điện, có tám chu trình làm việc hoàn chỉnh (một chu trình làm việc đi từ một đầu của dải điều chỉnh đến đầu kia của dải điều chỉnh và quay ngược trở lại.)
b) với máy biến áp không mang điện, và với điện áp phụ giảm bằng 85 % điện áp danh định của máy biến áp đó, có một chu trình làm việc hoàn chỉnh.
c) với máy biến áp đã đóng điện ở điện áp và tần số danh định trong trạng thái không tải, có một chu trình làm việc hoàn chỉnh.
d) với một cuộn dây nối tắt, dòng điện trong cuộn dây có nấc điều chỉnh càng gần dòng điện danh định càng tốt, 10 thao tác chuyển đổi nấc điều chỉnh qua khoảng cách của hai nấc về mỗi phía, kể từ vị trí mà ở đó bộ lựa chọn chuyển đổi thô hoặc bộ lựa chọn chuyển đổi đổi chiều hoạt động hoặc bắt đầu từ nấc điều chỉnh giữa (bộ chuyển đổi nấc điều chỉnh phải trải qua vị trí chuyển đổi 20 lần).
11.8 Thử nghiệm rò rỉ khi chịu áp suất đối với máy biến áp ngâm trong chất lỏng (thử nghiệm độ kín)
...
...
...
11.9 Thử nghiệm xác định biến dạng do chân không đối với máy biến áp ngâm trong chất lỏng
Thử nghiệm này có thể áp dụng được cho các máy biến áp được thiết kế để tạo đầy chân không trong thùng chứa của chính máy biến áp đặt tại chỗ.
Nói chung, các biến áp này được vận chuyển khi không có chất lỏng.
Trong trường hợp được quy định, biến dạng của thùng chứa khi chân không được đưa vào và biến dạng vĩnh viễn khi chân không được lấy ra, phải được đo.
Tiến hành thử nghiệm trên máy biến áp khi nó hoàn thiện trong tất cả các khía cạnh liên quan và trên tất cả các ngăn chứa đòi hỏi phải hút chân không tại chỗ.
Trước khi hút chân không, điểm đo tham chiếu thích hợp được gắn cứng vào kết cấu phòng thử nghiệm hoặc sàn, không thuộc máy biến biến áp, phải được thiết lập càng gần điểm mà tại đó có khả năng có biến dạng chân không lớn nhất có thể trên thùng chứa. Khoảng cách từ điểm tham chiếu đến vách thùng chứa theo hướng pháp tuyến với vách thùng chứa, phải được đo và ghi lại.
Sau khi hút chân không đến mức quy định đối với hoạt động tại chỗ, đo lại khoảng cách từ điểm chuẩn đến vách thùng chứa theo hướng pháp tuyến với vách. Biến dạng chân không là chênh lệch giữa phép đo này và phép đo đầu tiên.
Sau đó chân không được rút ra và thực hiện phép đo thứ ba về khoảng cách từ điểm tham chiếu đến vách thùng chứa theo hướng pháp tuyến đến vách thùng chứa. Biến dạng vĩnh viễn là chênh lệch giữa phép đo này và phép đo đầu tiên.
Phương pháp đo tương đương khác có thể được sử dụng và phép đo bổ sung ở phía đối diện máy biến áp có thể được quy định để bù đắp đối với sự dịch chuyển của thùng chứa trong quá trình thử nghiệm.
...
...
...
a) máy biến áp dải trung bình nằm giữa 20 MVA và 100 MVA;
• biến dạng cố định sau khi loại bỏ chân không: 1 mm;
b) máy biến áp công suất lớn (có các vách thùng chứa phẳng), trên 100 MVA:
• biến dạng cố định sau khi loại bỏ chân không: 5 mm.
Nếu giá trị mong muốn bị vượt quá thì lặp lại thử nghiệm để xem nếu kích thước thùng chứa đã được ổn định. Nếu không, phải có các hành động khắc phục, ví dụ như làm tăng độ cứng cho thùng chứa.
11.10 Thử nghiệm biến dạng áp suất đối với máy biến áp ngâm trong chất lỏng
Trong trường hợp được quy định, phải đo biến dạng của thùng chứa khi đặt áp suất và biến dạng cố định của thùng chứa khi áp suất được thoát ra. Không áp dụng thử nghiệm này đối với thùng chứa được thiết kế đặc biệt cần linh hoạt cho việc giãn nở chất lỏng (lượn sóng).
Tiến hành thử nghiệm trên máy biến áp khi nó hoàn thiện trong tất cả các khía cạnh liên quan và được đổ đầy chất lỏng. Tiến hành thử nghiệm trên tất cả các ngăn chứa riêng rẽ có chứa chất lỏng.
Nếu không có quy định nào khác, áp suất thử nghiệm trong ngăn chứa phải bằng 35 kPa hơn áp suất làm việc bình thường. Nếu máy biến áp được trang bị cơ cấu xả áp, áp suất được đặt vào khi tiến hành thử nghiệm này vượt quá áp suất quy định để vận hành cơ cấu xả áp suất ít nhất là 10 kPa. Do đó cơ cấu xả áp cần được làm mất hiệu lực trong quá trình thử nghiệm.
...
...
...
Trước khi áp suất được đưa vào, khi thùng chứa ở mức chất lỏng làm việc bình thường của nó điểm đo chuẩn phù hợp, được gắn cứng vào kết cấu phòng thử nghiệm hoặc trên sàn, riêng rẽ với máy biến áp, phải được thiết lập càng gần với điểm trên thùng chứa càng tốt mà tại đó biến dạng lớn nhất do áp suất có thể xảy ra, tính đến cả biến dạng mong muốn. Đo và ghi khoảng cách từ điểm chuẩn đến vách thùng nằm theo hướng gần như pháp tuyến với vách thùng chứa.
Sau khi đặt áp suất bổ sung, khoảng cách từ điểm chuẩn đến vách thùng chứa theo hướng pháp tuyến với phía vách thùng chứa phải được đo lần nữa. Biến dạng do áp suất là chênh lệch giữa phép đo này với phép đo đầu tiên.
Có thể sử dụng phương pháp đo tương đương khác và phép đo bổ sung ở phía ngược lại của máy biến áp có thể được yêu cầu để bù dịch chuyển thùng chứa trong quá trình thử nghiệm.
Sau đó áp suất phải được giảm về mức thiết lập ban đầu và tiến hành phép đo thứ ba về khoảng cách từ điểm chuẩn đến vách thùng theo hướng xấp xỉ pháp tuyến với vách thùng chứa. Biến dạng vĩnh viễn là chênh lệch giữa phép đo này và phép đo đầu tiên.
Thông thường, biến dạng mong muốn do áp suất và biến dạng vĩnh viễn phải được tính toán và công bố bởi nhà chế tạo trước khi thử nghiệm. Ngoài ra phải sử dụng các giá trị tiêu biểu dưới đây:
a) máy biến áp có dải công suất trung bình nằm trong khoảng từ 20 MVA đến 100 MVA;
• biến dạng vĩnh viễn sau khi quá áp suất: 1 mm;
b) Máy biến áp công suất lớn (có vách thùng chứa phẳng), lớn hơn 100 MVA:
• biến dạng vĩnh viễn sau khi quá áp suất: 5 mm.
...
...
...
11.11 Thử nghiệm kín chân không tại chỗ đối với máy biến áp ngâm trong chất lỏng
Thử nghiệm này áp dụng cho máy biến áp có thiết kế để hút chân không thùng chứa của chính máy biến áp tại chỗ và vận chuyển không có chất lỏng. Sau khi lắp đặt vào chỗ làm việc nhưng trước khi đổ chất lỏng, khả năng của máy biến áp giữ được chân không hoặc các hoạt động tại chỗ khác nhằm giữ chân không mà không để lọt không khí phải được chứng minh như sau:
Chân không phải được tạo ra đến mức cao nhất được yêu cầu theo hoạt động tại chỗ trong thời gian là 2 h hoặc cho tới khi thu được mức chân không ổn định. Sau đó dừng bơm chân không và máy biến áp được hàn kín.
Chân không bên trong máy biến áp phải được kiểm soát bằng cách sử dụng đồng hồ chân không thích hợp cho tới khi có được tốc độ thay đổi chân không ổn định. Việc tăng áp suất phải nhỏ hơn 0,2 kPa mỗi giờ, được đo trong thời gian tối thiểu là 30 min.
11.12 Kiểm tra cách điện lõi và cách điện khung
Phải thực hiện thử nghiệm trên tất cả các máy biến áp ngâm trong chất lỏng có lắp cách điện lõi riêng và khung riêng và/hoặc khung và thùng chứa.
Đối với máy biến áp trong đó lõi và các mối nối đất trên khung không tiếp cận được khi máy biến áp được đổ đầy chất lỏng, cách điện phải được thử nghiệm ở điện áp 500 V một chiều trong 1 min mà không bị đánh thủng trước khi bộ phận tác động được lắp trong thùng chứa.
Đối với máy biến áp trong đó có khả năng tiếp cận lõi và mối nối đất trên khung khi máy biến áp được đổ chất lỏng, cách điện phải được thử nghiệm ở điện áp 2 500 V một chiều trong 1 min mà không bị đánh thủng sau khi máy biến áp được đổ chất lỏng.
12 Tương thích điện từ (EMC)
...
...
...
CHÚ THÍCH 1: Một số thiết bị phụ có thể dễ bị ảnh hưởng bởi nhiễu điện từ.
CHÚ THÍCH 2: Các linh kiện thụ động không có khả năng gây ra các nhiễu điện từ và tính năng của chúng không thể bị ảnh hưởng bởi các nhiễu này.
13 Quá độ chuyển mạch tần số cao
Chuyển mạch của máy biến áp có hệ số công suất mang tải nhẹ và/hoặc công suất thấp (tải có tính cảm) với máy ngắt chân không và SF6 có thể làm máy biến áp có khả năng bị quá độ điện áp có hại với tần số lên đến dải MHZ và điện áp vượt quá khả năng chịu xung của máy biến áp. Biện pháp giảm thiểu, không phải là bộ phận của máy biến áp, phải bao gồm các phương tiện làm tăng độ suy giảm thông qua mạch nhụt điện trở - tụ điện, điện trở lắp trước nằm trong cơ cấu chuyển mạch hoặc chuyển mạch mang tải. Nếu người mua quy định, nhà chế tạo phải cung cấp chi tiết các tần số cộng hưởng tự nhiên và/hoặc các tham số ở chế độ tần số cao của máy biến áp
CHÚ THÍCH: Có thể xem thêm thông tin trong Bản hướng dẫn IEE C57.142 mô tả sự xuất hiện và cách làm giảm quá độ do tần số xảy ra do máy biến áp, cơ cấu đóng cắt và sự tương tác hệ thống.
PHỤ LỤC A
(tham khảo)
Thông tin cần thiết trong bản yêu cầu và đơn đặt hàng
...
...
...
A.1.1 Thông tin thông thường
Các thông tin dưới đây phải được đưa ra trong mọi trường hợp:
a) Các quy định kỹ thuật cụ thể mà máy biến áp phải tuân thủ.
b) Loại máy biến áp, ví dụ như máy biến áp có cuộn dây riêng biệt, máy biến áp tự ngẫu hoặc máy biến áp nối tiếp.
c) Máy biến áp một pha hay ba pha.
d) Số pha của lưới điện.
e) Tần số.
f) Máy biến áp kiểu khô hay máy biến áp kiểu ngâm trong chất lỏng. Nếu là loại ngâm trong chất lỏng thì phải chỉ rõ đó là dầu khoáng, chất lỏng tự nhiên cách điện hoặc là chất lỏng tổng hợp cách điện. Nếu là loại khô thì phải ghi cấp bảo vệ (xem TCVN 4255 (IEC 60529)).
g) Loại trong nhà hay ngoài trời.
...
...
...
i) Công suất danh định của mỗi cuộn dây và đối với dải điều chỉnh quá ± 5 %, cần nêu nấc điều chỉnh dòng điện lớn nhất quy định, nếu có.
Nếu máy biến áp được quy định có nhiều phương pháp làm mát khác, các giá trị công suất thấp hơn tương ứng phải được quy định cùng với công suất danh định (tương ứng với phương pháp làm mát hiệu quả nhất).
j) Điện áp danh định đối với mỗi cuộn dây.
k) Đối với máy biến áp có nấc điều chỉnh (xem 6.4):
- bộ chuyển đổi nấc điều chỉnh là loại ‘không tải’ hay có tải;
- các yêu cầu về ấn định tỷ số vòng dây giữa hai cuộn dây cụ thể trên máy biến áp có nhiều hơn hai cuộn dây;
- nấc điều chỉnh bất kỳ hoặc dải điều chỉnh có thể làm giảm công suất nấc điều chỉnh;
- số nấc điều chỉnh, kích cỡ nấc điều chỉnh hoặc kích cỡ dải điều chỉnh;
và:
...
...
...
- nếu dải điều chỉnh quá ± 5 %, cần nêu loại điều chỉnh điện áp, và vị trí nấc điều chỉnh dòng điện lớn nhất, nếu có;
hoặc:
- hướng của luồng công suất (có thể là cả hai hướng);
- điện áp nào phải thay đổi đối với mục đích xác định điện áp nấc điều chỉnh danh định;
- hệ số công suất đầy tải nhỏ nhất.
l) Điện áp cao nhất đối với thiết bị (Um) cho từng cuộn dây có đầu nối pha và đầu nối trung tính (về cách điện, xem TCVN 6306-3 (IEC 60076-3)).
m) Phương pháp nối đất hệ thống (đối với từng cuộn dây).
n) Mức cách điện và mức thử nghiệm điện môi (xem TCVN 6306-3 (IEC 60076-3)), đối với từng cuộn dây có đầu nối pha và đầu nối trung tính.
o) Các yêu cầu về ký hiệu đấu nối và đầu nối trung tính cho từng cuộn dây.
...
...
...
q) Chi tiết về điện áp nguồn cung cấp phụ trợ tự dùng (cho quạt và máy bơm, bộ chuyển đổi nấc điều chỉnh, báo động, v.v...).
r) Các bố trí cần thiết và sự chỉ thị đặt ở phía để dễ dàng đọc được đồng hồ, tấm thông số đặc trưng, bộ chỉ thị mức dầu, v.v...
s) Loại hệ thống chứa dầu.
t) Đối với máy biến áp nhiều cuộn dây, cần nêu các tổ hợp công suất-phụ tải, công bố, khi cần thì chỉ rõ các công suất tác dụng và công suất phản kháng riêng rẽ, đặc biệt với trường hợp máy biến áp tự ngẫu nhiều cuộn dây.
u) Thông tin về độ tăng nhiệt lớn nhất được bảo đảm.
v) Điều kiện làm việc không bình thường (xem Điều 4 và 5.5).
w) Chi tiết về loại và bố trí đầu nối, ví dụ sứ xuyên không khí hoặc hộp cáp hoặc thanh cái cách điện bằng khí.
x) Mối nối lõi và khung có nên được đưa ra để nối đất bên ngoài.
A.1.2 Các thông tin đặc biệt
...
...
...
a) Nếu yêu cầu thử nghiệm điện áp xung sét, chỉ ra thử nghiệm có bao gồm thử nghiệm sóng cắt không (xem TCVN 6306-3 (IEC 60076-3)).
b) Có yêu cầu có cuộn dây ổn định hay không và nếu có phải nêu phương pháp nối đất.
c) Trở kháng ngắn mạch, hoặc dãy trở kháng (xem Phụ lục C). Đối với máy biến áp có nhiều cuộn dây, phải nêu tất cả các trở kháng quy định đối với các cặp cuộn dây cụ thể (cùng với các thông số đặc trưng chuẩn liên quan nếu như các giá trị cho bằng phần trăm).
d) Dung sai về tỷ số điện áp và trở kháng ngắn mạch được lấy theo thỏa thuận trong Bảng 1, hoặc lệch với các giá trị đã cho trong bảng đó.
e) Nếu máy biến áp cho phép đối nối cuộn dây thì phải chỉ ra cách đối nối và việc đấu nối nào được yêu cầu khi xuất xưởng.
f) Các đặc tính ngắn mạch của lưới điện (biểu thị bằng công suất hoặc dòng điện ngắn mạch hoặc các dữ liệu về trở kháng của hệ thống) và các giới hạn có thể ảnh hưởng đến thiết kế của máy biến áp (xem TCVN 6306-5 (IEC 60076-5)).
g) Chi tiết về các yêu cầu độ ồn, độ đảm bảo và các phép đo đặc biệt (IEC 60076-10).
h) Độ chịu chân không của thùng máy biến áp, bình dầu phụ, và các thiết bị làm mát nếu yêu cầu một giá trị xác định.
i) Các thử nghiệm đặc biệt chưa đề cập đến ở trên mà được yêu cầu bởi người mua.
...
...
...
k) Các giới hạn về kích thước vật lý, ví dụ đối với việc lắp đặt trên nền có sẵn hoặc trong tòa nhà. Các giới hạn đặc biệt về không gian lắp đặt có thể ảnh hưởng đến các khoảng cách cách điện và vị trí các đầu nối của máy biến áp.
l) Giới hạn về kích thước và khối lượng vận chuyển. Giá trị chịu được gia tốc nhỏ nhất nếu giá trị này cao hơn giá trị được quy định trong 5.7.4.2.
m) Các điều kiện vận chuyển và lưu kho không được đề cập trong các điều kiện bình thường được mô tả trong 5.7.4 và 4.2.
n) Tất cả các yêu cầu hoặc giới hạn bảo trì đặc biệt.
o) Có yêu cầu buồng thử ngắt điện đối với các mối nối cáp trực tiếp hay không.
p) Có yêu cầu các phương tiện để giám sát tình trạng hay không (xem Phụ lục F)
q) Việc xem xét tất cả các vấn đề môi trường đặc biệt đối với tác động của máy biến áp lên môi trường phải được tính đến trong thiết kế mát biến áp, xem Phụ lục G.
r) Tất cả các vấn đề về sức khỏe và an toàn đặc biệt, phải được tính đến trong thiết kế của máy biến áp liên quan đến chế tạo, lắp đặt, vận hành, bảo trì và xử lý, xem Phụ lục G.
s) Các điều kiện làm việc có điện không bình thường như:
...
...
...
2) Dạng sóng của dòng điện phụ tải có biến dạng mạnh hay không. Dự kiến có một phụ tải ba pha không đối xứng hay không. Trong cả hai trường hợp trên cần nêu chi tiết.
3) Máy biến áp nối trực tiếp hoặc qua một đoạn dây ngắn của đường dây trên không vào thiết bị đóng cắt có cách điện bằng khí (GIS).
4) Các máy biến áp phải chịu quá dòng thường xuyên hay không, ví dụ các máy biến áp lò hoặc máy biến áp dùng cho thiết bị kéo.
5) Chi tiết về các quá tải thường xuyên theo chu kỳ đã dự kiến, ngoài các quá tải đã được đề cập ở 5.1.4 (để cho phép xây dựng các thông số đặc trưng của các phụ kiện của máy biến áp).
6) Điện áp xoay chiều không cân bằng hoặc sự sai lệch của điện áp hệ thống điện xoay chiều khỏi dạng sóng về cơ bản là hình sin.
7) Phụ tải làm cho dòng điện sóng hài không bình thường ví dụ như có thể gây ra trong trường hợp dòng điện tải đáng kể được điều khiển bởi thiết bị bản dẫn hoặc thiết bị tương tự. Dòng điện sóng hài này có thể gây tổn hao quá mức và đốt nóng không bình thường.
8) Các điều kiện mang tải quy định (công suất ra kVA, hệ số công suất phụ tải của cuộn dây và điện áp cuộn dây) được kết hợp với máy biến áp nhiều cuộn dây và máy biến áp tự ngẫu.
9) Kích thích quá 110 % điện áp danh định hoặc 110 % V/Hz danh định.
10) Ngắn mạch có kế hoạch như một phần hoạt động thường xuyên hoặc hoạt động được bảo vệ bằng rơle.
...
...
...
12) Các điều kiện điện áp không bình thường bao gồm quá điện áp quá độ, cộng hưởng, quá điện áp thao tác, v.v...có thể yêu cầu sự xem xét đặc biệt trong thiết kế cách điện.
13) Từ trường mạnh khác thường, cần lưu ý rằng nhiễu mặt trời-từ có thể gây ra dòng telua trong dây nối đất của máy biến áp.
14) Máy biến áp lớn có lắp thanh dẫn dòng điện lớn. Cần lưu ý rằng dòng điện lớn trong các thanh cái trong các ống dẫn cách ly, tạo ra từ trường mạnh có thể gây ra dòng điện lưu thông không theo dự kiến trong thùng máy, vỏ máy biến áp và trong ống dẫn thanh cái. Tổn hao do các dòng điện không dự kiến này có thể gây ra nhiệt quá mức khi các biện pháp hiệu chỉnh không có trong thiết kế.
15) Hoạt động song song. Lưu ý rằng khi hoạt động song song là bình thường thì người sử dụng nên thông báo cho nhà chế tạo biết khi làm việc song song với máy biến áp khác đã được lên kế hoạch và nhận biết máy biến áp có liên quan.
16) Sự gián đoạn cáp điện xảy ra quá 24 lần mỗi năm.
17) Thường xuyên ngắn mạch.
t) Điều kiện môi trường vật lý khác thường
1) Độ cao trên mực nước biển, nếu như quá 1 000 m (3 300 ft).
2) điều kiện nhiệt độ môi chất làm mát bên ngoài đặc biệt, nằm ngoài dải bình thường (xem 4.2 b)), hoặc giới hạn về tuần hoàn không khí làm mát.
...
...
...
4) Khói có hại do hơi nước, bụi quá mức hoặc bụi ăn mòn, hỗn hợp khí nổ hoặc khí đốt, hơi nước, nhiễm mặn, độ ẩm quá mức hoặc nước nhỏ giọt, v.v...
5) Rung, nghiêng hoặc chấn động không bình thường.
A.2 Vận hành song song
Nếu yêu cầu vận hành song song với các máy biến áp đã có từ trước thì phải chỉ rõ và phải cho các thông tin sau đây về máy biến áp đã có:
a) Công suất danh định.
b) Tỷ số điện áp danh định.
c) Tỷ số điện áp tương ứng với nấc điều chỉnh không phải là nấc điều chỉnh chính.
d) Tổn hao có tải ở dòng điện danh định trên nấc điều chỉnh chính được qui về nhiệt độ chuẩn tương ứng, xem 11.1.
e) Trở kháng ngắn mạch trên nấc điều chỉnh chính và trên nấc điều chỉnh biên, nếu điện áp trên dải điều chỉnh biên sai lệch quá 5 % so với nấc điều chỉnh chính. Trở kháng trên các nấc điều chỉnh khác nếu có.
...
...
...
CHÚ THÍCH: Ở các máy biến áp nhiều cuộn dây, thường đòi hỏi các thông tin phụ khác.
PHỤ LỤC B
(tham khảo)
Các ví dụ về quy định kỹ thuật đối với các máy biến áp có nấc điều chỉnh
B.1 Ví dụ 1 - Điều chỉnh điện áp từ thông không đổi (CFVV)
Máy biến áp ba pha có các thông số đặc trưng 66 kV/20 kV ba pha 40 MVA và dải điều chỉnh là ± 10 % trên cuộn dây 66 kV với 11 vị trí điều chỉnh. Viết tắt là: (66 ± 5 x 2 %) / 20 kV.
loại điều chỉnh điện áp:
công suất danh định:
...
...
...
cuộc dây có nấc điều chỉnh:
số vị trí điều chỉnh:
CFVV
40 MVA
66 kV/20kV
66kV (dải điều chỉnh ± 10 %)
11
Nếu máy biến áp phải có nấc điều chỉnh công suất giảm, ví dụ, từ nấc điều chỉnh - 6 %, thêm:
nấc điều chỉnh dòng điện tối đa:
...
...
...
Dòng điện nấc điều chỉnh của cuộn dây điện áp cao (HV) khi đó bị giới hạn ở mức 372 A từ nấc điều chỉnh - 6 % đến nấc điều chỉnh biên -10 %, ở đó công suất nấc điều chỉnh giảm xuống còn 38,3 MVA.
B.2 Ví dụ 2 - Điều chỉnh điện áp từ thông thay đổi
Máy biến áp ba pha có các thông số đặc trưng 66 kV/6 kV, 20 MVA và dải điều chỉnh là +15 %, -5 % trên cuộn dây điện áp cao nhưng có điện áp nấc điều chỉnh không đổi đối với cuộn dây điện áp cao và điện áp nấc điều chỉnh thay đổi đối với cuộn dây điện áp thấp, từ:
kV đến
kV
loại điều chỉnh điện áp:
công suất danh định:
điện áp danh định:
cuộc dây có nấc điều chỉnh:
số vị trí điều chỉnh:
...
...
...
VFVV
20 MVA
66 kV/6 kV
66kV (dải điều chỉnh ± 15 %, -5 %)
13
6,32 kV, 6 kV, 5,22 kV
Nếu máy biến áp phải có nấc điều chỉnh công suất giảm, cần thêm, ví dụ:
nấc điều chỉnh dòng điện tối đa:
nấc + 5 %
...
...
...
B.3 Ví dụ 3 - Điều chỉnh điện áp tổ hợp
Máy biến áp ba pha có thông số đặc trưng 160 kV/20 kV, 40 MVA và dải điều chỉnh ± 15 % trên cuộn dây 160 kV. Điểm chuyển đổi (nấc điều chỉnh có điện áp tối đa), là nấc + 6 %, và cũng có nấc điều chỉnh dòng điện tối đa trong vùng CFW là - 9 %:
cuộn dây có nấc điều chỉnh: 160 kV, dải điều chỉnh ± 10 x 1,5 %.
Bảng B.1 - Ví dụ về điều chỉnh điện áp tổ hợp
Nấc điều chỉnh
Tỷ số điện áp
Điện áp nấc điều chỉnh
Dòng điện nấc điều chỉnh
Công suất nấc điều chỉnh S, MVA
...
...
...
kV
ULV
kV
IHV
A
ILV
A
1 (+15%)
9,20
...
...
...
18,43
125,6
1 155
36,86
7 (+ 6 %)
8,48
169,6
20
136,2
...
...
...
40
11 (0 %)
8
160
20
144,4
1 155
40
17 (- 9 %)
...
...
...
145,6
20
158,7
1 155
40
21 (- 15 %)
6,80
136
20
...
...
...
1 080
37,4
CHÚ THÍCH 1: Để hoàn chỉnh các dữ liệu đối với các nấc điều chỉnh trung gian, bảng trên đây có thể được sử dụng trên các tấm thông số đặc trưng.
CHÚ THÍCH 2: So sánh quy định này với quy định của CFVV là:
(160 ± 15 %) / 20 kV - 40 MVA
Điều khác nhau là điện áp nấc điều chỉnh HV, theo ví dụ này, không quá “điện áp cao nhất của lưới” của lưới cao áp (HV) là 170 kV (giá trị tiêu chuẩn hóa của IEC). Đại lượng ‘điện áp cao nhất dùng cho thiết bị’ được đặc trưng bởi cách điện của cuộn dây, cũng là 170 kV (xem TCVN 6306-3 (IEC 60076-3)).
B.4 Ví dụ 4 - Quy định kỹ thuật chức năng của nấc điều chỉnh
Nguyên tắc của quy định kỹ thuật chức năng của máy biến áp có cuộn dây theo 6.4.3 là nhằm cung cấp một khuôn khổ cho các quy định kỹ thuật của các yêu cầu hoạt động khi theo thiết kế chi tiết của cuộn dây và các bố trí nấc điều chỉnh của nhà chế tạo.
Ba yêu cầu cụ thể phải được chỉ định một cách thỏa đáng là:
...
...
...
- khả năng mang dòng điện tải;
- trở kháng.
Nếu không có quy định nào khác, điện áp làm việc lớn nhất cần được lấy trên nấc điều chỉnh bất kỳ và đồng thời là giới hạn trên của điện áp trên tất cả các cuộn dây, ví dụ, máy biến áp giảm áp có nấc điều chỉnh LV +15 % và điện áp làm việc lớn nhất được quy định là +10 % điện áp danh định thì không được sử dụng ở không tải trên nấc điều chỉnh đó ở điện áp HV vượt quá -5 % điện áp danh định, nhưng khi có tải, thì có thể sử dụng nấc điều chỉnh ở điện áp HV cao hơn để bù đắp cho sụt áp trong máy biến áp. Thời gian làm việc ngắn ở điện áp LV cao hơn có thể được yêu cầu trong tình trạng loại bỏ tải.
Dòng điện trên phía tải được cho bằng công suất danh định chia cho điện áp danh định (ở nấc điều chỉnh chính). Máy biến áp được quy định theo 6.4.3 phải có khả năng cung cấp dòng điện tải này ở tất cả các vị trí nấc điều chỉnh. Ngoài ra, khả năng mang dòng điện tải có thể được quy định cho mỗi nấc điều chỉnh.
Cần lưu ý đặc biệt để đưa ra các quy định kỹ thuật về trở kháng theo phần trăm và cơ sở về điện áp và công suất phải rõ ràng hoặc theo quy ước về trở kháng đối với nấc điều chỉnh đặc biệt được dựa trên công suất danh định ở nấc điều chỉnh chính và điện áp của nấc điều chỉnh đặc biệt đó. Chỉ với lý do này, điều chỉnh điện áp phải được đưa ra trên HV hoặc LV.
Ví dụ dưới đây là quy định kỹ thuật như vậy và máy biến áp liên quan.
B.4.1 Ví dụ 4.1 - Máy biến áp được quy định có điều chỉnh điện áp HV
Máy biến áp phù hợp để làm việc giảm áp
công suất danh định Sr:
...
...
...
điện áp làm việc tối đa:
số lượng nấc điều chỉnh:
kích cỡ nấc điều chỉnh:
điều chỉnh điện áp phía HV:
trở kháng:
70 MVA ở nấc điều chỉnh chính
220 kV / 90 kV
+10 %
26
...
...
...
+10 % - 15 %
10 % trên tất cả các nấc điều chỉnh trên cơ sở 70 MVA
hệ số công suất mang tải đầy đủ tối thiểu
0,8
Bảng B.2 - Ví dụ về quy định kỹ thuật chức năng với điều chỉnh điện áp HV
Nấc điều chỉnh
Tỷ số điện áp không tải
Điện áp nấc điều chỉnh danh định
Điện áp liên tục tối đa (mang tải)
...
...
...
Công suất nấc điều chỉnh
Trở kháng ngắn mạch
Dòng điện ngắn mạch xuất hiện trên LV tại 220 kV
UHV
kV
ULV
kV
HV
kV
...
...
...
kV
IHV
A
ILV
A
Snấc điều chỉnh
MVA
Z
%
a
...
...
...
Ω/
Pha
kA
1 (+10 %)
2,69
242
90
242
99
167
...
...
...
70
10
84
4,08
7 (+5 %)
2,57
231
90
242
...
...
...
175
449
70
10
76
4,28
11 (0 %)
2,44
220
...
...
...
242
99
184
449
70
10
69
4,49
17 (-5%)
...
...
...
209
90
242
99
193
449
70
10
62
...
...
...
21 (-10 %)
2,20
198
90
242
99
204
449
70
...
...
...
56
4,99
27 (-15 %)
2,08
187
90
242
99
216
...
...
...
70
10
50
5,28
aQui về 70 MVA.
CHÚ THÍCH 1: Dòng điện ngắn mạch xuất hiện ở đầu nối LV với điện áp 220 kV đặt vào đầu nối HV được tính như dưới đây, giả định rằng không có trở kháng hệ thống lưới.
![]()
Sr
Snấc điều chỉnh
...
...
...
CHÚ THÍCH 3: Trở kháng của máy biến áp tính bằng ôm trên mỗi pha được tính như sau:
![]()
B.4.2 Ví dụ 4.2 - Máy biến áp được quy định có điều chỉnh điện áp LV
Máy biến áp phù hợp để làm việc giảm áp
công suất danh định:
điện áp danh định:
điện áp làm việc tối đa:
số lượng nấc điều chỉnh:
kích cỡ nấc điều chỉnh:
...
...
...
trở kháng:
70 MVA ở nấc điều chỉnh chính
220 kV / 90 kV
+10 %
26
1 %
+10%-15%
10 % trên tất cả các nấc điều chỉnh trên cơ sở 70 MVA
hệ số công suất mang tải đầy đủ tối thiểu
...
...
...
CHÚ THÍCH: Các quy định kỹ thuật là tương tự như ví dụ 4.1 ngoại trừ sự thay đổi từ điều chỉnh điện áp HV sang điều chỉnh điện áp LV. Ngoài ra trên nấc điều chỉnh chính, khi được so sánh với máy biến áp trong ví dụ 1, máy biến áp này phải có trở kháng thuần trở khác và do đó có thể có dòng điện ngắn mạch khác ở LV ngay cả khi điện áp HV và vị trí nấc điều chỉnh đều giống nhau.
Bảng B.3 - Ví dụ về quy định kỹ thuật chức năng của điều chỉnh điện áp LV
Nấc điều chỉnh
Tỷ số điện áp không tải
Điện áp nấc điều chỉnh danh định
Điện áp liên tục tối đa (mang tải)
Dòng điện nấc điều chỉnh danh định
Công suất nấc điều chỉnh
Trở kháng ngắn mạch
...
...
...
UHV
kV
ULV
kV
HV
kV
LV
kV
IHV
...
...
...
ILV
A
Snấc điều chỉnh
MVA
Z
%
a
ZHV
Ω/
Pha
kA
...
...
...
2,72
220
81
242
99
165
449
63
10
...
...
...
4,99
7 (+5 %)
2,57
220
85,5
242
99
175
449
...
...
...
10
69
4,73
11 (0 %)
2,44
220
90
242
99
...
...
...
449
70
10
69
4,49
17 (-5 %)
2,33
220
94,5
...
...
...
99
193
449
73,5
10
69
4,29
21 (-10 %)
2,22
...
...
...
99
242
99
202
449
77
10
69
4,08
...
...
...
2,13
220
103,5
242
99
211
449
80,5
10
...
...
...
3,90
a Qui về 70 MVA.
PHỤ LỤC C
(tham khảo)
Quy định kỹ thuật của trở kháng ngắn mạch bằng các đường giới hạn

Giới hạn trên là giá trị không đổi của trở kháng ngắn mạch tính bằng phần trăm, được xác định bằng sụt áp cho phép tại phụ tải quy định và hệ số công suất quy định.
Giới hạn dưới được xác định bằng quá dòng cho phép ở phía thứ cấp trong quá trình sự cố.
...
...
...
Hình C.1 - Ví dụ về quy định kỹ thuật của trở kháng ngắn mạch bằng các đường giới hạn
PHỤ LỤC D
(tham khảo)
Ví dụ về các tổ nối dây máy biến áp ba pha
Các tổ nối dây thông dụng được biểu diễn trên Hình D.1 dưới đây.

Các quy ước về bản vẽ cũng giống như ở Hình 2 (Điều 7) của nội dung tiêu chuẩn.
Hình D.1 - Các tổ nối dây thông dụng
...
...
...

Các quy ước về bản vẽ cũng giống như ở Hình 2 (Điều 6) của nội dung tiêu chuẩn.
Hình D.2 - Các tổ nối dây bổ sung

Hình D.3 - Các tổ nối dây của máy biến áp ba pha tự ngẫu bằng ký hiệu tổ nối dây (máy biến áp tự ngẫu Ya0)

Hình D.4 - Ví dụ về ba máy biến áp một pha đấu nối để tạo thành tổ máy ba pha (ký hiệu tổ nối dây Yd5)
PHỤ LỤC E
...
...
...
Hiệu chỉnh tổn hao có tải theo nhiệt độ
Danh sách các ký hiệu
Chỉ số 1
đề cập đến phép đo "điện trở cuộn dây ở trạng thái nguội" (11.2).
Chỉ số 2
thể hiện các điều kiện trong phép đo tổn hao mang tải (11.4).
r
thể hiện các điều kiện ở ‘nhiệt độ chuẩn’ (11.1).
R
...
...
...
θ
nhiệt độ cuộn dây tính bằng °C.
P
tổn hao mang tải.
I
dòng điện phụ tải quy định để xác định tổn hao (dòng điện danh định, dòng điện nấc điều chỉnh, các giá trị quy định ứng với các trường hợp tải cụ thể).
Pa
“tổn hao phụ”.
Việc đo điện trở cuộn dây được thực hiện ở nhiệt độ θ1. Giá trị đo được là R1.
...
...
...
(đồng)
(nhôm)
![]()
là tổng của tổn hao điện trở một chiều
ở tất cả các cuộn dây.
Tại nhiệt độ chuẩn θr, điện trở cuộn dây là Rr, tổn hao phụ là Par, toàn bộ tổn hao có tải là Pr.
(đồng)
(nhôm)
![]()
![]()
...
...
...
(đồng)
(nhôm)
![]()
![]()
Cuối cùng: ![]()
PHỤ LỤC F
(tham khảo)
Các phương tiện để lắp đặt hệ thống giám sát tình trạng trong tương lai cho máy biến áp
...
...
...
Hướng dẫn thêm có trong sách thông tin CIGRE 343.
Bảng F.1 - Phương tiện giám sát tình trạng
Tham số giám sát
Sự chuẩn bị được đề xuất để giám sát
Nhiệt độ điểm trên cùng của dầu
Cảm biến
Nhiệt độ điểm dưới cùng của dầu
Cảm biến
Thành phần khí đốt trong dầu (một đầu ra)
...
...
...
Độ ẩm trong dầu
Phương tiện để lắp cảm biến
Mức dầu theo chuông báo động của thùng dầu phụ
Công tắc báo động
Mức dầu theo chỉ thị của thùng dầu phụ
Cảm biến
Bộ giám sát nhiều loại khí đốt
Phương tiện để lắp cảm biến
Bộ cảm biến phóng điện cục bộ
...
...
...
Dòng điện trung tính một chiều
Phương tiện để lắp cảm biến
Mạch điện từ
Đầu nối đất được đưa ra
Nhiệt độ môi chất làm mát
Cảm biến
Hoạt động của bộ làm mát
Cảm biến lưu lượng hoặc công tắc phụ trợ
Nhiệt độ dầu ở đầu vào bộ làm mát
...
...
...
Nhiệt độ dầu ở đầu ra bộ làm mát
Cảm biến
Điện áp ở nấc điều chỉnh sứ xuyên
Phương tiện để lắp bộ chuyển đổi
Dòng điện tải
Ct bổ sung
Áp suất dầu sứ xuyên
Phương tiện để lắp cảm biến
Vị trí nấc điều chỉnh
...
...
...
Mức tiêu thụ công suất tác dụng của truyền động động cơ
Phương tiện để lắp bộ chuyển đổi
Nhiệt độ dầu ngăn chứa cơ cấu chuyển mạch phân chia
Phương tiện để lắp cảm biến
Nhiệt độ dầu ngăn chứa bộ chọn
Phương tiện để lắp cảm biến
Nhiệt độ thùng chính gần bộ chuyển đổi nấc điều chỉnh
Phương tiện để lắp cảm biến
Chỉ thị mức dầu phân chia
...
...
...
Báo động mức dầu phân chia
Công tắc báo động
Tình trạng dầu phân chia
Phuơng tiện để lắp cảm biến
Giám sát chuyển mạch phân chia
Công tắc phụ trợ trong bộ phân chia
Nhiệt độ điểm nóng của cuộn dây
Cảm biến
...
...
...
(tham khảo)
Xem xét về môi trường và an toàn
Ảnh hưởng của máy biến áp đến môi trường cần được xét xét bởi cả nhà chế tạo và người sử dụng qua tuổi thọ của tổ máy từ thiết kế đến sử dụng. Việc xem xét này cần tính đến các yếu tố dưới đây và các nỗ lực được thực hiện để giảm thiểu toàn bộ ảnh hưởng của sản xuất, sử dụng và loại bỏ.
1) Các nguyên vật liệu cho các máy biến áp phải được đánh giá theo các tiêu chí sau đây:
a) mức tiêu thụ năng lượng trong quá trình khai thác, tinh chế và sản xuất;
b) sản phẩm loại bỏ và mức ô nhiễm trong quá trình khai thác, tinh chế và sản xuất;
c) ảnh hưởng độc hại hoặc các ảnh hưởng sức khỏe khác của vật liệu hoặc quy trình đối với công nhân trong quá trình khai thác, tinh chế và sản xuất;
d) ảnh hưởng của vật liệu đến môi trường.
2) Quy định kỹ thuật và thiết kế của máy biến áp cần xét đến:
...
...
...
b) tiêu thụ năng lượng trong suốt tuổi thọ của máy biến áp;
c) việc sử dụng nguyên vật liệu có thể được xác nhận trên máy biến áp;
d) loại bỏ hoặc giảm thiểu việc sử dụng các vật liệu nguy hiểm hoặc gây tổn hại cho môi trường;
e) chính sách ngăn ngừa các vật liệu nguy hiểm hoặc vật liệu gây tổn hại cho môi trường;
f) việc xử lý máy biến áp, loại bỏ hoặc giảm thiểu việc sử dụng các vật liệu hoặc hỗn hợp các vật liệu có thể khó hoặc không thể tái sử dụng hoặc tái chế.
3) Đối với giai đoạn sản xuất, khách hàng nên xem xét quy định kỹ thuật và nhà chế tạo cần xem xét trong quá trình chế tạo máy biến áp:
a) cách sử dụng hệ thống quản lý môi trường (ISO 14001);
b) sử dụng hiệu quả năng lượng và nguồn năng lượng;
c) loại bỏ hoặc giảm thiểu bức xạ và rác thải có hại cho môi trường;
...
...
...
e) sức khỏe và an toàn của lực lượng lao động.
4) Các xem xét khác
a) sử dụng năng lượng và tác động môi trường của việc vận chuyển tại chỗ
b) Xử lý hoặc tái sử dụng vật liệu bao gói;
c) Ảnh hưởng đến sức khỏe và môi trường của các chất bất kỳ nào có thể sinh ra do điều kiện sự cố tiềm năng;
d) Tiềm năng đối với việc để thoát các vật liệu có hại cho môi trường trong quá trình hoạt động bất thường hoặc lỗi.
Chu kỳ tuổi thọ của máy biến áp có thể được xem xét về vật liệu và đầu ra năng lượng và đầu ra loại bỏ.
THƯ MỤC TÀI LIỆU THAM KHẢO
...
...
...
[2] IEC 60060 (tất cả các phần), High-voltage test techniques (Kỹ thuật thử nghiệm điện áp cao)
[3] IEC 60068-3-3, Environmental testing - Part 3: Guidance - Seismic test methods for equipment (Thử nghiệm môi trường - Phần 3: Hướng dẫn - Phương pháp thử nghiệm động đất đối với thiết bị)
[4] IEC 60076-4. Power transformers - Part 4: Guide to lightning impulse and switching impulse testing - Power transformers and reactors (Máy biến áp điện lực - Phần 4: Hướng dẫn để thử nghiệm xung chớp và xung đóng cắt - Máy biến áp điện lực và cuộn kháng)
[5] IEC 60076-6, Power transformers - Part 6: Reactors (Máy biến áp điện lực - Phần 6: Cuộn kháng)
[6] IEC 60076-7, Power transformers - Part 7: Loading guide for oil-immersed power transformers (Máy biến áp điện lực - Phần 7: Dẫn hướng mang tải đối với máy biến áp ngâm trong dầu)
[7] IEC 60076-8:1997, Power transformers - Part 8: Application guide (Máy biến áp điện lực - Phần 8: Hướng dẫn áp dụng)
[8] IEC 60076-10-1, Power transformers - Determination of sound levels - Application guide (Máy biến áp điện lực - Xác định độ ồn - Hướng dẫn áp dụng)
[9] IEC 60076-12, Power transformers - Loading guide for dry-type transfomners (Máy biến áp điện lực - Hướng dẫn mang tải đối với mày biến áp kiểu khô)
[10] IEC 60076-13, Power transformers - Self-protected liquid-filled transformers (Máy biến áp điện lực - Máy biến áp đổ đầy chất lỏng tự bảo vệ)
...
...
...
[12] IEC 60076-15, Power transformers - Gas-filled-type power transformers (Máy biến áp điện lực - máy biến áp điện lực loại đổ đầy khí)
[13] IEC 60076-16, Power transformers - Part 16: Transformers for wind turbines application (Máy biến áp điện lực - Phần 16: Máy biến áp dụng cho ứng dụng tua bin gió)
[14] IEC 60270, High voltage test techniques - Partial discharge measurements (Kỹ thuật thử nghiệm điện áp cao - Phép đo phóng điện cục bộ)
[15] IEC 60310, Railway applications - Traction transformers and inductors on board rolling stock (Ứng dụng đường sắt - Máy biến áp của phương tiện kéo và cuộn cảm lắp trên đầu kéo)
[16] IEC 60529:1989, Degrees of protection provided by enclosures (IP Code) (Cấp bảo vệ bằng vỏ ngoài (mã IP))
[17] IEC/TR 60616:1978, Terminal and tapping markings for power transformers (Ghi nhãn đầu nối và nấc điều chỉnh đối với máy biến áp điện lực)
[18] IEC/TS 60815 (tất cả các phần), Selection and dimensioning of high-voltage insulators intended for use in polluted conditions (Lựa chọn và kích thuớc của cách điện điện áp cao được thiết kế để sử dụng trong môi trường ô nhiễm)
[19] IEC 61378 (tất cả các phần), Convertor transformers (Máy biến áp biến đổi)
[20] IEC 61378-1, Convertor transformers - Part 1: Transformers for industrial applications (Máy biến áp biến đổi - Phần 1: Máy biến áp dùng cho ứng dụng công nghiệp)
...
...
...
[22] IEC 62032, Guide for the application, specification, and testing of phase-shifting transformers (Hướng dẫn ứng dụng, quy định kỹ thuật và thử nghiệm máy biến áp chuyển pha)
[23] IEC 62262, Degrees of protection provided by enclosures for electrical equipment against external mechanical impact (IK code) (Cấp bảo vệ vỏ ngoài đối với thiết bị điện ngăn ngừa tác động cơ bên ngoài (mã IK))
[24] ISO 3:1973, Preferred numbers - Series of preferred numbers (Số tham chiếu - Dãy số ưu tiên)
[25] ISO 2178:1982, Non-magnetic coatings on magnetic substrates - Measurement of coating thickness - Magnetic method (Lớp mạ không tư trên vật từ tính - Phép đo chiều dày lớp mạ - Phương pháp từ)
[26] ISO 2409:2007, Paints and varnishes - Cross-cut test (Sơn và véc ni - Thử nghiệm cắt chữ thập)
[27] ISO 12944 (tất cả các phần), Paints and varnishes - Corrosion protection of steel structures by protective paint systems (Sơn và véc ni - Bảo vệ chống ăn mòn của kết cấu thép bằng hệ thống sơn bảo vệ)
[28] ISO 14001, Environmental management systems - Specification with guidance for use (Hệ thống quản lý môi trường - Quy định kỹ thuật về hướng dẫn sử dụng)
[29] ISO 14122 (tất cả các phần), Safety of machinery - Permanent means of access to machinery (An toàn máy - Phương tiện cố định tiếp cận đến máy)
[30] ANSI/IEEE C57.12.00, General requirements for liquid-immersed distribution, power and regulating transformers (Yêu cầu chung đối với máy biến áp điều chỉnh, máy biến áp công suất và máy biến áp phân phối ngâm trong chất lỏng)
...
...
...
[32] IEEE C57.142, Guide to describe the occurrence and mitigation of switching transients induced by transformer, switching device, and system interaction (Hướng dẫn để mô tả sự xuất hiện và giảm thiểu quá độ chuyển mạch gây ra bởi máy biến áp, cơ cấu chuyển mạch và tương tác hệ thống)
[33] CIGRE Brochure 156, Guide for customers specifications for transformers 100 MVA and 123 kV and above (Hướng dẫn khách hàng các quy định kỹ thuật đối với máy biến áp 100 MVA và 123 kV và cao hơn)
[34] CIGRE Brochure 204, Guide for transfomer design review (Hướng dẫn về việc xem xét thiết kế máy biến áp)
[35] CIGRE Brochure 343, Recommendations for Condition Monitoring and Condition Assessment Facilities for Transformers (Khuyến cáo về các phương tiện giám sát điều kiện và đánh giá điều kiện đối với máy biến áp)
MỤC LỤC
Lời nói đầu
1 Phạm vi áp dụng
2 Tài liệu viện dẫn
...
...
...
4 Điều kiện làm việc
5 Thông số đặc trưng và yêu cầu chung
6 Yêu cầu đối với máy biến áp có cuộn dây nấc điều chỉnh
7 Ký hiệu đấu nối và độ lệch pha
8 Tấm thông số
9 Yêu cầu về an toàn, môi trường và các yêu cầu khác
10 Dung sai
11 Thử nghiệm
12 Tương thích điện từ (EMC)
...
...
...
Phụ lục A (tham khảo) - Thông tin cần thiết trong bản yêu cầu và đơn đặt hàng
Phụ lục B (tham khảo) - Các ví dụ về quy định kỹ thuật đối với các máy biến áp có nấc điều chỉnh
Phụ lục C (tham khảo) - Quy định kỹ thuật của trở kháng ngắn mạch bằng các đường giới hạn
Phụ lục D (tham khảo) - Ví dụ về các tổ nối dây máy biến áp ba pha
Phụ lục E (quy định) - Hiệu chính tổn hao có tải theo nhiệt độ
Phụ lục F (tham khảo) - Phương tiện để lắp đặt hệ thống giám sát tình trạng trong tương lai của máy biến áp
Phụ lục G (tham khảo) - Xem xét về môi trường và an toàn
Thư mục tài liệu tham khảo
* Cuộn dây nhận công suất tác dụng từ nguồn cung cấp khi làm việc được gọi là ‘cuộn sơ cấp’, và cuộn dây cung cấp công suất tác dụng cho phụ tải được gọi là ‘cuộn thứ cấp’. Các thuật ngữ này không có ý nghĩa đối với cuộn dây nào trong số các cuộn dây có điện áp danh định cao hơn và không được sử dụng trừ khi dùng với ý nghĩa hướng của luồng công suất tác dụng (xem IEC 60050421:1990, 421-03-06 và 07]. Cuộn dây khác trong máy biến áp, thường có giá trị thấp hơn công suất danh định của cuộn dây thứ cấp, thường được gọi là ‘cuộn dây thứ ba’, xem thêm định nghĩa ở 3.3.8.