TIÊU CHUẨN QUỐC GIA
TCVN 6816 : 2001
ISO/TR 12765 : 1998
ĐO LƯU LƯỢNG CHẤT LỎNG VÀ CHẤT KHÍ TRONG ỐNG DẪN KÍN - PHƯƠNG PHÁP ỨNG DỤNG MÁY ĐO LƯU LƯỢNG SIÊU ÂM THỜI GIAN ĐI QUA
Measurement of fluid folw in closed conduits - Methods using transit-time ultrasonic flowmeters
Lời nói đầu
TCVN 6816 : 2001 hoàn toàn tương đương với ISO/TR 12765 : 1998.
TCVN 6816 : 2001 do Ban kỹ thuật tiêu chuẩn TCVN/TC 23 Máy kéo và máy dùng trong nông lâm nghiệp biên soạn, Tổng cục Tiêu chuẩn Đo lường chất lượng và Vụ Khoa học công nghệ và chất lượng sản phẩm thuộc Bộ Nông nghiệp và phát triển nông thôn đề nghị, Bộ Khoa học, Công nghệ và Môi trường (nay là Bộ Khoa học và Công nghệ) ban hành.
Tiêu chuẩn này được chuyển đổi năm 2008 từ Tiêu chuẩn Việt Nam cùng số hiệu thành Tiêu chuẩn Quốc gia theo quy định tại khoản 1 Điều 69 của Luật Tiêu chuẩn và Quy chuẩn kỹ thuật và điểm a khoản 1 Điều 6 Nghị định số 127/2007/NĐ-CP ngày 01/08/2007 của Chính phủ quy định chi tiết thi hành một số điều của Luật Tiêu chuẩn và Quy chuẩn kỹ thuật.
ĐO LƯU LƯỢNG CHẤT LỎNG VÀ CHẤT KHÍ TRONG ỐNG DẪN KÍN - PHƯƠNG PHÁP ỨNG DỤNG MÁY ĐO LƯU LƯỢNG SIÊU ÂM THỜI GIAN ĐI QUA
Measurement of fluid folw in closed conduits - Methods using transit-time ultrasonic flowmeters
1. Phạm vi áp dụng
Tiêu chuẩn này hướng dẫn lựa chọn nguyên lý và các đặc tính thiết kế cơ bản của máy đo lưu lượng siêu âm dựa trên cơ sở đo hiệu (sai phân) thời gian đi qua để đo lưu lượng thể tích của chất lưu (chất lỏng và khí). Tiêu chuẩn này bao hàm các hướng dẫn vận hành thao tác, tính năng kỹ thuật và hiệu chuẩn. Tiêu chuẩn này chủ yếu trình bày các đầu đo (đầu chuyển đổi) ướt và chỉ dẫn vắn tắt cách lắp đặt đầu đo dạng kìm.
Phụ lục A của tiêu chuẩn này chỉ dẫn cách tính toán lưu lượng thể tích bằng cách đo kỹ thuật xung thời gian đi qua. Phụ lục B đưa ra các qui định về sử dụng và lắp đặt. Phụ lục C đưa ra danh mục các thông tin mà nhà chế tạo phải cung cấp.
2. Tiêu chuẩn trích dẫn
ISO 4006:1991 Đo lưu lượng chất lỏng và chất khí trong ống kín - Từ vựng và kí hiệu (Measurement of fluid flow in closed conduits - Vocabulary and symbols).
ISO 4185:1980 Đo lưu lượng chất lỏng trong ống dẫn kín - Phương pháp trọng lượng (Measurement of liquid flow in closed conduits - Weighting method).
ISO 8316:1987 Đo lưu lượng chất lỏng trong ống dẫn kín - Phương pháp cộng dồn chất lỏng trong thùng thể tích (Measurement of liquid flow in closed conduits - Method by collection of the liquid in a volumetric tank).
ISO 9300:1990 Đo lưu lượng khí bằng vòi phun venture dòng tới hạn (Measurement of gas flow by means of critical flow Venture nozzles).
ISO 9951:1993 Đo lưu lượng chất khí trong ống kín - Máy đo kiểu tuốc bin (Measurement of gas flow in closed conduits - Turbine meters).
Từ vựng quốc tế về thuật ngữ cơ bản và chung trong đo lường học (VIM), BIPM, IEC, IFCC, ISO, IUPAP, OIML, 1993 (International Vocabulary of Basic and General Terms in Metrology (VIM), BIPM, IEC, IFCC, ISO, IUPAC, IUPAP, OIML, 1993).
3. Định nghĩa
Trong tiêu chuẩn này sử dụng một số định nghĩa chính lấy từ tài liệu của VIM và ISO 4006 cùng một số định nghĩa khác như sau:
3.1. Phương pháp sai phân thời gian đi qua
Phương pháp thời gian bay qua
Phương pháp đo lưu lượng dòng chảy trong đó
tốc độ trung bình của chất lưu chảy dọc theo đường dẫn âm
được xác định bởi hiệu thời gian của hai
tín hiệu siêu âm lan truyền xuôi và ngược dòng chảy qua cùng một khoảng cách
trong dòng chảy chất lưu.
3.2. Phương pháp sườn trước
Phương pháp đo lưu lượng dòng chảy, trong đó thời gian đi qua của các xung siêu âm được xác định dựa trên sự thay đổi trạng thái (lật trạng thái) của tín hiệu thu nhận được tại mức biên độ cho trước (hình 1).

1 - Điểm trạng thái ở sườn trước
Hình 1 - Nguyên lý đo thời gian đi qua bằng phương pháp sườn trước
3.3. Phương pháp tần số lặp xung
Phương pháp vòng đơn
Phương pháp sai phân tần số
Phương pháp đo lưu lượng dòng chảy bằng máy đo lưu lượng siêu âm, theo đó hai dòng xung độc lập được truyền theo hai chiều đối ngược nhau sao cho, mỗi xung được phát đi ngay sau khi phát hiện được xung trước đó trong dòng chảy, và đo được độ sai phân giữa các tần số lặp lại xung theo hai chiều.
CHÚ THÍCH: Độ sai phân giữa các tần số lặp xung theo hai chiều là hàm số của tốc độ chất lưu.
3.4. Phương pháp điều khiển pha
Phương pháp nút hãm lamđa
Phương pháp đo lưu lượng dòng chảy, trong đó
tốc độ trung bình của chất lỏng dọc theo đường truyền
âm
được đo, dựa vào độ sai phân tần số
âm thanh với cùng bước sóng đi theo chiều đối ngược nhau qua dòng chảy chất lưu.
3.5. Phương pháp đi qua điểm không
Phương pháp đo lưu lượng dòng chảy trong đó thời gian đi qua của xung siêu âm được đo bằng tín hiệu đầu tiên (hay một tín hiệu khác được xác định trước) nhận được qua điểm không của tín hiệu thu nhận được sau nửa chu kì đầu tiên (Hình 2).

1 - Điểm lật trạng thái (tại điểm qua không)
Hình 2 - Nguyên lý đo thời gian đi qua theo phương pháp đi qua điểm không
3.6. Phương pháp nhiều đường dẫn
Phương pháp đo lưu lượng dòng chảy trong đó tốc độ trung bình dòng chất lưu được xác định trên một loạt đường truyền khác nhau.
3.7. Phương pháp xung đồng thời
Phương pháp đo lưu lượng dòng chảy theo thời gian đi qua và hiệu thời gian đi qua được xác định từ các tín hiệu được truyền đi đồng thời xuôi và ngược dòng chảy trên cùng một đường truyền âm.
3.8. Phương pháp dịch pha
Phương pháp đo lưu lượng dòng chảy trong đó tốc
độ trung bình chất lưu dọc theo đường dẫn âm
được
xác định từ sự dịch pha của các tín hiệu siêu âm trong dòng chất lưu.
3.9. Máy đo lưu lượng siêu âm USM
Máy đo lưu lượng mà tự nó phát ra tín hiệu siêu âm và nhận tín hiệu hồi âm ngược trở lại sau tác động ảnh hưởng của dòng chảy sao cho kết quả thu nhận được có thể được sử dụng như là giá trị đo lưu lượng dòng chảy.
CHÚ THÍCH: Máy đo lưu lượng siêu âm thông thường bao gồm đầu đo ( đầu chuyển đổi) siêu âm và thiết bị ước lượng kết quả từ các tín hiệu siêu âm phát ra và nhận về, và chuyển đổi các tín hiệu này thành tín hiệu đầu ra chuẩn hoá, tỷ lệ với lưu lượng dòng chảy.
3.10. Bộ tích phân lưu lượng
Thiết bị đo thể tích bằng cách tích phân lưu lượng thể tích theo thời gian.
3.11. Đầu đo siêu âm
Phần tử có chức năng chuyển năng lượng siêu âm thành tín hiệu điện và/hoặc ngược lại.
CHÚ THÍCH: Đầu đo siêu âm dùng trong máy đo lưu lượng kiểu thời gian đi qua thông thường làm việc ở cả hai chế độ phát và nhận.
3.12. Gá lắp dạng kìm
Cách gá lắp các đầu đo siêu âm lên mặt ngoài của ống dẫn kín để đo lưu lượng dòng chảy ở bên trong ống.
3.13. Ống đo lường
Đoạn ống dẫn kín được chế tạo đặc biệt, chứa các đầu đo siêu âm và đảm bảo phù hợp với đặc tính kỹ thuật của tiêu chuẩn về mọi phương diện.
3.14. Phân đoạn đo lường
Đoạn ống dẫn kín bao gồm ống đo lường, các phân đoạn ống vào và ra.
3.15. Đường dẫn âm
Đường dẫn thực tế của tín hiệu siêu âm giữa hai đầu đo.
3.16. Chiều dài đường dẫn LP
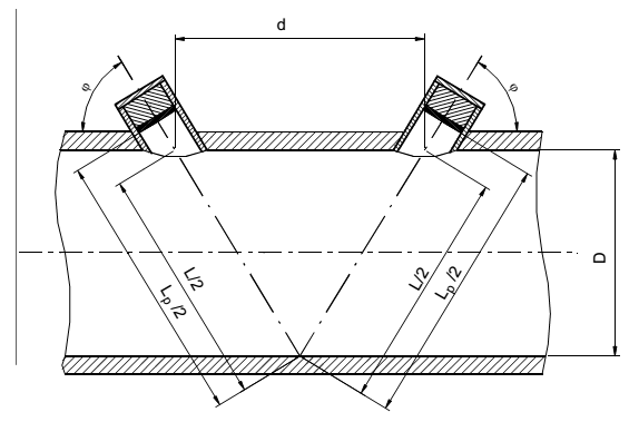
Chiều dài đường dẫn âm trong chất lưu ở trạng thái tĩnh giữa các bề mặt tiếp xúc của hai đầu đo (hình 3a và 3b).
3.17. Chiều dài dò sóng L
Chiều dài của một phần đường dẫn âm, trong chất lưu ở trạng thái tĩnh, bên trong ống dẫn kín (hình 3a và 3b).
3.18. Khoảng cách dò sóng d
Hình chiếu của chiều dài dò sóng trên đường song song với trục ống dẫn kín hay trục dòng chảy (hình 3a và 3b).
3.19. Góc nghiêng j
Góc giữa trục của các đầu đo siêu âm và đường song song với trục của ống dẫn kín (hình 3a).
3.20. Góc pha
Vị trí pha của dao động (sóng siêu âm)
3.21. Tốc độ lan truyền C
Tốc độ lan truyền của tín hiệu siêu âm tương quan với vị trí quan trắc ở trạng thái tĩnh.
3.22. Tốc độ siêu âm Co
Tốc độ của tín hiệu siêu âm trong chất lưu ở trạng thái tĩnh.
3.23. Tốc độ trung bình của chất lưu dọc theo đường
truyền âm ![]()
Tốc độ chất lưu trong mặt phẳng hình thành bởi đường dẫn âm và chiều dòng chảy.
3.24. Tốc độ chất lưu trung bình dọc trục ![]()
Tỷ số giữa lưu lượng thể tích qv (tích phân các thành phần dọc trục của tốc độ chất lưu trên mặt cắt ngang của ống đo lường) trên diện tích mặt cắt đo lường A.
3.25. Hệ số hiệu chỉnh phân bố tốc độ kh
Tỷ số giữa tốc độ trung bình dọc trục
của chất lưu trong máy đo khi máy đo
hoạt động và tốc độ trung bình dòng chảy
dọc
theo đường dẫn âm.
3.26. Xung siêu âm
Tín hiệu điện được phát ra bởi kích thích điện có thời gian duy trì xác định từ đầu đo siêu âm.
3.27. Sóng siêu âm liên tục
Tín hiệu điện được phát ra bởi kích thích điện liên tục từ đầu đo siêu âm.
3.28. Thời gian đi qua t
Thời gian cần thiết để xung siêu âm đi suốt qua đường dẫn âm.
![]()
3.29. Sai phân thời gian đi qua Δt
Sai phân giữa thời gian đi qua của các tín hiệu siêu âm lan truyền ngược và xuôi dòng.

a) Máy đo kiểu chùm xuyên tâm trực tiếp

b) Máy đo kiểu chùm xuyên đối xứng không trực tiếp
Hình 3 - Bố trí máy đo kiểu chùm đường dẫn đơn (đầu đo dạng ướt)
4. Ký hiệu và qui ước
Bảng 1 - Ký hiệu
|
Đại lượng |
Ký hiệu |
Thứ nguyên1) |
Đơn vị quốc tế SI |
|
Diện tích mặt cắt vuông góc |
A |
L2 |
m2 |
|
Tốc độ lan truyền trong dòng chảy chất lưu |
C |
LT-1 |
m/s |
|
Tốc độ dẫn âm trong chất lưu tĩnh |
co |
LT-1 |
m/s |
|
Đường kính trong của ống dẫn |
D |
L |
m |
|
Khoảng cách dò sóng |
d |
L |
m |
|
Tần số |
f |
T-1 |
s-1 |
|
Độ không đảm bảo tương đối |
E |
2) |
|
|
Độ không đảm bảo tuyệt đối |
e |
3) |
|
|
Số nguyên |
i |
2) |
|
|
Hệ số hiệu chỉnh phân bố tốc độ |
kh |
2) |
|
|
Chiều dài dò sóng |
L |
L |
m |
|
Chiều dài đường dẫn âm |
LP |
L |
m |
|
Số nguyên |
m |
2) |
|
|
Số nguyên (1,2,3...) |
n |
2) |
|
|
Lưu lượng thể tích |
qV |
L3 T-1 |
m3/s |
|
Chỉ số Reynold (liên quan với D) |
ReD |
2) |
|
|
Thời gian đi qua |
t |
T |
s |
|
Hiệu thời gian đi qua |
∆t |
T |
s |
|
Tốc độ tại chỗ của chất lưu |
n |
LT-1 |
m/s |
|
Tốc độ trung bình của chất lưu dọc theo đường dẫn âm |
|
LT-1 |
m/s |
|
Tốc độ trung bình dọc trục của chất lưu |
|
LT-1 |
m/s |
|
Trọng số của phép đo |
wi |
2) |
|
|
Góc pha |
g |
2) |
rad |
|
Bước sóng của dao động siêu âm |
l |
L |
m |
|
Góc nghiêng |
j |
2) |
rad |
|
Tần số chu kỳ |
w |
T-1 |
rad.s-1 |
|
Tỷ trọng của chất lưu |
r |
ML-3 |
kg/m3 |
|
1) M = khối lượng, L = chiều dài, T = thời gian. 2) Đại lượng không thứ nguyên. 3) Thứ nguyên của thông số này là thứ nguyên của đại lượng liên quan. |
|||
Bảng 2 - Quy ước
|
1 |
ngược dòng |
|
2 |
xuôi dòng |
5. Nguyên lý đo chung
Nguyên lý cơ bản dùng cho các máy đo lưu lượng siêu âm được mô tả trong tiêu chuẩn này là: âm thanh chuyển động cùng chiều với dòng chảy chất lưu nhanh hơn so với âm thanh chuyển động ngược chiều dòng chảy. Thời gian đi qua và độ sai phân thời gian là hàm số của tốc độ chất lưu. Phép đo có thể được tiến hành bằng cách đo trực tiếp thời gian đi qua hay thông qua tần số hoặc pha. Máy đo lưu lượng siêu âm có tính chất 2 chiều.
Lưu lượng thể tích qV được xác định bằng tích
của diện tích mặt cắt A với tốc độ trung bình dọc trục của chất lưu
.
5.1. Phát tín hiệu siêu âm
Tín hiệu siêu âm cần thiết để đo lưu lượng được phát ra và nhận trở lại bởi các đầu đo siêu âm (ví dụ được làm từ tinh thể áp điện).
Đầu đo chứa các tinh thể hay gốm áp điện được đưa vào trạng thái dao động khi có điện áp xoay chiều đặt vào giữa các đầu nối của chúng. Thành phần rung động này tạo ra sóng áp lực dọc (sóng siêu âm) trong chất lưu. Do hiệu ứng áp điện có tính chất thuận nghịch, sự va chạm của sóng âm lên thành phần áp điện này sẽ sinh ra tín hiệu điện giữa các đầu nối của chúng.
Tính chất âm học của đầu đo (dạng tia, tần số cộng hưởng, độ rộng băng.v.v) chủ yếu phụ thuộc vào kết cấu của đầu đo. Trên hình 4 cho sơ đồ thiết kế, và ở Hình 5 cho dạng tia của một đầu đo khả thi.

|
1- Lớp đệm phối hợp; |
6- Dây dẫn; |
|
2- Phần tử áp điện; |
7- Đệm kín chịu áp lực; |
|
3- Vỏ bảo vệ đầu đo; |
8- Gờ lắp ráp; |
|
4- Vật liệu đỡ; |
9- Giắc cắm cáp đầu đo. |
|
5- Vòng đệm hình chữ O; |
|
Chú thích: Vật liệu vỏ đầu đo có thể là kim loại, nhựa, v.v… tuỳ thuộc vào ứng dụng cụ thể.
Hình 4 - Thiết kế khả thi của một đầu đo kiểu áp điện

CHÚ THÍCH - Đầu đo phải có lớp đệm phối hợp như trong hình 4.
- Một vạch chia của thang hướng tâm trong biểu đồ cực tương ứng 10 dB.
Hình 5 - Dạng tia đo được của đầu đo có đường kính ngoài 2 cm ở tần số làm việc 162 kHz
5.2. Phương pháp thời gian đi qua
5.2.1. Phương pháp thời gian đi qua trực tiếp
Tốc độ lan truyền c sẽ là tổng của tốc độ truyền âm co và thành phần tốc độ chất lỏng ncosj theo chiều đường dẫn âm (hình 3a và 3b)
c = co ±
cosj (1)
Nếu đầu đo siêu âm được lắp đặt tiếp xúc trực tiếp bên trong ống đo lường (hình 8b), tín hiệu siêu âm có thể lan truyền xuôi và ngược dòng chất lưu. Thời gian đi qua ngược và xuôi dòng chảy của xung siêu âm trong chất lưu được tính theo các công thức sau
(2)
(3)
(4)
trong đó
(5)
(6)
Δt = t1 - t2 (7)
Nếu đầu đo được bố trí phía sau thành ống, chiều dài dò sóng L được thay bởi chiều dài đường dẫn LP. Thời gian đi qua t1 và t2 được xác định như các tín hiệu thời gian đi suốt qua LP
(8)
Giả sử tốc độ truyền âm trong chất lỏng ở trạng thái tĩnh và ở trong dòng chảy là như nhau, khi đó biểu thức (8) bù trực tiếp thời gian mà tín hiệu cần để đi qua vỏ bảo vệ (phụ lục A.3).
Các biểu thức (10), (14) và (15c) áp dụng cho các đầu đo ướt lắp đặt ngang mức. Đối với đầu đo lắp sau thành ống, L sẽ nhận giá trị của LP [biểu thức (8)].
5.2.2. Phương pháp xung lặp
Phương pháp vòng đơn
Thay vì thời gian đi qua t1 và t2 ở phương pháp trên, đối với phương pháp tần số lặp xung cần đo các tần số f1 và f2. Các tần số xuất hiện khi xung siêu âm tới đầu nhận, kích hoạt tín hiệu mới tại đầu phát.
(9)
khi đó biểu thức (6) sẽ có dạng:
(10)
5.2.3. Phương pháp dịch pha
5.2.3.1. Phương pháp sai phân pha
Thay vì đo trực tiếp tín hiệu thời gian đi qua, góc pha g1 và g2 của hai tín hiệu liên tục với tần số chu kỳ
w = 2.p.f (11)
có thể dùng để xác định t1 và t2 (Hình 6)
g1 = w.t1 = 2.p.f.t1 (12)
g2 = w.t2 = 2.p.f.t2 (13)

1- Tín hiệu ngược dòng; 2- Tín hiệu xuôi dòng
Hình 6 - Pha của tín hiệu siêu âm ngược và xuôi dòng
Từ biểu thức (12); (13) và (6) suy ra
(14)
5.2.3.2. Phương pháp điều khiển pha
Tần số không đổi f có thể xê dịch theo cả hai chiều bởi các tần số biến đổi f1 và f2. Nhờ điều khiển pha có thể nhận được tín hiệu theo cả hai chiều với bước sóng không đổi tại góc pha như nhau g1 = g2 = 2p m, (m là số nguyên bất kỳ).
Khi đó thời gian đi qua sẽ là
và
(15)
Thay vào biểu thức (6); có:
(15a)
Khi đặt "nút hãm lamda" l = L/m; suy ra
(15b)
Bước sóng l phụ thuộc vào tốc độ tức thời của âm
thanh trong chất lưu tĩnh co cũng như tốc độ dòng chảy. Thậm chí nếu
"nút hãm lamda" bị loại bỏ (do mất tín hiệu hay thay đổi chiều truyền
tín hiệu) thì nút hãm này có thể được thiết lập lại với số chu kỳ khác nhau, ví
dụ với các giá trị khác nhau của m. Giá trị của m chọn giống nhau cho cả hai
chiều truyền dẫn, bước sóng l
có thể được xác định từ l = co/
, với
= (f1+f2)/2.
Như vậy:
(15c)
5.3. Tính toán lưu lượng thể tích qv
5.3.1. Chỉ sử dụng các đường dẫn xuyên tâm
Lưu lượng thể tích qv được tính theo công thức sau
qv = A.
(16)
Trong phương pháp thời gian đi qua, chỉ xác
định tốc độ trung bình của chất lưu theo đường dẫn âm
.
Để xác định tốc độ trung bình của chất lưu qua mặt cắt A và từ đó xác định lưu lượng thể tích qv, hệ số hiệu chỉnh lan truyền tốc độ kh phải được biết trước. Hệ số kh phụ thuộc biên dạng tốc độ trong ống đo lường theo biểu thức:
(17)
Từ đó suy ra:
qv = kh.A.
(18)
Giá trị của kh là hàm số phụ thuộc chỉ số Reynold ReD (hình 7) và có thể tính gần đúng cho toàn dải phân bố tốc độ đạt được trong dòng chảy không xoáy đối xứng dọc trục, không thể xác định được kh nếu không biết rõ về sự chuyển đổi từ dòng chảy tầng sang dòng chảy rối. Máy đo xuyên tâm sử dụng hiệu chỉnh biên dạng động, đòi hỏi phải cho trước các trị số về độ nhám, đường kính và độ nhớt, sau đó ReD và kh có thể được ước lượng trên cơ sở đo n.
Nếu xuất hiện các điều kiện trên, cần thiết phải hiệu chuẩn dòng chảy (mục 7.2)
5.3.2. Sử dụng nhiều đường dẫn trong mặt phẳng song song
Khi
được
đo trong các mặt phẳng song song khác nhau (bố trí nhiều đường dẫn âm).
có thể được đánh giá bằng kỹ thuật
tích phân thích hợp trên diện tích mặt cắt A (điều 6.2.2 và phụ lục A.4). Ví
dụ, với các cặp thời gian đi qua ngược và xuôi dòng t1i và t2i
đo được trong n mặt phẳng song song và từ
, lưu lượng thể tích
có thể được tính bằng công thức
(19)
Ở đó tốc độ
được đo tại mặt phẳng
i (i = 1 đến n) và wi phụ thuộc vào kỹ thuật tích phân được áp dụng (phụ
lục A.4).
Cấu hình nhiều đường dẫn giúp cho việc giảm thiểu sai số trong việc đánh giá tốc độ dòng chảy từ các biên dạng dòng chảy.
6. Kiểu thiết kế
Hiện tại, trạng thái của máy đo lưu lượng siêu âm được mô tả bởi các đặc trưng sau:
a) Ống đo lường và đầu đo siêu âm như là phần tử sơ cấp với cách bố trí cho trước của đường dẫn âm và phương pháp gắn đầu đo vào ống dẫn.
b) Phần tử thứ cấp là khối điều khiển có chức năng xử lý tín hiệu, bao gồm toàn bộ hay các phần điện tử cần thiết. Khối điều khiển chứa các thiết bị điện tử cần thiết để vận hành đầu đo và thực hiện các phép đo, xử lý dữ liệu đo được, hiển thị và đưa ra và/hoặc ghi kết quả.
6.1. Đầu đo siêu âm
6.1.1. Cách bố trí đầu đo
Đối với máy đo lưu lượng siêu âm theo phương pháp thời gian đi qua, tối thiểu cần sử dụng hai đầu đo.
Các đầu đầu hoặc sẽ được đưa vào ống dẫn kín tiếp xúc với chất lưu hoặc tách biệt đối với chất lưu và chỉ cần gắn đầu đo dạng kìm bên thành ngoài ống dẫn kín (hình 8).
Đầu đo siêu âm được gắn vào ống dẫn kín nhờ bộ đồ gá chuyên dụng dưới một góc nghiêng hay vuông góc đối với thành ống. Trong mọi trường hợp, góc giữa chiều dòng chảy dọc trục và đường thẳng giữa các đầu đo luôn phải khác 90o. Các đầu đo có thể được bố trí nhô vào bên trong hay thụt ra sau ngoài thành ống.

1 - Mặt cắt hình tròn; 2 - Mặt cắt hình vuông; 3 - Dòng chảy tầng; 4 - Dòng chảy rối
Hình 7 - Giá trị gần đúng của kh phụ thuộc ReD
6.1.2. Cách bố trí đường dẫn đơn
Sự truyền âm giữa các đầu đo có thể là trực tiếp hoặc gián tiếp. Sử dụng thành bên trong ống kín như là gương phản xạ (hình 9a,b,c) giúp để gia tăng chiều dài đường dẫn âm.
Điều này hàm ý rằng đầu đo được lắp đặt cùng một bên hoặc ở các bên đối diện nhau trên ống kín (hình 9a,b,c).
Đối với máy đo đường dẫn đơn truyền âm trực tiếp, các đầu đo có thể được bố trí dọc theo đường kính nghiêng hay dây cung nghiêng (hình 9d, e). Đối với ống dẫn kín nhỏ, đầu đo có thể lắp đặt dọc trục như trong hình 9f.

a) Đầu đo tiếp xúc với chất lưu (kiểu thục ra sau ngoài thành ống).

b) Đầu đo tiếp xúc với chất lưu (kiểu ngang bằng).

c) Đầu đo lắp đặt ngoài ống kín (dạng kim)

d) Đầu đo nhô vào trong dòng chảy (bên trong thành ống)
Hình 8 - Các dạng bố trí đầu đo điển hình

a)

b)

c)

d)

e)

f)
a) Truyền trực tiếp ; b) Truyền gián tiếp (phản hồi bởi thành ống kín) kiểu chữ V;
c) Truyền gián tiếp (phản hồi bởi thành ống kín) kiểu chữ W; d) Đường kính nghiêng;
e) Dây cung nghiêng; f) Đầu đo lắp đặt dọc trục.
Hình 9 - Cách bố trí đường dẫn đơn
6.1.3. Cách bố trí nhiều đường dẫn
Máy đo nhiều đường dẫn thường dựa trên nguyên tắc truyền trực tiếp dọc theo hai hoặc nhiều dây cung hay đường kính nghiêng. Các đầu đo có thể được bố trí theo nhiều cách khác nhau nhằm giảm thiểu độ nhạy đối với dòng chảy xoáy và các biên dạng chảy không ổn định. Ví dụ, các trường hợp bố trí sau (hình 10a-d)
- mặt phẳng đơn;
- đường chéo đối xứng;
- đường chéo không đối xứng;
- cặp đôi;
Cách bố trí đường chéo làm giảm nhẹ cấu trúc cơ khí khi sử dụng nhiều đường dẫn.
Máy đo nhiều đường dẫn phải dựa trên mạng lưới phân cách các đường dẫn âm (Phụ lục A.6).

a)

b)

c)

d)
a) Mặt phẳng đơn; b) Đường chéo đối xứng; c) Đường chéo không đối xứng; d) Cặp đôi.
Hình 10 - Bố trí nhiều đường dẫn
6.1.4. Thiết kế đầu đo
Các chuẩn cứ quan trọng sau đây thường gặp trong thiết kế đầu đo:
- sự tương thích âm học và cơ học đối với ống dẫn kín và chất lưu;
- đối với đầu đo tiếp xúc với chất lưu, lựa chọn cách lắp đặt cơ khí có độ dẫn âm ít nhất từ đầu đo đến thành ống dẫn;
- đối với cách lắp đặt dạng kìm, cần nối ghép âm tốt giữa đầu đo với thành ống dẫn đầy chất lưu;
- có khả năng lắp đặt và tháo dỡ ở điều kiện vận hành;
- phù hợp theo nhiệt độ yêu cầu và dải nhiệt độ;
- chống ẩm;
- chống ăn mòn;
- các yêu cầu an toàn.
Đầu đo là thành phần nhạy cảm của máy đo lưu lượng, do vậy đặc tính của nó ảnh hưởng tới độ chính xác của máy đo.
Nếu đặc tính vật lý của đầu đo thay đổi theo thời gian, tỷ số tín hiệu/nhiễu có thể bị suy giảm. Do vậy đầu đo cần được giám sát chất lượng một cách ngặt nghèo trong quá trình chế tạo. Chỉ số những thay đổi có thể về tính năng kỹ thuật của đầu đo phải được cung cấp bởi các nhà chế tạo.
6.1.5. Cáp nối
Chiều dài cáp nối giữa đầu đo với thiết bị điều khiển là vấn đề được quan tâm đặc biệt, nhà chế tạo phải xác định chiều dài cực đại của cáp và các dữ liệu để xác định thời gian trễ (điều 6.2.4) do cáp gây ra.
6.2. Thiết bị điều khiển
6.2.1. Vận hành đầu đo
Cặp đôi đầu đo có thể được kích thích đồng thời hay luân phiên với một hoặc nhiều đường truyền dẫn trong mỗi hướng. Tần số sóng âm, độ rộng xung và tốc độ lặp lại xung có thể thay đổi, phụ thuộc chính vào dòng chất lưu và chiều dài đường dẫn LP. Mỗi cặp đầu đo trong cấu hình nhiều đường dẫn có thể vận hành độc lập, hay theo kiểu phân kênh.
Trong máy đo nhiều đường
dẫn, các phép đo thời gian đi qua cho mỗi tuyến được hình thành trước khi tốc
độ trung bình dọc trục của chất lỏng
được xác định.
6.2.2. Xử lý số liệu
Khâu xử lý số liệu, hỗ trợ để ước lượng lưu lượng thể tích từ thời gian đi qua đo được, phải có khả năng loại bỏ các phép đo không hợp lệ và nhiễu ồn v.v. Lưu lượng thể tích đọc qua hiển thị có thể là kết quả đo của một hay nhiều giá trị tốc độ chất lưu độc lập.
6.2.3. Hiển thị và tín hiệu cửa ra
Hầu hết các máy đo lưu lượng có vài cửa ra, với đặc tính tiêu chuẩn hay lựa chọn. Bộ hiển thị có thể chỉ tốc độ dòng chảy dưới dạng tương tự hay số, dung lượng chất lưu tích lũy tương tự hoặc số và/hoặc chiều dòng chảy. Tín hiệu cửa ra bao gồm một hay nhiều các đại lượng: dòng điện, điện áp và dãy xung tỷ lệ với tốc độ dòng chảy (lưu lượng). Các cửa ra này có thể nối điện hay cách ly với nhau. Khối điều khiển cũng có thể có chức năng báo và chuẩn đoán.
7. Độ không đảm bảo đo
Nguồn gốc độ không đảm bảo đo (KĐBĐ) bao gồm:
- độ KĐBĐ của dòng chảy và hệ số hiệu chỉnh phân bố tốc độ kh hay trọng số phép đo wi;
- độ KĐBĐ của các tham số hình học của ống đo lường;
- độ KĐBĐ của thời gian đo.
7.1. Qui trình hiệu chuẩn
7.1.1. Đo lưu lượng thể tích chất lưu theo kiểu bố trí một đường dẫn
Tốc độ trung bình của chất lưu dọc theo đường dẫn âm được tính theo biểu thức (6). Lưu lượng thể tích tính theo biểu thức (18). Kết hợp hai công thức trên cho đường kính trong D của ống kín, với A = pD2/4 có
(20)
Độ KĐBĐ của qV nhận được từ phép vi phân toàn phần biểu thức trên chia cho qV
(21)
Bình phương hai vế các thành phần và cộng lại được
(22)
trong đó:
Eqv - độ KĐBĐ tương đối của lưu lượng thể tích đo được;
Ekh - độ KĐBĐ tương đối của hệ số hiệu chỉnh phân bố tốc độ;
ED - độ KĐBĐ tương đối của đường kính ống (diện tích mặt cắt);
Ed - độ KĐBĐ tương đối của khoảng cách dò sóng;
EL - độ KĐBĐ tương đối của chiều dài dò sóng;
Et1 - độ KĐBĐ tương đối của thời gian đi qua t1;
Et2 - độ KĐBĐ tương đối của thời gian đi qua t2.
Đạo hàm các biểu thức trên, giả sử toàn bộ các tham số độc lập nhau, có thể lấy bình phương các độ KĐBĐ thành phần cộng lại, để nhận được bình phương độ KĐBĐ liên hợp tương đối.
7.1.2. Đo lưu lượng thể tích chất lưu theo kiểu bố trí nhiều đường dẫn
Lưu lượng thể tích qv có thể nhận được từ các phép đo trên vài đường dẫn nhờ phép tích phân gần đúng (công thức 19), kết hợp (19) với (6) được
(23)
Độ KĐBĐ tương đối của qV nhận được nhờ vi phân toàn phần biểu thức (23) và chia cho qv:
(24)
Bình phương các thành phần, giả sử chúng độc lập với nhau, cộng vào được
(25)
Trong đó các thành phần độ KĐBĐ được tính tương tự theo mục 7.1.1 và Ewi là độ KĐBĐ tương đối theo wi.
7.2. Yếu tố ảnh hưởng
7.2.1. Các yếu tố liên quan với lưu lượng không ổn định
Dòng chảy không ổn định gây nên độ KĐBĐ của
phép đo
và kết quả tính toán
.
Độ KĐBĐ phụ thuộc:
- dòng chảy quanh đầu chuyển đổi;
- sự có mặt của các thành phần chảy ngang (xoáy);
- hình dạng của biên dạng tốc độ dọc trục;
- dao động xung;
Độ KĐBĐ có thể giảm bằng cách:
- tăng chiều dài đường ống thẳng trước và sau vị trí đầu đo;
- sử dụng các phương tiện ổn định dòng;
- sử dụng máy đo nhiều đường dẫn bằng kỹ thuật tích phân phù hợp cho điều kiện thực;
- tiến hành hiệu chuẩn lưu lượng ở điều kiện tương tự điều kiện thực.
7.2.2. Yếu tố hình học
Sai số của D và L gây nên phần trăm sai số không đổi đối với lưu lượng thể tích và tốc độ, lớn gấp hai lần sai số tương ứng của D và L. Sai số của d gây nên phần trăm sai số không đổi đối với tốc độ, có cùng giá trị sai số tương đối của d.
Độ KĐBĐ phụ thuộc:
- phương pháp xác định D và độ tròn;
- sai số đo lường;
- sự giãn nở phân đoạn đo do áp lực và nhiệt độ;
Độ KĐBĐ có thể giảm bởi bằng cách:
- phương pháp xác định D thích hợp (mục 8.1.1);
- chế tạo chính xác độ tròn của ống đo lường;
- sử dụng thiết bị đo kích thước hình học chính xác;
- bù giãn nở phân đoạn đo đo lường bởi nhiệt độ và áp lực;
- tiến hành hiệu chuẩn dòng chảy ở điều kiện gần điều kiện thực.
7.2.3. Yếu tố dò tín hiệu
Các phương pháp đo tốc độ có thể bị ảnh hưởng đáng kể khi tín hiệu siêu âm không ổn định. Quá trình dò tín hiệu càng trở nên khó khăn, dẫn đến sai số đo thời gian đi qua và bởi vậy làm giảm độ chính xác của phép đo. Từ đó cũng dẫn đến nhận dạng sai lỗi "điểm thời gian" do thay đổi biên độ tín hiệu nhận được hay do dạng sóng bị méo hoặc nhiễu ồn. Tuy nhiên có thể tránh được tín hiệu sai lỗi nếu sử dụng các phép thử thích hợp. Sau đây có thể kể ra ba nguồn tín hiệu sai lỗi: các vấn đề về kỹ thuật điện, thay đổi dòng chảy và âm học.
Cụ thể hơn:
- nhiễu điện;
- dòng chảy phụ (chéo hay xoáy);
- nhiều pha trong phân đoạn đo;
- sự nhiễm bẩn trên và xung quanh đầu đo;
- sự thay đổi tỷ trọng quá mức trong phân đoạn đo lường;
- dòng chảy rối quá lớn;
- nhiễu môi trường quá lớn (dòng chảy phát sinh hay do nguồn bên ngoài như các van điều khiển);
- ồn nội tại (tự phát sinh);
- lắp đặt đầu đo gần cửa ra của van nhạy cảm cao.
Thông thường các vấn đề được nhận biết tốt nhất bởi các phép tự chuẩn đoán, tự kiểm tra đặc tính và chỉ thị cảnh báo trạng thái. Các vấn đề ảnh hưởng dòng chảy sẽ được khắc phục tốt nhất nếu phân vùng một cách chi tiết phân đoạn đo lường và khống chế điều khiển các điều kiện chất lưu.
Các vấn đề âm học sẽ được giải quyết tốt nhất bằng cách đảm bảo tỷ số tín hiệu/nhiễu cao. ồn ngẫu nhiên (điện, ảnh hưởng dòng chảy, âm học) thông thường ở mức trung bình sẽ được loại bỏ. Nhiễu nội tại có thể khó phát hiện và khó loại bỏ hơn, sẽ gây nên sai số thời gian trong phép đo thời gian đi qua.
7.2.4. Yếu tố đo và xử lý thời gian
Độ KĐBĐ của t1, t2 và Δt chịu ảnh hưởng của:
- kỹ thuật dò tín hiệu;
- phương pháp đo thời gian (thời gian đi qua, độ di tần);
- độ phân giải thời gian;
- ước lượng thời gian phi chất lưu, bao gồm thời gian trễ cần thiết để đi qua độ dài cáp, mạch điện tử, đầu đo và thành ống;
- thời gian cần thiết xử lý và tính toán chính xác;
- ảnh hưởng của điều kiện môi trường đối với mạch điện tử;
- thời gian trễ trong vỏ bảo vệ đầu đo.
Độ KĐBĐ có thể được giảm thiểu nhờ:
- cách ly ống đo lường để tránh sự thay đổi đột ngột của nhiệt độ;
- kiểm tra điểm "không" ở điều kiện thao tác thực.
8. Hiệu chuẩn
8.1. Hiệu chuẩn khô
8.1.1. Thông số hình học
Để đạt được độ chính xác cao, trị số của D phải là giá trị đường kính trong trung bình trên suốt chiều dài của ống đo lường. Đường kính trong trung bình là trung bình cộng các trị số đo của ít nhất mười hai đường kính, đó là bốn đường kính bố trí tại các góc kề gần bằng nhau, phân bố lần lượt trên mỗi một trong ba mặt cắt cố định dọc theo chiều dài ống đo lường chứa toàn bộ các đầu đo. Không đường kính nào được sai khác giá trị trung bình của mười hai đường kính hơn 0,3%.
8.1.2. Thời gian và thời gian trễ
Có thể đo được thời gian trễ cho hợp bộ đầu đo và khối đo điện tử xác định.
Một trong các phương pháp là lắp đặt hai đầu đo vào phần tử (tế bào) thử nghiệm. Khoảng cách giữa các đầu đo phải được đo chính xác. Phần tử thử nghiệm được nạp đầy chất lưu, có tốc độ dẫn âm đã biết. Trong phần tử thử nghiệm này phải đảm bảo điều kiện tĩnh (dòng chảy bằng không).
CHÚ THÍCH: Thay đổi thời gian trễ không gây sai số điểm "không", nhưng thay đổi đầu đo có thể gây nên sai số điểm "không", vì thay đổi định hướng hay thay đổi tần số trong đầu đo.
Thời gian đi qua thực của tín hiệu trong chất lưu có thể tính được theo các biểu thức (2) và (3). Thời gian đi qua của tín hiệu ngược dòng t1 và xuôi dòng t2 bằng nhau (dòng chảy "không") và vì vậy có thể tính được. Hệ thống đo siêu âm đưa ra thời gian đi qua t1' và t2' bao gồm cả thời gian trễ cần thiết để đi qua mạch điện tử, đầu đo , cáp v.v. Thời gian trễ này có thể tính được dễ dàng từ t1' - t1 và t2' - t2.
Phương pháp này đòi hỏi có hiểu biết chính xác về tốc độ âm thanh trong chất lưu nạp vào phần tử thử nghiệm. Mọi sai số về tốc độ dẫn âm đều ảnh hưởng đến đặc tính máy đo lưu lượng. Sai số này gây nên sự xê dịch hệ thống đối với đường đặc tính, bởi sai số của tốc độ dẫn âm gây độ lệch điểm "không" hệ thống đối với các thời gian trễ áp dụng. Phương pháp này có thể được áp dụng để thử đầu đo và kiểm tra tại hiện trường đối với hiệu chuẩn ban đầu.
CHÚ THÍCH: Có thể khẳng định là phép thử này đòi hỏi trạng thái cân bằng nhiệt, hiểu biết tốt về đo lường tuyến tính chính xác chất lưu (đặc biệt là đối với chất khí), v.v…
Dưới đây cho phương pháp khác để xác định thời gian trễ trong cáp và đầu đo, phương pháp này đòi hỏi lắp đặt cặp đầu đo ở nơi cần đo thời gian đi qua, phải đo tại hai chiều dài đường dẫn khác nhau La và Lb trong cùng một điều kiện như nhau. Các phép đo phải được tiến hành trong cùng một điều kiện môi trường cho cả hai đường dẫn.
Máy đo siêu âm sẽ đo thời gian đi qua ta' và tb' trong đó bao gồm khoảng thời gian trễ td cho cả hai chiều dài bằng nhau
ta' = ta + td (26)
tb' = tb + td (27)
Thời gian đi qua ta và tb trong chất lưu được tính bằng La/c0 và Lb/c0. Đảm bảo biết chính xác khoảng cách La và Lb, trong biểu thức (27) và (28) còn 2 đại lượng chưa biết là c0 và td. Rõ ràng, bài toán có thể giải được nhờ tính c0 và td theo các công thức sau
(28)
(29)
Phương pháp này không yêu cầu hiểu biết về tốc độ dẫn âm trong chất lưu bởi vì tính được nó.
8.1.3. Phân bố tốc độ
8.1.3.1. Hệ số kh
Hệ số kh có thể tính được dựa trên chỉ số Reynold, theo biên dạng dòng chảy và kỹ thuật tích phân. Tuy nhiên, sai số của hệ số hiệu chỉnh có thể gây phi tuyến và/hoặc sai số hệ thống. Sai số này không cần quan tâm trong hiệu chuẩn khô.
8.1.3.2. Trọng số đo
Trong cách bố trí nhiều đường dẫn, số dây cung, cách bố trí dây cung và kỹ thuật tích phân được sử dụng để giảm thiểu đáng kể độ KĐBĐ cũng như hiệu ứng thay đổi của biên dạng dòng chảy (phụ lục A.1).
8.2. Hiệu chuẩn dòng chảy
Trong một số trường hợp, hiệu chuẩn dòng chảy phải xuất phát từ các yêu cầu ứng dụng, hay đo lường pháp quyền. Mỗi phép hiệu chuẩn dòng chảy có độ KĐBĐ, phụ thuộc vào chất lưu, phương pháp hiệu chuẩn và kiểu tính năng hiệu chuẩn. Hai phương pháp cơ bản hiệu chuẩn lưu lượng được sử dụng để thử đặc tính máy đo:
- hiệu chuẩn dòng chảy trong phòng thí nghiệm;
- hiệu chuẩn dòng chảy ngoài hiện trường (không áp dụng phổ biến cho chất khí).
Hiệu chuẩn dòng chảy vẫn thường được áp dụng để giảm độ KĐBĐ sau hiệu chuẩn khô.
Thông thường kết quả hiệu chuẩn dòng chảy luôn chứa thành phần sai số hệ thống, như là hàm số của lưu lượng, có thể sử dụng để hiệu chỉnh tín hiệu cửa ra của máy đo. Hiệu chuẩn cần được tiến hành ở điều kiện gần (đến mức có thể) với điều kiện lắp đặt và đảm bảo rằng trạm thử nghiệm không ảnh hưởng lên kết quả thử. Tối thiểu phải tuân thủ các chỉ dẫn và điều kiện lắp đặt của nhà chế tạo.
8.2.1. Hiệu chuẩn dòng chảy trong phòng thí nghiệm
Để cải thiện độ chính xác, hiệu chuẩn phải được tiến hành phù hợp điều kiện thí nghiệm thực tiễn theo tiêu chuẩn quốc tế (ví dụ ISO 4185, ISO 8316, ISO 9300). Hiệu chuẩn phải được thực hiện với số thí nghiệm thống kê đáng kể ở trạng thái làm việc trên toàn dải lưu lượng.
Độ chính xác hiệu chuẩn máy đo lưu lượng được xác định bởi các thành phần sai số ngẫu nhiên và sai số hệ thống trong phép đo lưu lượng thể tích và bởi các sai số ngẫu nhiên và sai số hệ thống liên quan với các phép đo trong phòng thí nghiệm.
8.2.2. Hiệu chuẩn dòng chảy ngoài hiện trường
ảnh hưởng của điều kiện lắp đặt thực tế ngoài hiện trường lên các yếu tố máy đo phải được hiệu chỉnh theo kết quả hiệu chuẩn ngoài hiện trường hay bằng cách hiệu chuẩn mô phỏng điều kiện hiện trường trong phòng thí nghiệm. Hiệu chuẩn phải được tiến hành với chỉ số Reynold gần nhất có thể so với chỉ số Reynold trong ứng dụng thực tế.
PHỤ LỤC A
(tham khảo)
Tính lưu lượng thể tích theo thời gian đi qua sử dụng kỹ thuật xung
A.1. Kỹ thuật đo thời gian đi qua
Cần thiết phải đo thời gian đi qua của xung siêu âm truyền từ đầu phát đến đầu nhận. Mỗi đầu đo đòi hỏi phải làm việc cả hai chức năng như đầu phát và đầu nhận nếu thời gian đi qua được đo theo cả hai hướng (ngược dòng và xuôi dòng).
Phép đo trực tiếp thời gian sóng âm đi qua có thể được thực hiện theo những cách khác nhau trong mạch điện tử máy đo lưu lượng. Nguyên lý cơ bản, chung cho tất cả các kỹ thuật và có thể được tóm tắt sau đây, không đi sâu chi tiết vào kỹ thuật dò sóng với các phương pháp thiết kế điện tử khác nhau.
Sử dụng kỹ thuật xung đo trực tiếp thời gian đi qua dựa trên cơ sở phát và nhận xung siêu âm và đo thời gian giữa xung phát và xung nhận. Hình A.1 minh họa xung phát và xung nhận, ví dụ khi thời gian đi qua như khoảng thời gian giữa điểm qua "không" thứ ba của xung phát và điểm qua "không" thứ ba của xung nhận. Vấn đề trọng yếu đặt vào kỹ thuật dò sóng, là để nhận dạng một hoặc một vài điểm qua "không" định trước hoặc số chu kỳ xung nhận. Điều này không dễ dàng do giới hạn độ rộng băng tần đầu đo và sự điều biến xung bởi dòng chất lưu.
Kỹ thuật lật trạng thái (triger) tại mức biên độ cho trước của xung nhận và sau đó dò điểm qua "không" thứ nhất được sử dụng rộng rãi (hình A1). Kỹ thuật này phải được lọc bằng một xung dài hơn và dò một số điểm qua "không" trong phần ổn định hơn của xung (hình A.2). Bằng cách này tránh được thành phần nhiễu của xung khi chu kỳ thay đổi. Hơn nữa, đối với mỗi xung thời gian đi qua được tính bằng giá trị trung bình của các kết quả đo thời gian đi qua riêng rẽ tương ứng với mỗi điểm qua "không".

a) Xung phát b) Xung nhận
1 - Mức lật trạng thái; 2 - Những điểm qua "không" đầu tiên; 3 - Thời gian
CHÚ THÍCH 1: Thời gian xung đi qua bằng t1 hoặc t2
CHÚ THÍCH 2: Thời gian đi qua là khoảng thời gian giữa điểm qua "không" thứ 3 của các xung phát và xung nhận.
Hình A.1 - Dò xung bằng lật trạng thái tại mức biên độ cho trước lần lượt điểm qua "không" đầu tiên

a) Xung phát b) Xung nhận
1- Mức lật trạng thái;
2- Những điểm qua "không" tại phần ổn định của xung, t = 0;
3- Những điểm qua "không" tại phần ổn định của xung, t1=t hoặc t=t2.
Chú thích: - Thời gian đi qua
hoặc ![]()
- Thời gian đi qua được xem là khoảng thời gian trung bình giữa điểm qua "không" của các xung phát và xung nhận.
Hình A.2 - Dò xung bằng phương pháp lật trạng thái tại mức biên độ cho trước và dò các điểm qua "không" ở phần ổn định của xung
Phương pháp khác để nhận dạng (phân biệt) điểm qua "không" hoặc chù kỳ xung là tạo dáng xung hoặc sử dụng mẫu biên độ tương đối ổn định đối với phần nhiễu của xung.
Cách tiếp cận khác cũng được sử dụng là kỹ thuật tương quan, ví dụ tương quan-chéo xung nhận sử dụng phương pháp biểu diễn số dạng sóng kích thích (hình A3). Thời gian đi qua được tính bằng cách xác định đỉnh hàm tương quan-chéo. Biến số của phương pháp này, sai phân thời gian đi qua được xác định trực tiếp bằng tương quan-chéo của xung ngược dòng với xung xuôi dòng nhận được.
Trong máy đo đơn kênh, thời gian đi qua ngược dòng và xuôi dòng phải được đo đồng thời hoặc luân phiên.
Trong máy đo đa kênh, hai thời gian đi qua ngược dòng và xuôi dòng đối với mỗi đường dẫn, thường được đo một lần cho toàn bộ các kênh trước khi thực hiện đo tốc độ thời gian đi qua cho bất kỳ đường dẫn nào.
A.2. Tính toán thời gian đi qua trung bình
Trên cơ sở tập hợp n lần đo thời gian đi qua xuôi dòng và n lần ngược dòng có thể tính được giá trị trung bình thời gian đi qua ngược dòng và xuôi dòng t1 và t2.
Thời gian đi qua phải được kiểm tra và xoá các giá trị sai lỗi khỏi bảng dữ liệu. Có nhiều phương pháp khác để thực hiện công việc này. Các trị số phải luôn luôn được kiểm tra để đảm bảo tốc độ dòng chảy và tốc độ siêu âm là phù hợp.

a) Xung phát; b) Xung nhận.
1 - Mức lật trạng thái; 2 - Hàm tự tương quan; 3 - Thời gian đi qua
Hình A.3 - Đo thời gian đi qua bằng kỹ thuật tương quan
Trị số trung bình của t1 và t2 và độ lệch chuẩn s của n lần thời gian đi qua được tính:
(A.1)
(A.2)
(A.3)
(A.4)
Trị số trung bình và độ lệch chuẩn của tốc độ dẫn âm được tính theo công thức
(A.5)
(A.6)
(A.7)
Trên cơ sở trị số trung bình và độ lệch chuẩn của thời gian đi qua, trị số trung bình và độ lệch chuẩn của tốc độ dẫn âm phải thiết lập kỹ thuật lọc thích hợp. Ví dụ, thời gian đi qua dẫn đến kết quả ước lượng không thực tế về tốc độ dẫn âm phải bị loại bỏ. Tương tự, thời gian đi qua nằm ngoài khoảng cho trước, quanh giá trị trung bình cũng phải được loại bỏ. Thủ tục như vậy sẽ chỉ áp dụng cho phân bố thời gian đi qua đơn trị.
Thời gian đi qua trung bình và tốc độ dẫn âm trung bình được tính toán thông qua bộ lọc thời gian đi qua.
A.3. Lý thuyết mở rộng về máy đo lưu lượng thời gian đi qua
A.3.1. Phương trình dạng sóng
Giải pháp chính thức của phương trình sóng có thể nhận được trong trường hợp các đầu đo được bố trí
trên thành ống và dòng chảy chất lưu đồng nhất. Từ đó đưa ra các phương án tính chính xác hơn so với phương trình (2) và (3) đối với thời gian đi qua ngược dòng và xuôi dòng:
(A.8)
(A.9)
Tuy nhiên, các phương trình này vẫn dẫn đến
cùng một phương trình (6) cho tốc độ dòng chảy
.
A.3.2. Đầu đo đặt sau
thành ống
Sau đây, cấu hình được nghiên cứu với các đầu đo đặt sau thành ống nhìn trực diện qua dòng chảy chất lưu (hình A.4), trong đó xác định trục và dẫn ra nhiều ký tự.

1 - Đầu đo; 2 - Dòng chảy chất lưu, ở đó LP2 = X2 +Y2; LP = AB; D/Y= d/X;
3 - Phân bố minh họa; 4 - Tốc độ dòng chảy "không" bị loại trừ trong dòng chảy.
Hình A.4 - Máy đo lưu lượng thời gian đi qua với đầu đo đặt thụt ra phía sau thành ống
Xem xét một xung siêu âm rời khỏi đầu chuyển đổi A ở góc j2 dọc theo trục ống, với dòng chảy chất lưu theo hướng x và tốc độ n(y). Kết thúc, khoảng cách quãng đường đi được bởi xung theo thời gian t trong dòng chảy chất lưu với tốc độ dẫn âm c0, theo hướng y.
y = c0 sinj2t (A.10)
và cho một khoảng tăng đủ nhỏ x
dx = [c0 cosj2 + n(y)] dt (A.11)
Sau thời gian đi qua t2
y = c0 t2 sinj2 (A.12)
và nếu xung tới B, nó phải đi quãng đường X theo hướng x với thời gian đi qua t2, vậy
(A.13)
(A.14)
(A.15)
Bởi vì tốc độ dòng chảy bằng không ngoài phạm
vi dòng chảy và có giá trị trung bình
trên
độ rộng phân đoạn dòng chảy D, nên
(A.16)
Vì vậy
(A.17)
(A.18)
Bởi vì D/Y = d/X nên phương trình có thể sắp xếp lại:
(A.19)
trong đó d là hình chiếu của đoạn AB theo hướng x trong dòng chảy
Từ (A.12) và (A.19) với sin2j2 + cos2j2 = 1
(A.20)
trong đó LP là khoảng cách giữa 2 đầu đo và LP2 = X2 + Y2. Do vậy
(A.21)
Xung đi từ B đến A, với thời gian đi qua t1 và rời khỏi B theo góc j1 so với trục ống. Phương trình tương ứng (A.9), (A.12) và (A.19) ở trên là:
y= c0 t1 sinj1 (A.22)
(A.23)
(A.24)
Trừ (A.21) cho (A.24) và sắp xếp lại có:
(A.25)
Dễ dàng nhìn thấy phương trình này chỉ bao gồm các thông số có thể đo được, đó là kích thước LP và d (hình A.4), và thời gian đi qua t1 và t2. Không có các hằng số thực nghiệm.
Tuy nhiên, giả thuyết rằng tốc độ dẫn âm ở trong chất lưu tĩnh (c0) là tương tự như trong dòng chảy chất lưu, có nghĩa là chất lưu đẳng nhiệt.
A.4. Tính tốc độ dòng chảy trung bình dọc trục
![]()
Đối với máy đo một đường dẫn, tốc độ trung
bình dòng chảy dọc trục
là giá trị trung
bình trên diện tích mặt cắt ngang ống kín được tính theo công thức
(A.26)
Đối với máy đo một đường dẫn kiểu xuyên tâm, kh được tính theo công thức:
(A.27)
cho dòng chảy hoàn toàn rối, và
kh = 0,75 (A.28)
cho dòng chảy tầng.
Đối với máy đo một đường dẫn kiểu dây cung, tức là đường dẫn âm dọc theo dây cung nghiêng, ở đó vị trí bên của đầu đo siêu âm cách đường tâm một khoảng r, kh được tính như sau:
(A.29)
trong đó
là
tốc độ trung bình dòng chảy dọc trục tại r. Tính
và
theo định luật phân bố tốc độ
(A.30)
![]()
(A.31)
với r = R/2 giá trị trung bình của kh là 0,996 (hằng số Reynold trong dải 104 đến 108).
Với vị trí đường dẫn bên riêng phần, sự thay
đổi của kh ít hơn 4% trên toàn phạm vi hằng số Reynold đã
công bố. Đối với máy
đo kiểu dây cung, vị trí bên của đầu đo được qui định là r = R/2.
Vì điều kiện giả thuyết để tính kh là rất hiếm khi được thỏa mãn, hiệu chuẩn dòng chảy phải được thực hiện trên thiết bị thử hoặc sau lắp đặt tại nơi sử dụng, nếu có thể bố trí được.
Với ống hình tròn, hàm biểu diễn lý thuyết
có dạng
(A.32)
trong đó ![]()
là tốc độ dòng chảy trung bình dọc theo cung D(r) có vị trí bên r, và A là diện tích mặt cắt đường ống.
Trong máy đo nhiều kênh
được tính bởi tập hợp các giá trị rời
rạc r. Bằng kỹ thuật tích phân số thích hợp,
có
thể tính được dựa trên
đã tính cho mỗi đường dẫn.
Vì vậy, tính được
, ví dụ bằng kỹ thuật tích
phân Gauss với
(A.33)
trong đó wi là trọng số phụ thuộc vào kỹ thuật tích phân được áp dụng, và ri là vị trí bên của đầu đo siêu âm.
Đây là kỹ thuật được sử dụng rộng rãi cho tích phân số. Phương pháp này đã được thực hiện theo nhiều cách khác nhau trong máy đo lưu lượng siêu âm nhiều đường dẫn.
Ví dụ như trong, bảng A.1 cho trọng số phép đo và vị trí đầu đo bên cho 2 phép tích phân Gauss với hàm trọng số f(r) = 1 (Gauss) và f(r) = (R2-r2)1/2 (Gauss-Jacobi)
Bảng A.1 - Ví dụ về vị trí đầu đo chuẩn hóa và lấy trọng số phép đo tích phân Gauss hàm trọng số f(r) =1 (Gauss) và f(r) = (R2-r2)1/2 (Gauss-Jacobi), tương ứng
Dưới đây, Fi được xác định như: 
|
Kỹ thuật tích phân |
2 đường dẫn |
3 đường dẫn |
4 đường dẫn |
|||
|
ri/R |
wi |
ri/R |
wi |
ri/R |
wi |
|
|
Gauss |
-0,577 4 0,577 4 |
Fi Fi |
-0,774 6 0,000 0 0,774 6 |
0,555 5 Fi 0,888 8 Fi 0,555 5 Fi |
-0,861 1 -0,340 0 0,340 0 0,861 1 |
0,347 9 Fi 0,652 1 Fi 0,652 1 Fi 0,347 9 Fi |
|
Gauss-Jacobi |
-0,5 0,5 |
0,785 4R2 0,785 4R2 |
|
|
-0,809 0 -0,309 0 0,309 0 0,809 0 |
0,217 1 R2 0,568 3 R2 0,568 3 R2 0,217 1 R2 |
|
Chú thích: Phương pháp Gauss-Jacobi áp dụng cho cấu trúc số đường dẫn thường gặp. |
||||||
Ngoài ra,
được
tính bằng cách đưa đa thức vào tốc độ đã tính
cho
mỗi đường dẫn, và sau đó tích phân đa thức để nhận được
.
A.5. Tính lưu lượng thể tích
Lưu lượng thể tích được tính từ biểu thức:
(A.34)
A.6. Cấu trúc đường dẫn
Cơ bản có ba loại máy đo lưu lượng nhiều đường dẫn dựa trên cấu trúc của chúng:
- máy đo lưu lượng đường dẫn chéo;
- máy đo lưu lượng đường dẫn song song;
- máy đo lưu lượng đường dẫn phản xạ.
Máy đo lưu lượng đường dẫn chéo sử dụng một số đường dẫn bố trí chéo. Lưu lượng chảy qua được tính bằng giá trị trung bình các giá trị đo tốc độ riêng.
Máy đo lưu lượng đường dẫn song song sử dụng một số đường dẫn (nhìn chung không nhiều hơn 5) song song với nhau. Để bố trí đường dẫn và tính toán lưu lượng, áp dụng trọng số cho các tốc độ dòng chảy khác nhau, và sử dụng các phương pháp tích phân số (ví dụ như tích phân Gauss).
Máy đo lưu lượng ma trận sử dụng lưới đường dẫn âm phản xạ (Hình A.5). Lưới các đường dẫn âm phản xạ đưa ra thêm thông tin về sự méo dạng tốc độ và lưu lượng.
Giá trị tốc độ trung bình dòng chảy chất lưu dọc trục, và từ đó lưu lượng thể tích, được xử lý bằng việc kết nối thông tin khác nhau nhận được từ các đường dẫn khác nhau.

Hình A.5 - Cấu trúc ma trận của các đường dẫn âm
PHỤ LỤC B
(tham khảo)
Quy định về sử dụng và lắp đặt
B.1. Yêu cầu chung
Trong phụ lục này, mô tả các qui định sử dụng và lắp đặt máy đo lưu lượng siêu âm. Ngoài trừ, có qui định khác việc lắp đặt phải tuân theo sổ tay hướng dẫn của nhà chế tạo.
Máy đo lưu lượng phải làm việc trong điều kiện của nhà chế tạo qui định để đạt được cấp chính xác mong muốn và có tuổi thọ chuẩn bình thường.
Các qui định cơ bản của phép đo lưu lượng bằng máy đo lưu lượng siêu âm như sau:
- ống dẫn phải đầy nước;
- chất lỏng phải dẫn âm;
- các thông số hình học như D, L, hoặc LP (LiLPi) và d(di) phải được xác định với độ không đảm bảo E <>qv, với Eqv là độ không đảm bảo đo cần thiết của máy đo lưu lượng.
Lệch khỏi trạng thái biên dạng triển khai đầy sẽ làm tăng độ không đảm bảo của máy đo lưu lượng. Máy đo một đường dẫn, nhìn chung nhạy cảm hơn đối với các sai lệch như vậy so với máy đo kiểu nhiều đường dẫn.
Nếu các thiết bị đi kèm được sử dụng để qui đổi trị số đọc lưu lượng thể tích chất lưu về điều kiện cơ sở hoặc ghi các thông số làm việc hay khối lượng dòng chảy (lưu lượng khối lượng), thì chúng phải được lắp đặt đúng và kết nối như sau:
a) Đo nhiệt độ: Các nhiễu loạn phía trên dòng chảy phải được hạn chế ở mức tối thiểu. Do vậy, vị trí qui định cho giếng đo nhiệt là ở phía dưới dòng, sau máy đo lưu lượng siêu âm. Nhiệt kế phải được bố trí gần cửa ra ống đo lường (đến mức có thể). Giới hạn trong khoảng 5D sau ống đo lường và trước bất kỳ van xả hoặc chỗ dòng chảy bị cản. Giếng đo nhiệt phải được lắp đặt sao cho nhiệt độ đo được là nhiệt độ của dòng chảy trong giới hạn (giữa giá trị nhỏ nhất và lớn nhất), và không bị ảnh hưởng bởi sự truyền nhiệt từ ống dẫn vào cấu kiện gá giếng đo nhiệt .
b) Đo áp suất: Vị trí qui định để trích đo áp suất là ở giữa hoặc trên mặt bích ông đo lường.
c) Đo tỷ trọng chất khí: Điều kiện khí trong máy đo tỷ trọng phải thể hiện điều kiện khí trong máy đo lưu lượng siêu âm trên toàn dải đo của máy. Phải chú ý tới khả năng không đo được khí khi sử dụng máy đo tỷ trọng chất khí đã bị loại. Máy đo tỷ trọng chất khí trong ống dẫn phải được lắp đặt xuôi dòng sau ống đo lường.
B.2. Kiểm tra âm học sơ bộ
Nếu chất lưu chưa được biết trước đó, cần tiến hành thử truyền âm sơ bộ bằng cùng phép đo siêu âm thông thường hoặc kiểm tra ở nơi nghi ngờ có sự suy giảm truyền âm lớn. Nếu chất lưu là một chất lỏng thì việc kiểm tra có thể sử dụng máy đo dạng kìm. Nếu chất lưu là chất khí thì cần thiết phải kiểm tra khả năng dẫn trong "phần tử thử" đặc biệt. Nói chung, mỗi phép thử dẫn âm qua chất khí bất kỳ phải được thực hiện ở áp suất dòng chảy thấp nhất có thể gặp trong thực tế.
B.3. Kích thước và dải đo
Kích thước ống được lựa chọn phù hợp với hệ số Reynold hoặc dải tốc độ do nhà chế tạo qui định. Nói chung, tốc độ lớn nhất toàn dải được qui định là khoảng 10 m/s cho chất lỏng và 30m/s cho chất khí. Khuyến cáo chọn kích thước máy đo sao cho tránh thao tác đo trong vùng chuyển tiếp chảy tầng-chảy rối, đặc biệt đối với các máy đo chỉ sử dụng đường dẫn xuyên tâm.
B.4. Điều kiện môi trường
Tránh nơi nhiệt độ lớn hơn giới hạn trên và thấp hơn giới hạn dưới đã được nhà chế tạo công bố. Phân đoạn phải đảm bảo tránh không bị phả hơi nóng và ánh nắng mặt trời chiếu trực tiếp.
Nếu máy đo lưu lượng được lắp đặt trong môi trường dễ gây nổ thì phải có chứng chỉ theo các tiêu chuẩn thích hợp hoặc tương đương.
Tránh các môi trường ăn mòn cao và/hoặc độ ẩm lớn.
Tránh những nơi có rung sóc lớn.
Lựa chọn nơi có không gian thích hợp để giám sát ống đo lường (các đầu đo siêu âm).
Máy đo lưu lượng phải phù hợp pháp qui về mức tương hợp điện từ.
B.5. Điều kiện chất lỏng
Chất lưu một pha sẽ là lý tưởng.
Chất lưu gồm có hỗn hợp chất lỏng đồng nhất có trở kháng âm học tương đồng (rc0) thông thường sẽ không làm nảy sinh vấn đề. Sự không đồng đều đáng kể về tỷ trọng có thể làm tăng độ không đảm bảo đo của máy đo lưu lượng hoặc gây sự cố.
Tỷ trọng chất khí tự do lớn hơn 0,5% dọc theo đường dẫn âm trong chất lỏng sẽ gây nên vấn đề nghiêm trọng, đặc biệt ở áp suất thấp, ví dụ khoảng 100kPa(1bar). Khi đó có khả năng độ không đảm bảo đo của máy đo lưu lượng tăng hoặc sẽ xảy ra sự cố. Phải chú ý để đảm bảo các bọt khí không được giữ lại trong các rãnh, ngăn cản đầu đo kiểu ướt làm việc.
Cho phép phân tán chất lỏng trong chất khí, dưới dạng các giọt nhỏ hoặc sương mù. Khi đó, có thể tăng độ không đảm bảo đo của máy đo lưu lượng. Sự nhiễm chất lỏng bẩn lên đầu đo siêu âm cũng có thể cản trở tín hiệu siêu âm hoặc khả năng dẫn âm qua thành ống.

Hình B.1 - Ví dụ lắp đặt ống đo lường và đầu đo siêu âm để đảm bảo ống dẫn kín chảy đầy
Khi chất lỏng chảy xuôi dòng, áp suất ngược phải được duy trì để đảm bảo rằng ống dẫn chảy đầy, (hình B.1).
CHÚ THÍCH: Máy đo dạng kìm không phù hợp cho các ứng dụng chất khí.
B.6. Ống công tác
Phần đoạn đầu vào của ống phải đủ dài để giảm ảnh hưởng nhiễu loạn của dòng chảy đến mức chấp nhận được (ISO 9951 được sử dụng hướng dẫn cho đến khi có các thông tin tốt hơn).
ống đo lường cũng như phân đoạn ống vào và ra phải được cách nhiệt tốt nhất. Điều này đặc biệt quan trọng khi đo chất khí ở tốc độ dòng chảy thấp.
Đường kính trong của các phân đoạn đầu vào và ra phải bằng nhau với sai số không lớn hơn ±1%. Gioăng đệm giữa ống đo lường và phân đoạn ống nối liền không được nhô về phía ống đo lường.
Nếu bề mặt bên trong ống công tác đang sử dụng có vẩy gỉ phải được thay bằng ống mới. Thiết bị tách pha được lắp đặt tốt phía trước ống đo lường và đầu đo, nếu dòng chất lưu có hai hoặc nhiều pha.
Bất kỳ van điều khiển hoặc đóng cắt nào phải được lắp đặt phía sau phân đoạn đo lường. Tuy nhiên, van cũng có thể được lắp đặt trước máy đo lưu lượng nếu đảm bảo mọi biến động trong ống đo lường ở mức chấp nhận cho kiểu máy đo cụ thể.
Cẩn trọng để tránh tạp âm sinh ra do van điều khiển làm giảm áp suất đột ngột. Điều này đặc biệt quan trọng khi đo lưu lượng chất khí.
B.7 Lắp đặt ống đo lường và đầu đo siêu âm
Đối với các ứng dụng chất lưu đơn pha, ống đo lường được lắp đặt theo phương nằm ngang, nghiêng hoặc thẳng đứng, không vi phạm các qui định cho trong B.5.
ống đo lường phải được cách nhiệt. Điều này đặc biệt quan trọng đối với đo chất khí ở tốc độ dòng chảy thấp.
Với các máy đo kiểu kìm, việc lắp đặt ống đo lường và đầu đo là đặc biệt quan trọng, phải đảm bảo dẫn âm tốt giữa các đầu đo và thành ống. Phải tuân thủ các qui định của nhà chế tạo một cách nghiêm ngặt.
![]()
![]()
Nếu bất kỳ các tạp chất nào(chất lỏng, vật
chất đặc biệt, sáp,...) định hình phía trước đầu đo, hoặc ống dẫn không chảy đầy.
Các đầu đo phải được bố trí sao cho giảm rủi ro cản trở tín hiệu siêu âm (hình
B.2). Trong các ứng dụng chất lỏng, máy đo kiểu kìm lưu động được sử dụng để
nhận dạng vị trí đầu đo thuận lợi.

1 - Chất lắng; 2 - Mặt nằm ngang;
3 - Không khí/khí ; 4 - Khu vực qui định để lắp đặt đầu đo.
Hình B.2 - Ví dụ bố trí đầu đo để tránh sự cản trở tín hiệu siêu âm trong trường hợp các tạp chất nằm phía trước đầu đo (ứng dụng chất lỏng)
Trong trường hợp dòng chảy biến động, máy đo nhiều đường dẫn được khuyến cáo sử dụng để làm giảm độ không đảm bảo của máy đo lưu lượng.
Cách sử dụng thuật ngữ "ngược dòng" và "xuôi dòng" phải tương thích đối với máy đo lưu lượng siêu âm USM hai chiều.
Bằng việc sử dụng máy đo lưu lượng kiểu kìm để đo dòng lưu lượng biến động, thì độ không đảm bảo có thể giảm được nếu sử dụng cấu hình hai đường dẫn phản xạ theo hai mặt trục tọa độ trực giao (hình B.3).

1 - Đầu đo
Hình B.3 - Ví dụ cách bố trí cặp đôi trực giao đầu đo
B.8. Cáp và thiết bị điện tử
Cáp giữa các đầu đo trên ống đo lường và thiết bị điều khiển điện tử phải được lắp đặt theo hướng dẫn của nhà chế tạo.
Độ dài cáp lớn nhất giữa đầu đo (phần tử sơ cấp) và thiết bị điều khiển (phần tử thứ cấp) thông thường được công bố bởi nhà chế tạo. Phải lắp đặt cáp đo lường cách xa cáp công suất, đặt lưới chống nhiễu và nối đất cho cáp đo lường hợp cách.
B.9. Kiểm tra lắp đặt
Nhìn chung, nhà chế tạo phải cung cấp các thông tin chi tiết về cách thực hiện kiểm tra lắp đặt đối với máy đo cụ thể (phụ lục C).
Thông thường, người vận hành phải thực hiện một số kiểm tra để đảm bảo rằng máy đo được lắp đặt và có cấu hình đúng:
a) Tại dòng chảy "không", chỉ thị máy đo không được lệch quá độ lệch "không" cho phép về tốc độ/lưu lượng thể tích do nhà chế tạo qui định.
b) Tốc độ dẫn âm đo được trong chất lưu có thể được so sánh với tốc độ dẫn âm lý thuyết cho chất lưu cụ thể ở nhiệt độ và áp suất thực. Người vận hành phải tính toán độ không đảm bảo đo của tốc độ dẫn âm lý thuyết và so sánh giá trị này với độ không đảm bảo đo tốc độ dẫn âm do nhà chế tạo qui định. Hai tốc độ dẫn âm phải nằm trong giới hạn, xác định bởi giá trị lớn nhất của hai độ không đảm bảo đo.
c) Tại dòng chảy "không", độ dài đường dẫn LP được tính từ tốc độ dẫn âm lý thuyết và thời gian đi qua đo được., nếu thời gian đi qua đã được xác định sẵn cho người vận hành. Độ không đảm bảo đo của cả hai đại lượng LP tính được và LP đo được có thể được thiết lập. Hai giá trị LP phải phù hợp, nằm trong giá trị lớn nhất của hai độ không đảm bảo đo. Các thao tác đặt/kiểm tra "không" tự động cũng được áp dụng.
d) Đối với máy đo nhiều đường dẫn, chỉ số đọc của các đường dẫn độc lập cần được so sánh với nhau. Tại dòng chảy "không", tất cả các đường dẫn phải chỉ "không" trong giới hạn đặt không của máy đo (xem phần trên). Nếu chất lưu đồng nhất thì tốc độ dẫn âm đo được cho từng đường dẫn phải bằng nhau, trong giới hạn độ không đảm bảo đo do nhà chế tạo qui định.
Tất cả các đầu ra máy đo lưu lượng đã nói trên (tốc độ dòng chảy, tốc độ dẫn âm, thời gian đi qua) phải lấy giá trị trung bình từ số lượng đủ lớn các giá trị quan trắc để nhận được các giá trị trung bình đại diện thống kê.
Khó có thể nhận được dòng chảy "không" thực, đặc biệt với chất khí. Nếu nhiệt độ chất lỏng khác biệt nhiệt độ xung quanh thì dòng chảy ảnh hưởng nhiệt sẽ xảy ra trong ống dẫn. Nếu ống công tác chịu nhiệt bức xạ, ví dụ: bởi ánh nắng mặt trời, hầu như không thể đạt được lưu lượng "không" thực trong ống dẫn kín. Một số máy đo lưu lượng hiển thị độ lệch chuẩn của tốc độ dòng chảy đo được. Nếu độ lệch chuẩn tương đồng với độ phân giải lưu lượng thể tích/tốc độ dòng chảy công bố bởi nhà chế tạo thì lưu lượng "không" thực tế trong ống kín có thể chấp nhận được. Các thao tác chỉnh định/kiểm tra "không" tự động cũng có thể được sử dụng.
B.10. Kiểm tra hoạt động
Nhìn chung, máy đo lưu lượng sẽ thực hiện các phép tự kiểm tra chuẩn đoán trong quá trình hoạt động bình thường để phát hiện sai lỗi. Tín hiệu cảnh báo chính xác sẽ đưa ra lưu ý cho người vận hành. Nhà chế tạo phải cung cấp các thông tin chi tiết về tự chuẩn đoán và cảnh báo (phụ lục C).
Phép thử b, và d, mô tả trong B.9 được thực hiện trong khi máy đo đang hoạt động bình thường. Độ không đảm bảo đo của LP theo tính toán có thể sẽ lớn hơn so với dòng chảy "không" thực tế.
Đối với máy đo nhiều đường dẫn thì chỉ số đọc của mỗi kênh cần được so sánh với nhau như đã mô tả trong B.9.
Cho các ứng dụng khí tự nhiên, có mối tương quan giữa tốc độ âm thanh và tỷ trọng của khí, áp suất và nhiệt độ. Nếu tỷ trọng đo hoặc tính được thì người vận hành có thể dành thời gian thêm để thiết lập biểu đồ tán xạ của tốc độ dẫn âm đo được và tỷ trọng. Mỗi sai lệch so với tương quan đã thiết lập được đòi hỏi phải kiểm tra riêng rẽ máy đo lưu lượng hoặc tỷ trọng của khí trong mỗi trường hợp.
PHỤ LỤC C
(tham khảo)
Thông tin cần được nhà chế tạo cung cấp
C.1. Yêu cầu chung
Nhà chế tạo phải cung cấp thông tin trong sổ tay cũng như trên các nhãn mác máy đo và đầu đo.
C.2. Nhãn mác
Thông tin tối thiểu trên nhãn mác ống đo lường gồm:
- tên hay dấu hiệu của nhà chế tạo;
- nhận dạng kiểu và loại;
- số loạt sản xuất;
- đường kính trong và đường kính danh định;
- dải tốc độ dòng chảy;
- dải áp suất;
- dải nhiệt độ;
- hướng mũi tên được xác định chỉ hướng thuận (chiều dương);
- chứng chỉ an toàn.
Thông tin tối thiểu trên nhãn mác đầu đo gồm:
- tên hay dấu hiệu nhà chế tạo;
- nhận dạng kiểu và loại;
- số loạt sản xuất;
- dải áp suất và nhiệt độ;
- chứng chỉ an toàn.
C.3. Thông tin phải cung cấp trong sổ tay hướng dẫn sử dụng
Sổ tay hướng dẫn phải mô tả tất cả các bộ phận và chức năng liên quan của máy đo, đưa ra các đặc tính kỹ thuật liên quan, chứng chỉ, hướng dẫn và yêu cầu lắp đặt, mô tả cách vận hành máy đo lưu lượng, cách sửa chữa chuẩn đoán và phát hiện các sự cố thường gặp nhất.
C.3.1. Mô tả
Tối thiểu các thông tin sau phải được đưa ra, khi áp dụng:
- các bản vẽ và diễn giải của tất cả các bộ phận cơ khí và điện tử;
- nhận dạng tất cả các thành phần bằng số của phụ tùng thay thế;
- cách thức lắp ráp và tháo dỡ các bộ phận cơ khí;
- sơ đồ nối điện.
C.3.2. Chức năng
Tối thiểu các thông tin sau phải được đưa ra, khi áp dụng:
- nguyên lý cơ bản và tính toán đo tốc độ lưu lượng thể tích;
- cách xác định các hệ số phụ thuộc ứng dụng và các yếu tố;
- các thông số nào được hiển thị hoặc có dưới dạng tín hiệu ra;
- định dạng và hiển thị tín hiệu đầu vào và đầu ra;
- có chức năng tự chuẩn đoán;
- cách xử lý các trục trặc, hỏng hóc;
- các thông báo, cảnh báo và ý nghĩa của nó.
C.3.3. Tính năng kỹ thuật
Tối thiểu các thông tin sau phải được đưa ra khi áp dụng:
- loại chất lỏng hoặc khí;
- phạm vi hoạt động (tốc độ, áp suất và nhiệt độ);
- cấp chính xác ở các điều kiện hoạt động khác nhau;
- độ ổn định dài hạn;
- công suất yêu cầu, bao gồm sự nhạy cảm đối với nguồn điện bị mất và thay đổi.
C.3.4. Tài liệu
Tối thiểu các chứng chỉ sau phải được cung cấp, khi áp dụng:
- chứng chỉ an toàn (loại Ex, chứng chỉ áp suất, chứng chỉ vật liệu, v.v);
- chứng chỉ độ chính xác (chứng chỉ về các phép đo hình học, chứng chỉ hiệu chuẩn lưu lượng theo phép thử chính, chứng chỉ đầu đo với thời gian trễ và kích thước).
C.3.5. Yêu cầu lắp đặt
Tối thiểu các thông tin sau phải được đưa ra:
- cách để đảm bảo dẫn âm giữa bộ phận phát và bộ phận nhận qua chất lỏng và khí;
- an toàn lắp đặt đầu đo;
- độ dài của các phân đoạn ống thẳng đầu vào và ra liên quan đến nhiễu loạn dòng chảy;
- các bước lớn nhất cho phép trong phân đoạn đo;
- hướng dẫn tránh sai lỗi và khi gặp khó khăn.
C.3.6. Thao tác
Tối thiểu các bước của thủ tục tiếp theo phải bao gồm:
- khởi động máy đo;
- cách nhập dữ liệu cấu hình vào máy điều khiển đo điện tử và thực hiện các điều chỉnh khi có yêu cầu;
- các thủ tục kiểm tra và hiệu chuẩn và sai số cho phép sử dụng;
- thay thế đầu đo;
- sử dụng hệ thống chuẩn đoán;
- làm gì trong trường hợp có sự cố đầu đo.