TIÊU CHUẨN QUỐC GIA
TCVN 8242-3:2009
ISO 4306-3:2003
CẦN TRỤC – TỪ VỰNG – PHẦN 3 – CẦN TRỤC THÁP
Cranes- Vocabulary – Part 3: Tower cranes
Lời nói đầu
TCVN 8242-3:2009 do hoàn toàn tương đương với ISO 4306-3:2003
TCVN 8242-3:2009 do Ban kỹ thuật Tiêu chuẩn Quốc gia TCVN/TC 96 Cần cẩu biên soạn, Tổng cục Tiêu chuẩn Đo lường Chất lượng đề nghị, Bộ khoa học và Công nghệ công bố.
Bộ TCVN 8242 (ISO 4306), Cần trục – Từ vựng gồm các phần sau:
- TCVN 8242-1:2009 (ISO 4306-1:2007), Phần 1: Quy định chung.
- TCVN 8242-2:2009 (ISO 4306-2:1994), Phần 2: Cần trục tự hành.
- TCVN 8242-3:2009 (ISO 4306-3:2003), Phần 3: Cần trục tháp.
- TCVN 8242-5:2009 (ISO 4306-5:2005), Phần 5: Cầu trục và cổng trục.
CẦN TRỤC – TỪ VỰNG – PHẦN 3 – CẦN TRỤC THÁP
Cranes- Vocabulary – Part 3: Tower cranes
1. Phạm vi áp dụng
Tiêu chuẩn này quy định các thuật ngữ được sử dụng phổ biến nhất trong lĩnh vực cần trục.
Tiêu chuẩn này quy định định nghĩa chung về cần trục tháp và thuật ngữ cho mỗi loại cần trục tháp bằng cách sử dụng hình vẽ có đánh số viện dẫn tương ứng các thuật ngữ.
Tiêu chuẩn này áp dụng cho
- Cần trục tháp có thể tháo và lắp được;
- Cần trục tháp lắp đặt cố định.
Tiêu chuẩn này không áp dụng cho
- Cần trục tự hành có thể được lắp hệ tháp – cần;
- Cần trục cột buồm, có hoặc không có cần.
2. Cần trục tháp – Định nghĩa chung
2.1.
Cần trục tháp
Cần trục quay, kiểu cần, dẫn động máy có cần được bố trí ở phần đỉnh tháp gần như thẳng đứng trong trạng thái làm việc.
CHÚ THÍCH 1: Kết cấu cần trục cho phép cần trục giữ nguyên vị trí đã lắp dựng trong trạng thái không làm việc và có thể tháo rời hoặc hạ xuống để vận chuyển đến công trước khác.
CHÚ THÍCH 2: Cần trục tháp được trang bị các phương tiện để nâng và hạ tải trọng treo và để dịch chuyển tải trọng bằng cách thay đổi tầm với, di chuyển xe con mang tải, quay hoặc di chuyển toàn bộ thiết bị. Mỗi cần trục tháp có thể thực hiện một số chuyển động nhưng không nhất thiết phải thực hiện tất cả các chuyển động.
CHÚ THÍCH 3: Cần trục tháp có thể được lắp đặt ở vị trí cố định hoặc được trang bị thiết bị di chuyển và/hoặc tự nâng tháp theo chiều cao công trình.
3. Các loại cần trục tháp
Cần trục tháp được xác định bởi bốn nhóm đặc tính sau:
a) Lắp dựng
- Được lắp dựng từ các bộ phận cấu thành;
- Tự lắp dựng (lắp dựng nhanh mà không sử dụng các thiết bị phụ).
b) Mức quay
- Quay ở trên cao;
- Quay ở dưới thấp.
c) Loại cần
- Cần nằm ngang (kể cả loại cần đầu búa);
- Cần nâng/hạ;
- Cần gãy khúc (cần cổ ngỗng);
- Cần kéo dài (cần xếp lồng);
- Cần khớp bản lề (cần dao gấp).
d) Chuyển động
- Di chuyển;
- Tĩnh tại (cố định);
- Tự nâng.
4. Danh pháp
Bảng 1 trình bày các hình vẽ tương ứng với các loại cần trục tháp khác nhau.
Các hình vẽ cung cấp các thuật ngữ mà định nghĩa về chúng tự bản thân đã rõ ràng. Các thuật ngữ được cho trên hình vẽ theo thứ tự đánh số tương ứng.
Bảng 1 – Loại cần trục tháp
|
Đặc tính |
Cần trục tháp quay ở trên cao |
Cần trục tháp quay ở dưới thấp |
|
Cần nằm ngang |
Hình 1 |
Hình 3, Hình 6 |
|
Cầng nâng/hạ |
Hình 2 |
|
|
Cần gãy khúc (cần cổ ngỗng) |
Hình 4 |
|
|
Cần kéo dài (cần xếp lồng) |
Hình 5 |
|
|
Cần khớp bản lề (cần dao gấp) |
Hình 7 |
|
|
Cần trục được lắp dựng từ các bộ phận cấu thành |
Hình 1, Hình 2, Hình 4, Hình 5, Hình 7 |
|
|
Cần trục tháp tự lắp dựng (lắp dựng nhanh) |
|
Hình 3, Hình 6 |
|
Cần trục tháp di chuyển |
Hình 1 a) |
Hình 3 a) |
|
Cần trục tháp tĩnh tại |
Hình 1 b) |
Hình 3 b) |
|
Bộ phận tháp được nâng nằm trong kết cấu tháp |
Hình 2 b) |
|
|
Đoạn lắp dựng được nâng nằm ngoài kết cấu tháp |
Hình 2 c) |
|

a) Di chuyển
b) Tĩnh tại
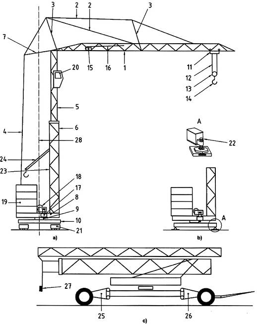
Hình 1 – Cần trục tháp được lắp dựng từ các bộ phận cấu thành, quay ở trên cao có cần nằm ngang
CHÚ DẪN
|
1 2 3 4 5 6 7 8 9 10 11 12 13 14 15 16 17 18 19 20 21 22 23 24 25 26 27 28 29 30 |
Cần Neo cần Cần đối trọng Neo cần đối trọng Đỉnh tháp Đoạn tháp gắn cabin Bệ quay Vòng tựa-quay Bệ đỡ vòng tựa-quay (bệ không quay) Tháp (các đoạn tháp) Thanh chống xiên (thanh chống tháp) Khung di chuyển Cụm đỡ bánh xe Xe con Cáp nâng Cụm móc treo Móc treo Đối trọng Cơ cấu di chuyển xe con Cáp kéo xe con Cơ cấu quay Cơ cấu nâng Tủ điện điều khiển Cabin Tải dằn (ba lát) Móng Neo móng (bulông móng) Khung đế (đế tháp) Chân đế tháp Trục quay |
Hình 1 (tiếp theo và kết thúc)

a) Xem Hình 1
Hình 2 – Cần trục tháp được lắp dựng từ các bộ phận cấu thành, quay ở trên cao có cần nâng/hạ
a) Cần nâng/hạ
b) Bộ phận tháp được nâng nằm trong kết cấu tháp
c) Đoạn lắp dựng được nâng nằm ngoài kết cấu tháp
CHÚ DẪN
|
1 2 3 4 5 6 7 8 9 10 11 12 13 14 15 16 17 18 19 20 21 22 23 24 25 26 27 28 29 30 31 32 33 |
Cần nâng/hạ Đầu cần Chân cần Góc nghiêng của cần Cáp neo cần Palăng cáp nâng cần Cáp nâng cần Khung chữ A Bệ quay Vòng tựa - quay Bệ đỡ vòng tựa-quay (bệ không quay) Tháp Cơ cấu nâng cần Cơ cấu quay Cơ cấu nâng Cáp nâng Cụm móc treo Móc treo Cabin Xe con di chuyển đối trọng Đối trọng Cơ cấu nâng phụ Cáp nâng phụ Cụm móc treo phụ Móc treo phụ Khung nâng tháp Thang nâng tháp với các gối tựa dẫn hướng Thiết bị nâng tháp Bộ phận tháp được nâng Đoạn lắp dựng được nâng (lồng lắp dựng) Gối tựa Thanh neo tháp và công trình Khung neo tháp |
Hình 2 (tiếp theo và kết thúc)

Hình 3 – Cần trục tháp tự lắp dựng, quay ở dưới thấp có cần nằm ngang
a) Di chuyển
b) Tĩnh tại
c) Vận chuyển trên đường
CHÚ DẪN:
|
1 2 3 4 5 6 7 8 9 10 11 12 13 14 15 16 17 18 19 20 21 22 23 24 25 26 27 28 |
Cần Neo cần Thang chống cần Cáp neo Đoạn tháp kéo dài (đoạn tháp lồng) Đoạn tháp ngoài Thanh chống cáp neo (cần đối trọng) Bàn quay (bệ quay) Vòng tựa-quay Khung di chuyển Xe con Cáp nâng Cụm móc treo Móc treo Cơ cấu di chuyển xe con Cáp kéo xe con Cơ cấu quay Cơ cấu nâng Đối trọng Cabin Hộp (cụm) đỡ bánh xe Vít tựa Thiết bị lắp dựng Cáp lắp dựng (cáp nâng tháp) Trục sau Trục trước (dạng trục lái) Đèn chiếu sáng Trục quay |
Hình 3 (tiếp theo và kết thúc)

CHÚ DẪN:
|
1 1a 1b 2 3 4 5 6 7 8 9 10 11 12 |
Cần gãy khúc (cần cổ ngỗng) Đoạn cần phía trước (đoạn đầu cần) Đoạn cần cơ sở Neo cần Thanh giàn chống cần Khung chữ A Bệ quay Cabin Xe con Đối trọng Cơ cấu nâng cần Cơ cấu nâng Cơ cấu quay Palăng cáp nâng cần |
Hình 4 – Cần trục tháp được lắp dựng từ các bộ phận cấu thành, quay ở trên cao có cần gãy khúc (cần cổ ngỗng)

CHÚ DẪN:
|
1 2 3 4 5 6 7 8 9 10 11 12 |
Cần kéo dài (cần xếp lồng) Neo cần Cần đối trọng Neo cần đối trọng Đỉnh tháp Đoạn tháp gắn cabin Xe con Cơ cấu kéo dài cần Đối trọng cố định Đối trọng di động Cơ cấu nâng Tủ điện điều khiển |
Hình 5 – Cần trục tháp được lắp dựng từ các bộ phận cấu thành, quay ở trên cao có cần kéo dài (cần xếp lồng)

Hình 6 – Cần trục tháp tự lắp dựng, quay ở dưới thấp có cần nằm ngang gấp được và tháp gấp được.
CHÚ DẪN:
|
1 2 3 4 5 6 7 8 9 10 11 12 13 14 15 16 17 18 19 20 21 |
Cần gấp được Neo cần Thanh chống cần Cáp neo Đoạn tháp trên Đoạn tháp dưới Thanh chống lắp dựng Bàn quay (bệ quay) Vòng tựa-quay Khung di chuyển (khung đế tháp) Xe con Cáp nâng Cụm móc treo Móc treo Cơ cấu di chuyển xe con Cáp kéo xe con Cơ cấu quay Cơ cấu nâng Đối trọng Thiết bị điều chỉnh độ nghiêng của cần Trục quay |
Hình 6 (tiếp theo và kết thúc)

Hình 7 – Cần trục tháp được lắp dựng từ các bộ phận cấu thành, quay ở trên cao có cần khớp bản lề (cần dao gấp)
CHÚ DẪN:
|
1 2 3 4 5 6 7 8 9 10 11 12 13 14 15 16 17 |
Đoạn cần cơ sở Đoạn cần phía trước Rãnh dẫn hướng đỡ cáp Khung chữ A Cáp neo Chi tiết nối Cụm móc treo Cần đối trọng Đối trọng Cơ cấu nâng Cơ cấu thay đổi tầm với Cơ cấu quay Tủ điện điều khiển Vòng tựa-quay Bệ đỡ vòng tựa-quay Cabin Tháp |
a Xem Hình 1.
Hình 7 (tiếp theo và kết thúc)
THƯ MỤC TÀI LIỆU THAM KHẢO
[1] TCVN 8242-1 (ISO 4306-1), Cần trục – Từ vựng – Phần 1: Quy định chung