TIÊU CHUẨN XÂY DỰNG VIỆT NAM
TCXDVN 80 : 2002
ĐẤT XÂY DỰNG. PHƯƠNG PHÁP XÁC ĐỊNH MÔĐUN BIẾN DẠNG TẠI HIỆN TRƯỜNG BẰNG TẤM NÉN PHẲNG
Soils. In situ test methods of determination of deformation module by plate loading
1. Mục đích thí nghiệm, phạm vi áp dụng
Thí nghiệm xác định môđun biến dạng của đất nền trong phạm vi chiều dày bằng hai đến ba lần đường kính tấm nén, nhằm tính toán độ lún của công trình.
Tiêu chuẩn này áp dụng cho đất loại sét, đất loại cát và đất hòn lớn trong điều kiện hiện trường, ở thế nằm và độ ẩm tự nhiên hoặc sau khi san lấp và đầm, nén đến độ chặt yêu cầu.
Không áp dụng tiêu chuẩn này cho đá, đất trương nở và đất nhiễm mặn khi thí nghiệm chúng trong điều kiện thấm ướt.
Chú thích: Đất có tính lún nhiều và đột ngột khi bị tẩm ướt được thí nghiệm theo quy định riêng, nếu ở các phụ lục C, D và E.
2. Thuật ngữ và định nghĩa
Môđun biến dạng của đất: một đặc trưng, biểu thị khả năng chịu nén của đất; là hệ số tỷ lệ giữa gia số của áp lực tác dụng lên tấm nén với gia số tương ứng của độ lún tấm nén, được quy ước lấy trong đoạn liên hệ tuyến tính.
Áp lực tự nhiên của đất: áp lực thẳng đứng trong khối đất tại một độ sâu do trọng lượng bản thân của các lớp nằm trên.
Phụ tải: tải trọng thẳng đứng tác dụng lên đất thông qua diện tích phụ thêm quanh tấm nén.
Cấp gia tải: lượng tải trọng tác dụng lên tấm nén khi thí nghiệm từng đợt.
Độ lún ổn định quy ước: gia số độ lún tấm nén sau một khoảng thời gian, chứng tỏ sự tắt dần biến dạng của đất nền trên thực tế.
3. Quy định chung
3.1. Mô đun biến dạng E của đất được xác định theo biểu đồ liên hệ giữa độ lún tấm nén với áp lực tác dụng lên tấm nén.
3.2. Thí nghiệm đất bằng tấm nén được tiến hành trong hố đào, hố móng, giếng đào hoặc lỗ khoan, được bố trí cách điểm thăm dò kỹ thuật từ 1,5 đến 2,0m.
3.3. Thí nghiệm trong hố đào và hố móng được tiến hành cho những đất nằm cao hơn mực nước dưới đất; thí nghiệm trong lỗ khoan – cho đất ở sâu từ 6 tới 15m, kể cả khi nằm thấp hơn mực nước dưới đất.
3.4. Diện tích tiết diện ngang của hố đào phải không nhỏ hơn 1,5m x 1,5 m. Đường kính hố tạo ra bằng phương tiện cơ giới phải không nhỏ hơn 900mm. Đường kính lỗ khoan thí nghiệm phải không nhỏ hơn 325mm.
3.5. Các phương pháp khoan và đào phải đảm bảo cho đất thí nghiệm giữ được kết cấu nguyên và độ ẩm tự nhiên. Lỗ khoan phải thẳng đứng và được chống bằng ống vách tới độ sâu thí nghiệm. Khi sắp tới độ sâu thí nghiệm (còn cách 1m), không được dùng phương pháp khoan đập.
3.6. Các hố đào thí nghiệm phải được bảo vệ, để không bị nước mặt và nước mưa xâm nhập.
3.7. Khi thí nghiệm trong lỗ khoan ở vị trí thấp hơn mực nước dưới đất, không được hạ thấp mực nước vốn có tại đây.
3.8. Lớp đất thí nghiệm phải có chiều dày không nhỏ hơn hai lần đường kính d hoặc cạnh tấm nén. Kết quả thí nghiệm chỉ có ý nghĩa đối với lớp đất dày 2-3d.
3.9. Kèm theo kết quả xác định môđun biến dạng tại hiện trường phải có các tài liệu và số liệu về vị trí thí nghiệm, mô tả đất và các đặc trưng cơ-lý chủ yếu: thành phần hạt, độ ẩm, khối lượng riêng và khối lượng thể tích, hệ số rỗng, các giới hạn dẻo và độ sệt, hệ số nén lún, góc ma sát trong và lực dính.
3.10. Mẫu đất để xác định các đặc trưng cơ-lý chủ yếu được lấy ở khoảng cách không lớn hơn 3m kể từ tâm hố khai đào thí nghiệm.
3.11. Khi xử lý kết quả thí nghiệm, tiến hành tính toán môđun tổng biến dạng E với độ chính xác như sau: đến 1MPa đối với E > 10Mpa; đến 0,5MPa đối với E từ 2 đến 10MPa và đến 0,1MPa đối với E <>
3.12. Sự cần thiết xác định E bằng tấm nén, số lượng thí nghiệm đều do cơ quan tư vấn khảo sát quyết định. Người thí nghiệm chịu trách nhiệm về kết quả đo đạc và tính toán.
4. Phương pháp tiến hành thí nghiệm
4.1. Dụng cụ và thiết bị thí nghiệm
4.1.1. Để thí nghiệm, phải có: tấm nén, các thiết bị chất tải, neo giữ, do biến dạng (xem các hình 1 và 2).
- Kết cấu thiết bị phải đảm bảo khả năng chất tải lên tấm nén thành từng cấp 0,01 – 0,1 MPa; truyền tải đúng tâm lên tấm nén; giữ được từng cấp áp lực không đổi trong thời gian yêu cầu.
- Tấm nén phải đủ cứng, có dạng tròn hoặc vuông, đáy phẳng, với kích thước như sau:
+ Kiểu I: diện tích 2500 và 5000cm2;
+ Kiểu II: diện tích 1000cm2, có phụ tải hình vành khăn bổ sung thêm đến 5000cm2;
+ Kiểu III: diện tích 600cm2.

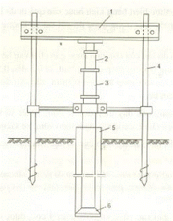
Hình 1: Sơ đồ thiết bị thí nghiệm đất trong hố đào bằng tải trọng tĩnh
1. Tấm nén; 2. Kích thủy lực;
3. Dầm định vị dọc; 4. Các cọc neo vít.

Hình 2: Sơ đồ thiết bị thí nghiệm đất bằng tải trọng tĩnh trong lỗ khoan
1. Dầm định vị; 2. Kích; 3. Lực kế
4. Các cọc neo vít; 5. Ống vách; 6. Tấm nén.
Bảng 1. Kiểu và diện tích tấm nén được quy định tùy theo đất thí nghiệm
|
Tên đất |
Vị trí tấm nén so với mực nước |
Độ sâu thí nghiệm (m) |
Vị trí tiến hành thí nghiệm |
Tấm nén |
|
|
Kiểu |
Diện tích, cm2 |
||||
|
Đất hòn lớn, đất cát – cát chặt và chặt trung bình; đất loại sét – sét, sét pha có độ sệt IL ≤ 0,25, cát pha khi IL ≤ 0 |
Ngang mực nước dưới đất và cao hơn |
≤ 6 |
Trong hố móng, hố đào, giếng |
I II III |
5.000 2.500 1.000 |
|
Đất cát – cát xốp; đất loại sét – sét và sét pha có độ sệt IL > 0,25, cát pha khi IL > 0, bùn; đất hữu cơ |
Ngang mực nước dưới đất và cao hơn |
≤ 6 |
Trong hố móng, hố đào, giếng |
I
II |
5.000
1.000 |
|
Đất hòn lớn; đất cát – cát chặt; đất loại sét – sét và sét pha có độ sệt IL ≤ 0,5, cát pha khi IL <> |
Ngang mực nước dưới đất và cao hơn |
≤ 6 |
Tại đáy lỗ khoan |
III |
600 |
|
Đất cát: đất loại sét: sét, sét pha và cát pha với mọi trị độ sệt IL: bùn, đất hữu cơ |
Dưới mực nước dưới đất |
Tới 15 |
Tại đáy lỗ khoan |
III |
600 |
4.1.2. Việc chất tải được thực hiện bằng kích hoặc các quả tạ đã biết trọng lượng. Kích phải được hiệu chỉnh trước. Tải trọng được đo với sai số không quá 5% so với cấp áp lực tác dụng.
4.1.3. Các võng kế để đo độ lún của tấm nén được gắn chặt vào hệ mốc chuẩn. Tấm nén được nối với võng kế bằng sợi dây thép đường kính từ 0,3 đến 0,5mm, Hệ đo phải đảm bảo đo được độ lún với sai số không lớn hơn 0,1mm. Khi cần đạt độ chính xác tới 0,01mm, phải dùng thiên phân kế.
Cần xét tới biến dạng của dây thép do tác dụng nhiệt và hiệu chỉnh số đọc của các võng kế. Lượng hiệu chỉnh được xác định theo võng kế kiểm tra (xem điều 4.2.6).
Độ lún của tấm nén là trị trung bình các số đọc của hai (hoặc nhiều hơn) thiết bị đo ở hai phía đối diện.
Chú thích: Khi thí nghiệm đất trong lỗ khoan và đo độ lún tấm nén theo chuyển vị của đầu trên cột ống dùng để truyền tải trọng, phải xét tới biến dạng nén của các ống đó và có biện pháp loại trừ sự uốn dọc của chúng.
4.1.4. Hệ mốc chuẩn để gắn các võng kế phải gồm 4 cọc, được đóng hoặc xoắn xuống đất từng đôi một, đối diện nhau so với hố đào, cách các mép hố từ 1,0 đến 1,5m; cùng các xà kim loại song song gắn với các cọc đó dùng để đỡ các võng kế. Độ sâu của cọc trong đất phải đủ để đảm bảo cho hệ mốc chuẩn không bị dịch chuyển trong quá trình thí nghiệm. Phải giữ cho hệ mốc chuẩn và các võng kế khỏi chịu tác dụng của nắng, gió và mưa.
4.1.5. Khuyến khích áp dụng các thiết bị hiện đại để chất tải, đo ghi, xử lý và lưu giữ số liệu thí nghiệm.
4.2. Chuẩn bị thí nghiệm
4.2.1. Khi thí nghiệm trong hố móng, hố đào và giếng đào, tấm nén được đặt ở công trình khai đào. Để đáy tấm nén thật khít với đất, phải xoay tấm nén không ít hơn hai vòng theo các hướng, quanh trục thẳng đứng. Sau khi đặt, phải kiểm tra mức độ nằm ngang của tấm nén.
Trong đất loại sét có độ sệt IL > 0,75, phải đặt tấm nén trong một hố tại đáy công trình khai đào. Hố có độ sâu từ 40 đến 60cm và kích thước ngang lớn hơn đường kính hoặc cạnh tấm nén không quá 10cm. Khi cần, phải gia cố vách hố này.
4.2.2. Mặt đất trong phạm vi diện tích đặt tấm nén phải được san thật phẳng. Khi khó san phẳng đất, tiến hành rải một lớp đệm cát nhỏ hoặc cát trung ít ẩm, dày từ 1 đến 2cm cho đất loại sét và không lớn hơn 5cm cho đất hòn lớn.
4.2.3. Khi thí nghiệm trong lỗ khoan, phải dùng mũi khoan riêng vét sạch đáy từng đợt và chuyển dần mùn lên mặt đất, rồi mới đặt tấm nén có diện tích 600cm2.
4.2.4. Tấm nén được lắp vào cột ống đường kính 219mm và hạ xuống đáy lỗ khoan đã được vét sạch. Dùng đối trọng và các vòng định hướng để cân bằng tấm nén cùng với cột ống khi hạ. Đặt tấm nén sâu hơn chân ống chống từ 2 đến 5cm.
4.2.5. Sau khi đặt tấm nén, tiến hành lắp thiết bị chất tải, thiết bị neo và hệ thống neo.
4.2.6. Võng kế kiểm tra được lắp trên hệ mốc chuẩn. Dây của võng kế kiểm tra được gắn vào mốc không di động đặt ở ngoài thành hố thí nghiệm. Chiều dài dây phải bằng chiều dài của các võng kế đo độ lún của tấm nén.
4.2.7. Sau khi lắp tất cả các thiết bị, đưa các số đọc về vạch không (0), hoặc về điểm quy ước là không; ghi vào nhật ký theo mẫu như ở phụ lục A.
4.3. Tiến hành thí nghiệm
4.3.1. Tăng tải trọng lên tấm nén thành từng cấp AP tùy theo loại đất thí nghiệm và trạng thái (xem các bảng 2.3 và C1). Tổng số các cấp gia tải phải không ít hơn 4, kể từ giá trị tương ứng với áp lực do trọng lượng bản thân của đất tại cao trình thí nghiệm. Trong cấp gia tải đầu tiên phải kể đến trọng lượng của thiết bị tạo nên một phần tải trọng tác dụng lên tấm nén.
Khi dùng tấm nén kiểu II, phụ tải vành khăn phải tương ứng với áp lực thiên nhiên tại cao trình thí nghiệm.
4.3.2. Giữ mỗi cấp gia tải đến khi ổn định biến dạng quy ước của đất: không vượt quá 0,1mm sau thời gian nêu ở các bảng 2.3 và C1. Thời gian giữ mỗi cấp gia tải tiếp sau không ít hơn thời gian giữ cấp trước.
Bảng 2
|
Tên đất |
Mức độ bão hòa |
Cấp áp lực DP, MPa, khi độ chặt kết cấu của đất |
Thời gian ổn định quy ước |
||
|
Chặt |
Chặt vừa |
Xốp |
Giờ |
||
|
Đất hòn lớn |
Sr ≤ 1,0 |
0,1 |
0,5 |
||
|
Đất – cát – cát to |
Sr ≤ 1,0 |
0,1 |
0,05 |
0,025 |
0,5 |
|
Cát trung |
Sr ≤ 0,5 |
0,1 |
0,05 |
0,025 |
0,5 |
|
|
0,5 <>r ≤ 1,0 |
0,1 |
0,05 |
0,025 |
1,0 |
|
Cát nhỏ, cát bụi |
Sr ≤ 0,5 |
0,05 |
0,025 |
0,01 |
1,0 |
|
|
0,5 <>r ≤ 1,0 |
0,05 |
0,025 |
0,01 |
2,0 |
Bảng 3
|
Tên đất |
Cấp áp lực DP, MPa, khi hệ số rỗng e |
Thời gian ổn định quy ước, giờ |
|||
|
e <> |
0,5 < e=""><> |
0,8 < c=""><> |
c > 1,1* |
||
|
Đất loại sét có độ sệt IL ≤ 0,25 |
0,1 |
0,1 |
0,05 |
0,05 |
1 |
|
0,25 <>L ≤ 0,75 |
0,1 |
0,5 |
0,05 |
0,025 |
2 |
|
0,75 <>L ≤ 1 |
0,05 |
0,025 |
0,025 |
0,01 |
2 |
|
IL > 1 |
0,05 |
0,025 |
0,01 |
0,01 |
3 |
* Khi hệ số rỗng e > 1,1, thời gian ổn định quy ước được tăng lên 1 giờ.
4.3.3. Ghi số đọc các biến dạng kế tại mỗi cấp áp lực
Khi thí nghiệm đất hòn lớn và đất cát: cách 10 phút trong nửa giờ đầu, cách 15 phút trong nửa giờ sau; tiếp theo cứ cách 30 phút cho đến khi đạt được độ lún ổn định quy ước.
Khi thí nghiệm đất loại sét: cách 15 phút trong giờ đầu và 30 phút trong giờ sau và tiếp theo, cứ cách 1 giờ cho đến khi đạt được độ lún ổn định quy ước.
4.3.4. Ngừng thí nghiệm khi ổn định biến dạng ứng với cấp tải trọng cuối, hoặc tổng biến dạng đạt 0,15d, trong đó d là đường kính tấm nén.
4.3.5. Khi có yêu cầu, có thể tiến hành dỡ tải từng cấp. Đối với đất hòn lớn và đất cát, giữ mỗi cấp 10 phút; riêng cấp cuối được giữ tới 20 phút. Đối với đất loại sét, các khoảng thời gian tương ứng là 15 và 30 phút.
4.4. Xử lý kết quả thí nghiệm
4.4.1. Để tính toán môđun biến dạng E, lập biểu đồ liên hệ giữa độ lún với áp lực S = f (P). Biểu thị các giá trị P trên trục hoành và các giá trị độ lún ổn định quy ước S tương ứng trên trục tung (xem phụ lục B, biểu đồ a).
Qua các điểm thí nghiệm chấm trên biểu đồ, vẽ một đường thẳng trung bình bằng phương pháp bình phương nhỏ nhất, hoặc bằng phương pháp đồ giải. Lấy điểm ứng với áp lực thiên nhiên (xem điều 4.3.1) làm điểm đầu Pd và điểm ứng với cấp gia tải cuối cùng làm điểm cuối Pc.
Nếu gia số độ lún tương ứng với áp lực Pi lớn gấp đôi gia số lún ứng với cấp áp lực kế trước Pi-1, đồng thời bằng hoặc nhỏ hơn giá trị ứng với cấp Pi + 1, thì lấy Pi -1 và Si-1 làm các giá trị cuối cùng. Lúc đó, số lượng các điểm làm căn cứ để tính toán trị trung bình phải không ít hơn ba.
4.4.2. Môđun biến dạng đất E, MPa, được tính toán cho đoạn tuyến tính của biểu đồ S = f(P), theo công thức:
![]()
Trong đó:
m - hệ số Poisson, được lấy bằng 0,27 cho đất hòn lớn; 0,30 cho đất cát và cát pha; 0,35 cho đất sét pha và 0,42 cho đất sét;
w - hệ số không thứ nguyên, phụ thuộc vào hình dạng và độ cứng tấm nén. Đối với tấm nén cứng, hình tròn và hình vuông, lấy w = 0,79;
d – đường kính tấm nén tròn hoặc cạnh của tấm nén vuông, cm;
DP – gia cố áp lực lên tấm nén, bằng Pc – Pd, MPa;
DS – gia số độ lún của tấm nén, cm, tương ứng với DP.
Phụ lục A
(Quy định)
SỔ GHI XÁC ĐỊNH MÔĐUN BIẾN DẠNG TẠI HIỆN TRƯỜNG BẰNG TẤM NÉN PHẲNG
(Trang đầu của sổ ghi)
Tên cơ quan:......................................................................................................................
Số ghi No:..........................................................................................................................
XÁC ĐỊNH MÔĐUN BIẾN DẠNG TẠI HIỆN TRƯỜNG BẰNG TẤM NÉN PHẲNG
Địa điểm: ..........................................................................................................................
Hạng mục công trình:.........................................................................................................
Công trình:.........................................................................................................................
Ngày thí nghiệm: Bắt đầu………………………….. Kết thúc ...................................................
Hố khai đào số:………………………………..... Cao độ tuyệt đối: .....................................
Diện tích tấm nén……………………………cm2 Đáy tấm nén............................................ m
Tiết diện hố:……………………………………… Miệng hố:................................................ m
(đường kính lỗ khoan) Mực nước dưới đất:............................ m
Độ sâu: …………………………………………m
Tên đất: ............................................................................................................................
Mô tả vắn tắt thiết bị thí nghiệm: ........................................................................................
.........................................................................................................................................
.........................................................................................................................................
...................................................................................................................... Các dụng cụ
(kiểu và số hiệu) dùng để chất tải và đo:
Kích thủy lực số: ………………………………. Sức nâng:.................................................... t
Áp kế (các dạng đặc trưng kỹ thuật chủ yếu; lý lịch sơ lược):..............................................
.........................................................................................................................................
Loại và số dụng cụ đo: ......................................................................................................
Tải trọng lên tấm nén:.........................................................................................................
Độ lún tấm nén: .................................................................................................................
Sơ đồ bố trí thiết bị thí nghiệm
(Cụ thể hóa và chi tiết hóa của hình 1, hình 2 ở trang 7, kèm theo mặt cắt địa chất tại nơi thí nghiệm đất)
|
Công trình:…………………………………………….. |
Thí nghiệm số:………………………………………... |
Những trang tiếp theo của sổ ghi Trang:………………………… |
|
Ngày |
Giờ, phút |
Khoảng thời gian Dt, giờ |
Số đọc ở áp kế, MPa |
Tổng lực lên tấm nén, kN |
Tải trọng, MPa |
Độ sâu đặt tấm nén, m (phụ tải xung quanh tấm nén) |
Áp lực tác dụng lên đáy tấm nén, MPa |
Số đọc ở các biến dạng kế, mm |
Số hiệu chỉnh cho số đọc các biến dạng kế, mm |
Số đọc đã được hiệu chỉnh ở các biến dạng kế, mm |
Độ lún tấm nén, mm |
Thời gian giữ tải trọng åDt, giờ |
Số liệu về thấm ướt (đối với đất lún ướt) |
Ghi chú |
||||||||||
|
S1 |
S2 |
S3 |
Trên biến dạng kế kiểm tra |
S1 |
S2 |
S3 |
|
DS |
åDS |
Chiều dày lớp cát đệm, cm |
Mực nước, m |
Khối lượng nước tiêu hao |
Thời gian bắt đầu thấm ướt |
|||||||||||
|
1 |
2 |
3 |
4 |
5 |
6 |
7 |
8 |
9 |
10 |
11 |
12 |
13 |
14 |
15 |
16 |
17 |
18 |
19 |
20 |
21 |
22 |
23 |
24 |
25 |
|
|
|
|
|
|
|
|
|
|
|
|
|
|
|
|
|
|
|
|
|
|
|
|
|
|
Số ghi có:……………………trang
Phụ trách thí nghiệm: .......................................................................................................................... (Ký và ghi rõ họ, tên)
Những người quan trắc: 1 - .............................................................................................. (Ký ghi rõ họ tên, chức danh)
2 - ........................................................................................... (Ký ghi rõ họ tên, chức danh)
* Số lượng biến dạng kế phải không ít hơn 2: nếu có 3 hoặc 4 chiếc càng tốt.
Phụ lục B
(Quy định)
BIỂU DIỄN KẾT QUẢ THÍ NGHIỆM ĐẤT BẰNG TẤM NÉN
B.1. Biểu đồ S = f(P)
Tỷ lệ biểu đồ: Ngang: 0,1MPa tương ứng với 40mm;
Đứng: 1mm độ lún tấn nén tương ứng với 10mm.

B.2. Biểu đồ S = f(P) của thí nghiệm đất lún ướt bằng tấm nén có độ thấm ướt
Tỷ lệ ngang: 0,1 MPa tương ứng với 40mm;
Tỷ lệ đứng: 1mm độ lún tấm nén tương ứng 2-4mm.

1. Độ lún;
2. Độ lún sập ứng với áp lực cho trước Pcl;
3. Độ lún sau khi thấm ướt.
Phụ lục C
(Tham khảo)
THÍ NGHIỆM ĐẤT LÚN ƯỚT (ĐẤT LÚN SẬP)
C.1. Đất lún ướt hay đất lún sập là loại đất bị lún nhiều và đột ngột khi bị thấm nước đến bão hòa hoàn toàn.
C.2. Khi thí nghiệm đất lún ướt, phải xác định áp lực lún ướt ban đầu và độ lún ướt tương đối.
Áp lực lún ướt ban đầu: áp lực nhỏ nhất còn biểu hiện sự lún ướt của đất.
Độ lún ướt tương đối của đất: tỷ số giữa độ lún ướt của đất ở đáy tấm nén với chiều dày vùng biến dạng theo chiều thẳng đứng.
Áp lực lún ướt ban đầu được tính toán với độ chính xác đến 0,01MPa; do lún ướt tương đối – đến 0,001.
C.3. Việc thấm ướt đất lún sập khi thí nghiệm trong các hố móng và giếng phải được tiến hành cho tới khi mức độ bão hòa Sr > 0,8, đến độ sâu không nhỏ hơn hai lần đường kính hình tròn hoặc cạnh hình vuông của tấm nén, kể từ đáy của nó.
Độ sâu thấm ướt phải được kiểm tra bằng cách xác định độ ẩm của mẫu đất lấy từ lỗ khoan riêng, cách mép tấm nén không lớn hơn 0,5m. Các mẫu đất được lấy cách nhau 0,25m cho đến độ sâu không nhỏ hơn hai lần đường kính (cạnh) tấm nén, kể từ đáy của nó.
Chú thích: Được phép dùng các phương pháp đồng vị phóng xạ để kiểm tra độ ẩm của đất.
C.4. Khi thí nghiệm bằng tấm nén diện tích 5000cm2 trên đất lún sập có thấm ướt, bề dày đệm cát (theo điều 4.2.2) phải bằng từ 2 đến 3cm, để đảm bảo nước thấm vào đất. Lót đệm trên toàn bộ diện tích đặt tấm nén và xung quanh tấm nén, rộng ra ít nhất 10cm. Đất ở nơi thí nghiệm phải được bảo vệ, để nước mặt và nước mưa không thâm nhập vào.
C.5. Đất lún sập được thí nghiệm theo sơ đồ “một đường cong” hoặc sơ đồ “hai đường cong”.
C.5.1. Thí nghiệm theo sơ đồ “một đường cong” được tiến hành khi chỉ cần xác định môđun biến dạng của đất ở độ ẩm tự nhiên và độ lún ướt tương đối ở một áp lực cho trước (xem phụ lục C). Trong trường hợp này, tăng tải trọng lên tấm nén thành từng cấp cho đến áp lực cho trước P, nằm trong khoảng từ 0,2 đến 0,4MPa. Đây là áp lực thực tế sẽ tác dụng lên đất nền, bằng tổng áp lực do tải trọng móng và tự trọng của đất trong trạng thái bão hòa nước ở cao trình thí nghiệm. Sau khi đạt độ ổn định quy ước về lún ở cấp cuối cùng, tương ứng với áp lực do công trình, tiến hành thấm ướt đất kể dưới tấm nén; đồng thời do độ lún sập của đất cho đến ổn định quy ước, với lượng tiêu hao nước không nhỏ hơn trị tính toán theo phụ lục.
C.5.1.1. Độ lún ướt (lún sập) của đất được coi là đạt ổn định quy ước, khi tấm nén bị lún không lớn hơn 0,1mm sau 2 giờ.
C.5.2. Thí nghiệm theo sơ đồ “hai đường cong” được tiến hành khi cần xác định toàn bộ các đặc trưng: môđun biến dạng của đất ở độ ẩm tự nhiên và ở trạng thái bão hòa, áp lực lún ướt ban đầu Ptw và độ lún ướt tương đối với các cấp áp lực khác nhau (xem phụ lục B, biểu đồ b và phụ lục E).
C.5.2.1. Các thí nghiệm theo sơ đồ “hai đường cong” phải được tiến hành tại cùng một độ sâu trong hai hố đào cách nhau từ 5 đến 6m. Hố thứ nhất dùng cho thí nghiệm theo sơ đồ “một đường cong”; hố thứ hai dùng để thấm ướt đất sau khi lắp thiết bị và trước khi đặt tải trọng. Lượng nước tiêu hao cho thấm ướt phải không ít hơn lưu lượng tính toán nêu ở phụ lục D. Tiếp theo, tiến hành chất tải lên tấm nén thành từng cấp tới áp lực cho trước trong khi vẫn duy trì sự thấm ướt.
C.5.2.2. Lấy số đọc theo các biến dạng kế qua 15 phút trong giờ đầu, cách 30 phút trong giờ thứ hai và về sau cách 1 giờ cho đến khi đạt độ ổn định quy ước.
C.5.2.3. Cấp áp lực nén và thời gian ổn định quy ước về độ lún ướt được lấy theo bảng C.1.
Bảng C.1
|
Tên đất |
Cấp áp lực DP, MPa |
Thời gian ổn định quy ước, giờ |
|
Đất lún ướt ở độ ẩm tự nhiên |
0,05 |
1 |
|
Đất lún ướt sau khi thấm nước |
0,025 |
2 |
C.6. Đất lún sập ở đáy tấm nén được thấm ướt bằng các tia nước nhỏ, phân tán để tránh bị xói. Luôn luôn giữ mực nước cao hơn mặt đệm cát từ 5 đến 10cm và đo lượng nước tiêu hao cho thấm ướt.
C.7. Ngay khi kết thúc thí nghiệm, phải đào hoặc khoan thêm ở đáy hố đã nén thử tới độ sâu không nhỏ hơn hai lần đường kính tấm nén, để kiểm tra mức độ đồng nhất của đất thí nghiệm.
C.8. Việc xử lý kết quả thí nghiệm đất lún ướt và tính toán các đặc trưng biến dạng được tiến hành theo phụ lục E.
Phụ lục D
(Tham khảo)
XÁC ĐỊNH LƯỢNG NƯỚC TIÊU HAO ĐỂ THẤM ƯỚT ĐẤT LÚN SẬP Ở ĐÁY TẤM NÉN
Lượng nước tiêu hao Q, m3, được tính toán theo công thức:
![]()
Trong đó:
rd – mật độ của đất ở trạng thái khô, t/m3;
rw - mật độ của nước, được lấy bằng 1 t/m3;
wbh – độ ẩm của đất trong trạng thái bão hòa nước (mức độ bão hòa Sr > 0,8), phần mười;
w - độ ẩm thiên nhiên của đất, phần mười;
v – thể tích thấm ướt đất, bằng tích số diện tích hố đào (hoặc khoảnh hố móng được thấm ướt) về độ sâu thấm ướt (điều C.3) về hệ số 1,2 – xét tới sự cháy loang của nước, m3.
Phụ lục E
(Tham khảo)
XỬ LÝ CÁC KẾT QUẢ THÍ NGHIỆM ĐẤT LÚN ƯỚT (LÚN SẬP)
E.1. Môđun biến dạng của đất lún ướt được tính toán theo công thức nêu ở điều 4.4.1 của tiêu chuẩn này.
Khi thí nghiệm theo sơ đồ “hai đường cong”, môđun biến dạng của đất bão hòa nước (sau khi thấm ướt) phải được xác định riêng cho hai đoạn của đồ thị (xem phụ lục B); trong khoảng biến đổi áp lực từ po đến pl.u (xem biểu đồ B.2) của phụ lục B.
Để tính toán môđun biến dạng của đất lún ướt thí nghiệm ở trạng thái bão hòa nước (sau khi thấm ướt), lấy áp lực và độ lún ứng với cấp áp lực đầu tiên làm các trị số ban đầu Po và So.
E.2. Áp lực lún ướt ban đầu PI.u được xác định theo kết quả thí nghiệm đất bằng sơ đồ “hai đường cong”.
Áp lực Pl.u được lấy là áp lực tương ứng với điểm đổi độ dốc của biểu đồ S = f(P) đối với đất thí nghiệm ở trạng thái bão hòa nước (xem phụ lục B). Khi điểm đổi độ dốc được thể hiện không rõ trên đồ thị, để chọn giá trị PI.u nên lấy áp lực ứng với độ lún ướt SI.u của đất ở dưới đáy tấm nén bằng năm phần ngàn chiều dày vùng biến dạng của đất hbd+
SI.u = 0,005 hbd
Trong đó hbd được biểu thị bằng cm, xác định theo điểm 4 của phụ lục E này.
E.3. Xác định độ lún ướt tương đối eI.u theo công thức:
![]()
Độ lún ướt của đất ở dưới đáy tấm nén SI.u dùng để tính eI,u khi thí nghiệm theo sơ đồ “một đường cong” phải là gia số độ lún của tấm nén do việc thấm ướt đất ở cấp áp lực cho trước Pcl gây ra; còn khi thí nghiệm theo sơ đồ “hai đường cong” thì lại là hiệu số của độ lún tấm nén khi đất ở trạng thái bão hòa nước và ở độ ẩm tự nhiên cho mỗi cấp áp lực.
Độ lún ướt tương đối cần tính toán thì tương ứng với áp lực trung bình ở vùng biến dạng. Áp lực trung bình này được tính toán theo công thức:
, khi p > pI.u
Trong đó: p – áp lực tại đáy tấm nén, MPa.
E.4. Chiều dày vùng biến dạng theo chiều thẳng đứng h khi thí nghiệm đất lún ướt có thấm ướt nên lấy bằng: 0,4; 0,7; 1,2; 1,7 và 2,0 lần đường kính (cạnh) tấm nén tương ứng với các cấp áp lực: 0,05; 0,1; 0,2; 0,3 và 0,4 MPa.
MỤC LỤC
1. Mục đích thí nghiệm, phạm vi áp dụng
2. Thuật ngữ và định nghĩa
3. Quy định chung
4. Phương pháp tiến hành thí nghiệm
4.1. Dụng cụ và thiết bị thí nghiệm
4.2. Chuẩn bị thí nghiệm
4.3. Tiến hành thí nghiệm
4.4. Xử lý kết quả thí nghiệm
Phụ lục A. Sổ ghi xác định môđun biến dạng tại hiện trường bằng tấm nén phẳng
Phụ lục B. Biểu diễn kết quả thí nghiệm đất bằng tấm nén
Phụ lục C. Thí nghiệm đất lún ướt (đất lún sập)
Phụ lục D. Xác định lượng nước tiêu hao để thấm ướt đất lún sập ở đáy tấm nén
Phụ lục E. Xử lý các kết quả thí nghiệm đất lún ướt (lún sập)